
点击上方蓝字关注我们




判断一个企业能否做税票贷,除了征信还需要了解哪些方面?

⑴、基本信息:企业经营年限,行业限制问题、主营业务是够敏感
⑵股东情况:法人、股东占股、变更时间情况
⑶行政处罚记录:核查企业是否存在未结诉讼、环保处罚、市场监管处罚等,尤其关注偷税漏税、虚开发票的历史处罚。
⑷法律纠纷(法人/公司):有无在途涉诉,涉诉数量、涉诉案件类型,是否能提供结案证明

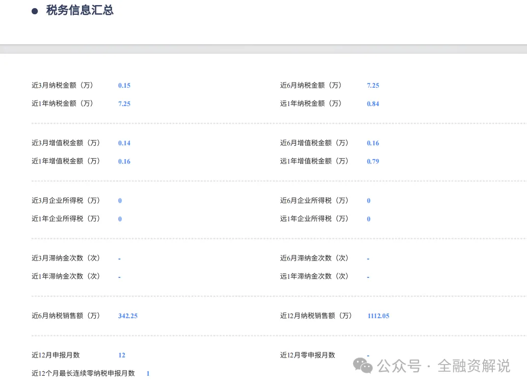
⑴税务合规性与纳税质量:税务等级,纳税时长、金额、连续性、0申报月份占比、欠税记录及较上一年度同比环比增长情况
⑵发票数据的真实性与业务健康度:发票规模,开票时长、连续性、断票月份,红字对冲规模以及较上一年度同比环比增长情况
通过电子税务局申报表栏目
通过经营票据确定合作企业明细及业务占比,通过企查查股权透视及关联,核查有无关联风险


总结



以上信息整合完成,需要消耗大量的时间(一般2个工作日)
在竞争日趋激烈的当下,我们需要高效的工具帮助

企业税票报告,
帮助我们提高效率,5分钟内即可出结果
亮点:专业,高效,全面、精准
企
税票报告全面解析
















总之

企业税票报告+法人及企业征信
即可大致判断企业能否做税票贷!


建议按照申贷流程做好前筛
申贷流程
1、贷前查询
查人法涉诉失信网、大数据报告、个人征信、电话风险名单
2、确定客户需求
根据实际情况与客户确定额度、期限、还款方式、用途等
3、与银行/资方沟通
根据每个客户资质匹配合适的贷款产品与银行沟通负债、还款、贷款笔数及最新的风险偏好等匹配核实的产品
4、进件及签约 注意事项
进件前或进件中如有电话审核基本事项,不良习惯等以便提高审核通过率叮嘱注意事项,防止负面信息拒贷

贷前查询很多朋友不知道怎么查询自己的大数据?
这里推荐一个功能全费用低的查询软件,
有需要的识别下面二维码即可查询自己的大数据情况。
注意:如果查询的大数据分数低于60分 不建议马上申请

最佳搭档


免责声明:产品信息来源于产品方官网/网点/客户经理或者第三方公开信息平台,最终以产品方发布为准。本平台只做信息整合分享,如涉及侵权等问题,请与我们公众号联系删除,谢谢


