朋友们,大家周末愉快!
强烈声明:
本文仅为我个人的学习财报实践记录!而且只是从财务角度的简单分析!!
我【不进行】任何形式的股票或基金的买卖推荐或指导!
文中提及的任何个股或基金,都有腰斩的风险。
文中任何操作或看法,均可能充满我个人的偏见和错误。
请坚持独立思考,任何人都万万不可依赖我的判断或行为作出买卖决策。
而且浮光掠影了解的公司、行业,99%都是我不懂的!绝对不是谦虚!!
以上,切记切记!

阅读财报的理念

阅读财报的原则
横向对比:对比3-5家最接近的同行 - 纵向对比:对比自家最近3-5年的历史数据

公司简介
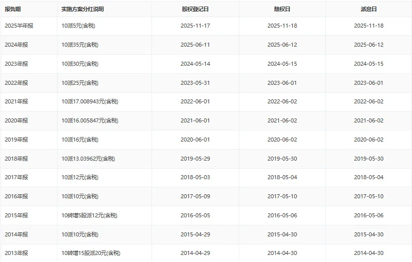
公司成立于2000年4月7日,总部位于广东省佛山市,2013年9月18日于深交所主板上市,发行价44.56元/股,上市融资净额305+亿,自 2013 年整体上市至 2025 年中期,累计每股分红约 22.105 元(含税),历年分红如下图1。公司所属行业为电气机械和器材制造业,主要业务就是以家电产业为主,涉足电机、物流等领域,旗下分为四大业务板块,分别为大家电、小家电、电机及物流。根据2024年财报显示,智能家居业务为第一大收入来源,占比66.20%。如官网所示,公司的部分产品展示如下图2。



会计师事务所意见

财报浅印象
1. 扣非加权ROE:(扣非归母净利润/平均归母净资产)最重要的一个财务指标,杜邦分析法的核心内容,也是巴菲特老爷子非常看重的一个指标。巴菲特曾经说过,如果只能通过一个指标选股,他会选择净资产收益率。按照唐朝老师的说法,看到高ROE,要去思考这家公司有什么资产没有记录在账面上;看到低ROE,要去思考这家公司的什么资产已经损毁或减值,却还没有从账面上抹去。

相比于前四年,2024年降幅比较明显,虽说近五年都稳定在15%以上,但是2024年的下降原因还需要我们了解具体原因以及后续是否会改善。
2. 营业收入:累积身家的起点。横向对比的事情就交给各位朋友了,也正好锻炼自己看财报的能力。


营业收入和净利润基本都是一个稳步提升的状态,非常不错。现金收入比例上也是逐步提升到95%以上,说明公司的收入越来越有对应的一份现金保障,侧面也说明了行业地位有提升。
3. 毛利率:毛利率是毛利与销售收入(或营业收入)的百分比,反映了企业产品或服务的盈利能力,体现产品的竞争力。按照唐朝老师的说法,利润表里最重要的一个指标就是营业利润,营业利润是一家企业的核心利润。持续增加的营业利润是企业蒸蒸日上的表现,持续提高的营业利润率(营业利润÷营业总收入)是企业竞争力不断提高的表现。也声明一下,我这里的营业利润率是按照保守的计算方法计算出来的,营业利润是由营业总收入减去营业总成本得出一个不含“公允价值变动收益、投资收益和汇兑收益”的“营业利润”,然后再除以营业收入得到的比例。


单看这个毛利率,平均水平都达不到,但是对于一家生产制造行业以及这个营收规模来说,这个毛利率还不错了,可以想一想沃尔玛,绝对的薄利多销鼻祖。
从第二张图看,费用率缓慢提升,总体控制的还可以,但是费用占毛利润的比例都在60%以上,也侧面说明企业产品竞争激烈,差异化不明显,从毛利率水平也能侧面反映出来。
4. 净利润:含金量如何以及是否有水分(多少是非经常性损益)

主业利润的占比相比前四年2024年降幅也很明显,需要我们寻找具体原因并分析后续改善可能性。
净利润现金含量基本都稳定保持在100%以上,很好,优秀企业的标志之一。
5. 总资产周转率:营业收入÷总资产(ToC的公司可以重点考查存货周转率,ToB的公司可以重点考查应收账款周转率)。横向对比的事情就交给各位朋友了,也正好锻炼自己看财报的能力。

两项指标走势基本一致,也就是说应收账款周转率是影响总资产周转率的最重要因素。
6. “现金及其等价物÷带息债务”:万一债主一起上门收回借款,公司能不能还得上,看企业的安全性,虽说一般都不会出现此种情况,就像银行一般都不会出现挤兑一样。但巴芒二老的理念之一就是,如果一件事情最坏的结果我接受不了,那么我就不会去做这件事,因为再多的涨幅,都经受不住一次归零。

除了2022年不足100%其他年份能保持在100%以上,安全性基本无需担心。
7.上下游话语权:

产业链的话语权还是很不错的,在净资产2024年新高不足2000亿的情况下,在2024年已经能无息占用产业链1000+亿的资产。
8. 做决定:这里记录下目前市场先生的报价,留待后期验证:截至昨日收盘价74.78元/股,动态市盈率11.26,总市值5686亿。
按照上文提到的简单估值法,按照网上查到的机构预测的三年后平均归母净利润531亿,那么三年后的合理估值就是:531*80%*25=10,620亿,拦腰一刀就是现在能买入的位置,所以5310亿以下可以关注!现在这个位置可以关注。
但是,这完全不代表我建议你在这个位置买入,毕竟能为你的钱负责任的人只有你,切记!切记!!
定性分析拙见请移步第二篇推文~主要就是两个企业分析模型:杜邦分析法和波特五力模型。
也强烈建议大家拿到一家企业多多尝试用这两个模型去套套、去分析,解决无从下手的尴尬。


