推广 热搜: 采购方式  甲带  滤芯  气动隔膜泵  减速机型号  减速机  履带  带式称重给煤机  链式给煤机  无级变速机 

【重磅发布】新国标《工业企业温室气体排放核算和报告通则》(GB/T 32150-2025)发布

   日期:2026-01-27 11:58:57     来源:网络整理    作者:本站编辑    评论:0    
【重磅发布】新国标《工业企业温室气体排放核算和报告通则》(GB/T 32150-2025)发布
近日,国家标准《工业企业温室气体排放核算和报告通则》(GBT 32150-2025)正式发布,于2026年7月1日正式实施,代替(GBT 32150-2015)。
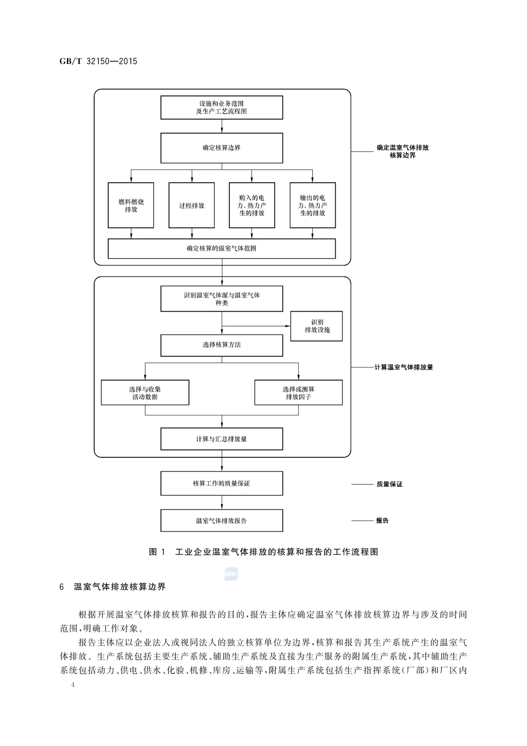
《工业企业温室气体排放核算和报告通则》(GB/T 32150-2015)规定了工业企业温室气体排放核算与报告的术语和定义、基本原则、工作流程、核算边界确定、核算步骤与方法、质量保证、报告要求等内容。该标准适用于指导行业温室气体排放核算方法与报告要求标准的编制,也可为工业企业开展温室气体排放核算与报告活动提供方法参考。
01
原文下载
来源:全国标准信息公共服务平台
免责声明:本号对转载、分享、陈述、观点、图片保持中立,目的仅在于传递更多信息,版权归原作者。如无意中侵犯了您的版权,请第一时间联系,核实后,我们将立即更正或删除有关内容,谢谢!

关于我们

如需更多信息资料

关注「碳学」公众号 后台私信联系我们!

「碳学」致力于双碳领域的信息传播与服务,竭诚为您呈现最新新闻、政策解读及碳市场行情。通过我们,您将掌握碳中和、碳达峰的最新动态,为您的企业和个人在可持续发展之路上奠定坚实基础。

 
打赏
 
更多>同类资讯
0相关评论

推荐图文
推荐资讯
点击排行
网站首页  |  关于我们  |  联系方式  |  使用协议  |  版权隐私  |  网站地图  |  排名推广  |  广告服务  |  积分换礼  |  网站留言  |  RSS订阅  |  违规举报  |  皖ICP备20008326号-18
Powered By DESTOON