手机版
二维码
购物车
(
0
)
供应
求购
公司
团购
展会
资讯
招商
品牌
人才
知道
专题
图库
视频
下载
商圈
推广
热搜:
采购方式
甲带
滤芯
气动隔膜泵
减速机型号
减速机
履带
带式称重给煤机
链式给煤机
无级变速机
首页
供应
求购
公司
团购
展会
资讯
招商
品牌
人才
知道
专题
图库
视频
下载
商圈
首页
>
资讯
>
展会资讯
【新国标】附全文下载链接 | 《工业企业温室气体排放核算和通则》GBT 32150-2025 代替 GBT 32150-2015.
日期:2026-01-27 11:57:51 来源:网络整理 作者:本站编辑
评论:0
【新国标】附全文下载链接 | 《工业企业温室气体排放核算和通则》GBT 32150-2025 代替 GBT 32150-2015.
国家标准《工业企业温室气体排放核算和报告通则》 由TC548
(全国碳排放管理标准化技术委员会)归口 ,主管部门为
生态环境部
。
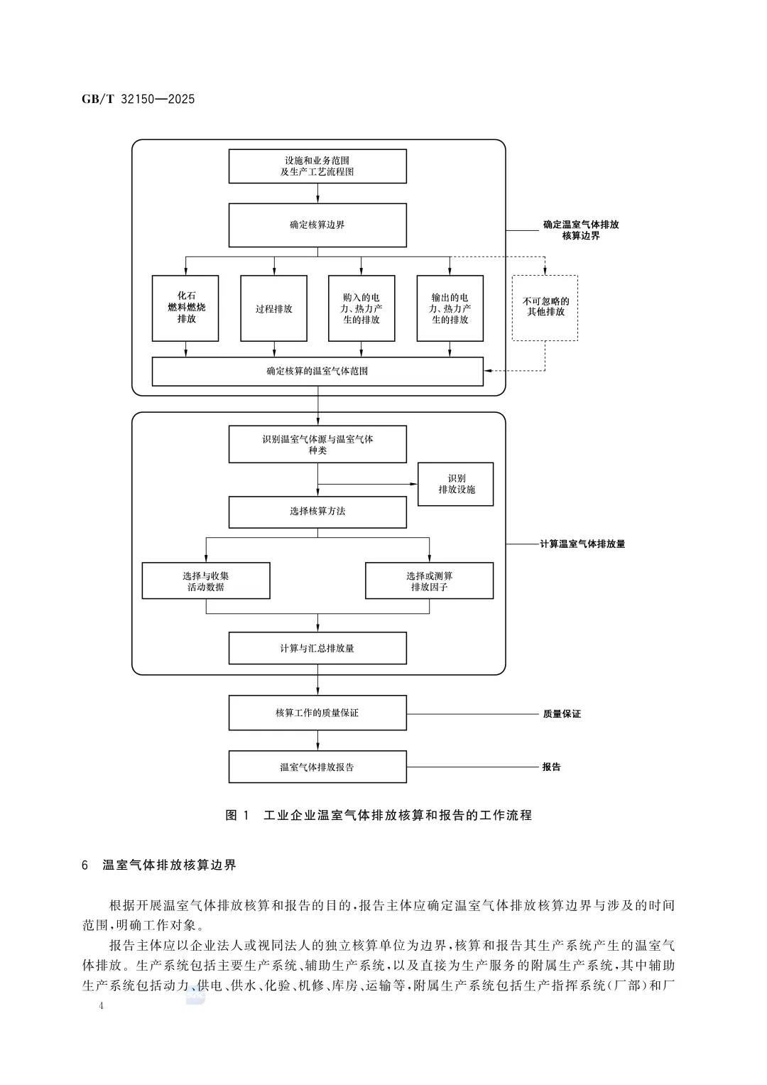
国家标准《工业企业温室气体排放核算和报告通则》GBT 32150-2025 代替 GBT 32150-2015
,2026年7月1日实施。
标准全文如下,后附下载链接
↓ ↓ ↓
点击链接下载标准全文
阅读版不含空白页-《工业企业温室气体排放核算和报告通则》GBT 32150-2025.pdf
打印版内含空白页-《工业企业温室气体排放核算和报告通则》GBT 32150-2025.pdf
打赏
更多
>
同类资讯
• 2024年版金属船舶制造行业现状及
0
条
相关评论
推荐图文
推荐资讯
点击排行
0
1
萨莉亚 (7581.T)深度权益研究报告:通胀时代的极致效率样本与亚洲扩张新篇章
0
2
市场分析|2025年1-11月中国服装行业经济运行简报
0
3
公司召开2025年度工作总结暨下一年度工作计划研讨务虚会
0
4
市场研究 | 三花智控:深度报告之 三重成长曲线驱动,全球热管理龙头迈向机电一体化新征程
0
5
文旅部文化市场综合执法监督局领导到德宏调研
0
6
行业报告丨数据安全治理实践指南5.0
0
7
市市场监管局到山亭区调研农贸市场建设,助力文明城市创建提质增效
0
8
湖南省中高考命题报告深度解读:从知识立意向素养导向的历史性转变
0
9
文化市场“扫黄打非”工作调研
网站首页
|
关于我们
|
联系方式
|
使用协议
|
版权隐私
|
网站地图
|
排名推广
|
广告服务
|
积分换礼
|
网站留言
|
RSS订阅
|
违规举报
|
皖ICP备20008326号-18
(c)2008-2022 免费发布网 All Rights Reserved