汽车拥有方式在变。AI竞赛如火如荼。健身与健身房的关系越来越淡化。宠物饲养变得技术化。我们审视了2018年将会重塑科技行业的趋势。
如今,不单单是科技巨头,各种各样的公司都在积极进行并购,还把投资初创公司作为“研发外包”的一种形式,希望以此获得技术优势。这是各个行业为了开发技术产品和服务而作出的努力之一。
与此同时,亚马逊的身影似乎出现在每一个行业,从云计算,到百货零售(它收购了全食超市),这使所有CEO都提心吊胆。
随着政府加强对跨境活动和社会影响的监管,技术也日益受到政府的重视。虽然科技巨头面临着种种阻力,但美国的新税法或许将让科技公司获得又一个延伸触角的机会。
研究机构CBInsights的分析师回顾了一年来的研究,找出了他们认为将在2018年重塑科技行业的趋势。
从新型租车,到大型科技公司的地产野心,再到跨境并购,以下是值得关注的科技业15个趋势。
1)订用式的汽车租赁

只要支付月费,就可以把车开走,想开多久都行。月费常常包含保险和养护费用。有了这种方式,你不必购买汽车(这种商品从你购买的那一刻起就开始贬值),也不用签订复杂的租赁合约。
汽车公司和初创企业正在鼓励人们将这种模式作为新的汽车拥有方式。这样可以应对Uber和Lyft的威胁。
成立于2017年9月的初创公司Fair资金雄厚,已经融资10亿多美元,投资者包括宝马公司旗下风投部门Penske Automotive Group以及Sherpa Capital。该公司拥有明星般的领导团队:创始人斯科特·佩特尔(Scott Paintor)曾创建了已上市的购车平台TrueCar,佐治·鲍尔(Georg Bauer)曾担任特斯拉、宝马和奔驰的财务主管。
当你想换一辆车开的时候,Fair能让你有一番新的体验。他们使换车变得相对容易,不会造成什么麻烦。
大型汽车制造商也开始尝试这种新颖的模式。在2017年11月举行的洛杉矶车展上,沃尔沃和林肯宣布推出租车服务。保时捷也推出了自己的租赁服务,服务内容涵盖了慷慨的保险条款、道路救援、全车清洗,以及负责清洁和交付汽车的私人礼宾员。
但覆盖面是个问题。例如,保时捷只在亚特兰大提供上述服务,Fair只面向加州用户,而沃尔沃的服务只有XC 40这一种车型。
很多消费者并不在乎是否真正拥有一辆车,他们只想使用汽车,把麻烦的事留给其他人处理。于是,新型租赁服务应运而生。沃尔沃将在2018年交付第一批此类汽车,Fair已经与100家汽车经销商建立了正式合作关系。这种商业模式能否取得成功,2018年将是关键的一年。
2)全球AI芯片主导权争夺战愈演愈烈

人工智能(AI)应用出现爆炸式增长,包括出于安保目的识别视频中的人脸,以及通过医学影像发现疾病。但这些应用将在什么芯片上运行?
中国和美国对这个市场展开了争夺。得到政府支持的中国初创企业、美国科技巨头和芯片制造商都想成为下一个英伟达(NVIDIA)。目前,英伟达在AI芯片市场上处于主导地位。
2017年7月,中国政府宣布,力争到2020年时,人工智能总体技术和应用与世界先进水平同步,到2030年时,人工智能理论、技术与应用总体达到世界领先水平。中国政府牵头了一个项目,目标是打造一种性能和能效比英伟达图形处理器(GPU)高20倍的芯片。
中国公司寒武纪正在开发专为深度学习打造的芯片,誓言要在未来三年里占领10亿智能终端。
屡屡提到英伟达,是有原因的。1999年,这家公司发布GPU时,他们的主要目标是游戏产业。然而,随着AI应用的崛起,GPU也表现出了运行处理器密集型AI算法的潜力。
目前,英伟达的芯片主导着科技行业,无论是AI初创企业,还是百度、谷歌等大公司,都依赖于英伟达GPU。英特尔的芯片虽然在其他领域占据主导,但在人工智能方面并不突出,不得不扮演追赶者的角色。
英特尔已斥资167亿美元,收购了可编程芯片制造商Altera。后者的芯片可以加快AI任务的处理速度。
英特尔还把Saffron、Nervana、Movidius和Mobileye等AI初创公司收入囊中。2017年10月,英特尔发布了旨在与AI应用密切配合的“神经网络处理器”系列芯片,技术便来自于该公司收购的Nervana。此外,英特尔还与Facebook合作开发AI芯片。
科技行业的巨头们也加入了GPU竞赛。谷歌发布了整合其TensorFlow开源软件库的张量处理器(TPU),目前已推出第二代。作为一项战略举措,谷歌允许人们在英特尔Skylake和英伟达Volta等其他芯片或GPU上开发模型,然后转移到谷歌的TPU上。
苹果近日发布了首款针对机器学习进行优化的A11 Bionic芯片,它采用苹果设计的GPU内核,能加强新款iPhone的增强现实和面部识别能力。
这个领域也涌现了很多新星,包括Knuedge、Graphcore和Mythic。其中一些公司的员工曾效力于竞争对手的项目,比如谷歌的TPU和百度的深度学习研究院。考虑到AI产业正在进行整合,如果这些公司最终成为科技巨头的并购对象,倒也不会令人感到意外。
3)大规模同步在线社群(MSOC)的兴起

视频直播已经大行其道,但欠缺互动性,除非你把Facebook的Reaction表情图标也算在内。
不过,小知识问答游戏HQTrivia的走红很好地说明了2018年的一个趋势。这款问答游戏每天在iOS平台上直播两次,分别在早上和下午。参与者必须同时登录,快速回答问题,冠军可获得现金奖励。
HQ Trivia目前只面向苹果用户,安卓版将在2018年上线。尽管如此,在2017年12月的前几周,每一期HQ Trivia游戏都有20多万人参与。这个数字也许不算太多——截至2017年1月,Facebook仅在美国就拥有2.14亿用户——但HQTrivia真正厉害的地方在于,它是同步性的。在上班途中,在早餐和午休期间,许许多多的陌生人同时登录这些APP,以实时的方式,共同体验。
一段时间以来,我们一直在朝这个时刻努力,作出了很多类似的尝试。Omegle和Chatroulette等免费视频网站允许人们和陌生人进行一对一的实时视频聊天,几年前曾颇受欢迎。
虽然这些网站很快失宠,但后来又有其他公司尝试了这个想法。推出视频群聊应用HouseParty的Life on Air公司通过Meerkat,把个人视频直播引向大众。虽然该公司很快关停了Meerkat,但Twitter Periscope和Facebook Live接踵而至。现在,Facebook又推出了模仿House Party的Bonfire,可以让用户与多名好友同时进行视频聊天。
HQ Trivia的成功再次印证了这个新想法的可行性。它不但可以让你用化名与陌生人合作,参与者还能获得现金奖励,这也许是其最大的吸引力。
不过,HQ Trivia已经有了竞争对手。
视频应用Stream的开发者推出了Q,它于2017年12月上线。Q类似于HQ Trivia,也是让用户以竞争的方式回答问题,并赢取现金奖励。在印度,一款叫做Showtime的应用也复制了相同的概念。
HQ Trivia证明,市场上存在着与众多陌生人共享同步在线体验的需求。预计2018年将出现更多的同类产品。
4)新税法将让科技巨头更加强大

根据新税法,美国公司回流国内的海外利润可以享受15.5%的优惠税率。
对苹果、甲骨文、微软、谷歌母公司Alphabet等现金充裕的科技公司来说,新税法将使它们可以从海外拿回大量资金。
企业会用这笔钱来做什么?它们的选择包括股票回购、并购、重新投资于资本支出、投资初创公司,等等。对于在2017年已经风生水起的科技行业来说,这或许将成为一针兴奋剂。
其中,苹果的海外资金尤其之多。该公司未被美国政府征税的海外利润高达2520亿美元。
原文翻译:
汽车拥有方式在变。AI竞赛如火如荼。健身与健身房的关系越来越淡化。宠物饲养变得技术化。我们审视了2018年将会重塑科技行业的趋势。
如今,不单单是科技巨头,各种各样的公司都在积极进行并购,还把投资初创公司作为“研发外包”的一种形式,希望以此获得技术优势。这是各个行业为了开发技术产品和服务而作出的努力之一。
与此同时,亚马逊的身影似乎出现在每一个行业,从云计算,到百货零售(它收购了全食超市),这使所有CEO都提心吊胆。
随着政府加强对跨境活动和社会影响的监管,技术也日益受到政府的重视。虽然科技巨头面临着种种阻力,但美国的新税法或许将让科技公司获得又一个延伸触角的机会。
研究机构CBInsights的分析师回顾了一年来的研究,找出了他们认为将在2018年重塑科技行业的趋势。
从新型租车,到大型科技公司的地产野心,再到跨境并购,以下是值得关注的科技业15个趋势。
5)跨境并购与合作受到严格审查

在并购领域,并非一切美好。虽然科技行业常常表现得它好像没有国界一样,但其日益突出的地位正在改变这一点。仅在过去一年,美国政府就叫停了两笔跨国交易,它们都牵涉到半导体公司和中国。
最近一笔此类交易是被美国总统特朗普叫停的,他阻止了中国投资者对莱迪思半导体公司(Lattice Semiconductor Corporation)的收购。白宫在一份声明中列举了一些原因,包括:投资者有中国政府背景,交易涉及知识产权和技术的转让,以及这些技术曾被美国军方使用。
在2017年7月,我们看到地缘政治的紧张局势是如何影响全球跨境交易的,不管是不是在科技行业,都是如此。
印度政府叫停了上海复星医药集团以13亿美元收购该国格兰德制药公司(Gland Pharma)控股权的交易。
2017年9月,复星医药再度提出一个稍低的报价(11亿美元),并将拟收购的股权比例从86%下调至74%。这个特定的比例具有战略意图:在印度制药行业,所收购股权比例超过74%的交易是需要接受审查的。目前,这笔交易正在推进当中。
这股地缘政治寒潮可能蔓延至其他领域,其中就包括医疗保健数据。
由于中国和美国都在寻求提升个性化医疗的水平,它们将需要大量多样化的隐性与显性数据集。虽然这催生了对更多跨境交易的需求,但美国政府已经表达了这样一种担忧,认为基因组数据应该得到更严格的控制。举例来说,如果这些数据落入坏人手中,可以想见,它们也许会被用来制造更加危险的生物武器。
另一个受影响的领域是网络安全。2017年9月,美国国土安全部颁布了针对俄罗斯网络安全公司卡巴斯基实验室(Kaspersky Lab)的禁令。该禁令要求美国政府机构卸载卡巴斯基的所有软件,包括其广受欢迎的杀毒软件。这项举措的背景是,美国人越来越担心俄罗斯有能力将Facebook作为武器,用来影响美国大选。虽然卡巴斯基事件尚不明朗,但它表明,当科技遇上地缘政治,事情将变得何等变幻莫测。
6) 你的网络安全,由自己说了算
从Equifax到Uber再到雅虎,2017年的重大黑客攻击事件已经表明,企业无法保护自己用户的数据。一旦用户数据遭到泄漏,几乎不可能进行追踪,从而为各种形式的网络攻击留下了隐患。
需要得到保护的不仅仅是那些高净值人士。每天,当我们登录Facebook账户或是使用谷歌凭证登录第三方网站时,我们都暴露在巨大的风险之下,个人身份信息岌岌可危。
我们开始看到一种有趣的思维模式出现:网络安全,由你自己说了算。
一个特别容易受到攻击的对象就是个人移动设备。有这样一类公司正在出现,它们专门保护这些设备免受危险应用程序和不良举动的袭扰。
例如,已融资2,330万美元的Appthority运营着一个基于云计算的平台,可以依据危险行为的等级,对移动应用程序进行评级,那些行为可能导致恶意软件入侵以及知识产权遭到泄漏。用户可以把Appthority安装到手机上,在安装或打开应用程序之前,对其进行扫描。

另一个容易遭到攻击的地方与下载无关:用户使用的浏览器。
有公司正在开发一种特殊的浏览器,让用户能够从一开始就阻止个人信息泄漏。
Brave是一款开源的网页浏览器,其开发者是Mozilla项目联合创始人、JavaScript发明者布兰登·艾克(Brendan Eich)。该浏览器可以阻止网站追踪器、屏蔽侵入式广告。Brave称,个人用户向广告商分享的数据越少,他们在网上享有的隐私就越多。
这种重视个人的趋势也延伸到了企业。它们最薄弱的环节现在被普遍称为“单一员工”。企业正通过培训项目对此做出回应。每年10月,Facebook都会举行名为“Hacktober”的活动,期间,员工将经历网络钓鱼、垃圾邮件等一系列攻击,胜出者将获得奖品。
Zimperium则更进了一步。它可以对企业员工在手机上的行为进行分析,以此帮助企业抵御来自Wi-Fi、蜂窝网络以及主机的威胁。Zimperium已经融资6,030万美元,投资者包括三星创投(Samsung Ventures)和软银集团(SoftBank Group)。
此外,网络保险公司也在加倍押注,把重点放在个人身上。
2017年4月,保险公司AIG开始向那些易受到网络攻击或是曾受到网络敲诈的个人,提供名为“Family CyberEdge”的服务,保障内容包括数据恢复和声誉管理。
对网络安全领域来说,新的口号很简单:改变从你开始。
7) 按秒计费的云计算

几个月前,亚马逊为其AWS部门的数项重要服务引入了按秒计费模式。这意味着,AWS用户能够以更低的价格使用特定的工具。
此举在云计算行业掀起了波澜。谷歌迅速仿效,为更多的云计算服务引入了相同的模式。最近,更多专业化的公司——比如提供云端数据仓储服务的初创公司Snowflake Computing——也推出了同样的举措。
这为更广泛的趋势开创了先例:云计算公司开始尝试把自己的产品提供给那些无力支付高昂费用的用户,比如小型企业和个体经营者。
为什么这很重要?
理解云计算的一种方式是,把它当成一种计算能力,或是一种数据存储方式,或是一种可基于用户需求进行伸展和收缩的处理流程(例如,来应对用户数量的激增)。我们最强大的计算工具,其访问权正在实现大众化和微量化,按秒计费正是这一点的最新体现。
想象一下,你能以按秒付费的方式,去访问那些强大的深度学习模型,或是大规模数据集,或是量子计算能力(量子计算机是基于量子物理学开发的超级计算机,其性能远超传统的超级计算机),那会是一幅怎样情景。
对小企业来说,利用这些工具哪怕只有几分钟时间,也能开启充满无限可能的全新天地。
在2018年的云计算领域,我们将会看到先进工具的访问权变得更加广泛、更为灵活。
8)健身的未来不是健身房
健身正变得越来越技术化和大众化。得益于一些重要的趋势,健身不再局限于健身房。
首先是联网设备。一个突出的例子是得到大量融资的Peloton。到目前为止,这家公司已累计融资4.527亿美元,投资者众多,包括KPCB、康卡斯特(Comcast)和富达投资(Fidelity Investments)。该公司打造了带健身追踪器的联网单车,这些单车配备的平板电脑能在线收看健身课程视频。
因此,Peloton也涉足第二个趋势:直播。几家初创公司正在以这个趋势为基础打造业务。一是马里兰州的BurnAlong,该公司可以让用户向朋友或健身教练直播他们的健身过程。另一家是纽约的Forte,该公司可以让用户在设备上直接播放精品健身房的直播课程,并使这款APP和用户的智能手表同步。
其他很多健身公司也迅速投身直播趋势。著名的健身房会员公司ClassPass不仅可以让你报名参加多个健身房的课程,还推出了月费15美元的直播服务。
使用该服务的客户能在家里播放ClassPass任何一期的健身课程。
Aaptiv有所不同。该公司认为健身时不太方便看视频,所以他们把课程的音频片段放在其APP上。
第三个趋势是旅行和健身的日益融合。去年,美国健身公司Equinox(经营着室内单车健身房SoulCycle等多个品牌)开办了一家健身品牌酒店,并以“旅行期间保持体型”作为营销噱头。
反过来,酒店将更多的健身元素整合进自己的服务中。威斯汀酒店及度假村(WestinHotels & Resorts)提供New Balance全套健身服和运动鞋的租赁服务,价格为5美元。这两个品牌还在酒店周围合作修建了几公里长的跑道。
2017年4月,威斯汀同Peloton合作,让酒店顾客可以使用特定客房里的Peloton单车,或者进入某些酒店的健身房。
即便是更难以复制的健身元素也被数字化。加州Handstand公司可以让用户按需预约私人教练,以每节课1小时进行收费。
9) 吞下一颗智能药丸,实现更好的诊断和治疗

2017年11月,美国食品药物管理局(FDA)批准了第一种智能药丸。
这种药丸叫做Abilify MyCite,本质上就是现有精神分裂和双相障碍药物Abilify(日本大冢制药株式会社研制)的传感器版,由大冢制药和加州数字药物公司Proteus合作开发。这种药丸利用传感器来追踪患者是否按时按量用药。
患者在服用Abilify MyCite药丸后,它会发出信号,然后信号被皮肤贴片接收并转换成数据。在获得许可的情况下,数据要么传送到患者的手机APP,要么直接发给医生和其他护理人员。
虽然Proteus已经获准销售数字药丸和皮肤贴片,但这是FDA首次批准一款使用其技术的药物。Abilify是美国的畅销药之一,年销售额一度达到70亿美元。
其他智能药丸,也就是那些带有摄像头的药丸,近期已经在其他国家展开测试。
10) 养狗,也能如此高科技

2015年,三星发布梦幻狗屋(SamsungDream Doghouse),其中配备自动喂食器、三星平板电脑、以人造草皮为履带的跑步机,外加一个水疗池。当时,三星电子英国/爱尔兰区总裁表示,这款狗屋最适合“未来那些挑剔的狗狗们”。
等待“未来那些挑剔的狗狗”(及其主人们)的,当然不止这一种科技产品。
由众筹平台KickStarter提供资金的ZenCrate便是另一款“智能”狗屋。它可以在特定时间播放音乐,安抚狗狗情绪,此外,还内置感应型风扇,并覆盖Wi-Fi,用于数据收集与传输。就连狗屋里配备的垫子都是记忆海绵。
香港特斯拉科技公司(Tesla Technology)在此基础上更进一步。它有两款产品:T-Pai和Dog PC。T-Pai是一款双层巴士型狗屋,配备自动冲水马桶、自动喂食器、恒温系统以及游戏。
Dog PC是一台迷你计算机,带一面小屏幕、高清摄像头、扬声器和食盒。它旨在解决狗狗的分离焦虑,通过应用程序,缓解狗狗担心、害怕、焦虑和无聊等负面情绪。它甚至带有学习模式,提供相应的教学节目。狗狗可以用爪子使用PC。
克罗地亚的Canelio将训练狗狗做成了手机游戏。它通过联网的响片训练器,向应用程序发送反馈,从而协助主人教会狗狗特定的行为方式。
在健康方面,各种可穿戴设备可追踪狗狗的心率、呼吸和锻炼模式,供主人判断狗狗的身体状况。FitBark有一款70美元的狗狗监视器,提取从睡眠到日常起居的一切数据。该公司称,这些数据可被用来帮助兽医。
Pipat的宠物监视器售价约62美元,它还能计算狗狗消耗的卡路里,以帮助制定喂食时间表。
有些初创企业还能提供更特别的服务。要是不确定狗狗的家世,Embark可以帮忙。它已经融资650万美元,有点像人类基因组分析公司23andMe。Embark通过收集狗狗口腔上皮的细胞样本并分析,得出狗狗的谱系、血统起源地,以及罹患遗传性疾病的概率。Embark的工具箱定价199美元,可邮寄到家。
2012年至今,“pet tech”(宠物科技)一词的搜索量变化情况。

原文翻译:
汽车拥有方式在变。AI竞赛如火如荼。健身与健身房的关系越来越淡化。宠物饲养变得技术化。我们审视了2018年将会重塑科技行业的趋势。
如今,不单单是科技巨头,各种各样的公司都在积极进行并购,还把投资初创公司作为“研发外包”的一种形式,希望以此获得技术优势。这是各个行业为了开发技术产品和服务而作出的努力之一。
与此同时,亚马逊的身影似乎出现在每一个行业,从云计算,到百货零售(它收购了全食超市),这使所有CEO都提心吊胆。
随着政府加强对跨境活动和社会影响的监管,技术也日益受到政府的重视。虽然科技巨头面临着种种阻力,但美国的新税法或许将让科技公司获得又一个延伸触角的机会。
研究机构CBInsights的分析师回顾了一年来的研究,找出了他们认为将在2018年重塑科技行业的趋势。
从新型租车,到大型科技公司的地产野心,再到跨境并购,以下是值得关注的科技业15个趋势。
11)压力之下,实体零售侵入新领域
购物潮流正在转移,很大一部分已经搬到线上。在下一个迭代版本中,实体零售将去中心化,从传统商店或商场进军新的利基市场。在共享办公空间、Uber、限时展售的无人商店和自动售货机中,新的零售概念即将涌现。
也许,你甚至还能从自己家中或小区内的小型门店购买商品。
听上去有些陌生?沃尔玛称之为“驻家电子商务”。2017年11月,沃尔玛申请了一项专利,专利设想了一种端到端系统,它将支持并运营设在人们家中(最有可能是在公寓楼内)的无人店面。

按照专利中的描述,“无人驾驶交通工具”(可能是无人机)将把商品送到特定的“存货装载端”。
购买行为由传感器追踪。传感器可以检测到商品被取走,并向取走商品的顾客收款。
与之类似,Bodega也试图构建一款无人看管的自动售货亭。这种智能售货亭将装满商品,置于建筑内或共享工作空间内。其摄像头可识别顾客身份。顾客输入pin码后,可选择想要的商品,离开时,会被收取相应款项。

在世界上其他地区,这个概念已十分流行。例如,日本的Acure运营着一种售货机,它内置二维码读码器,用户手机上若装有Acure应用程序,就可以扫码购物。
中国公司缤果盒子(BingoBox)允许顾客用手机扫二维码付款。它并非完全无人运营——每天都要人工装货,还设有客服——但传感器可以感知到商品离店。作为阿里巴巴的竞争对手,京东也涉足了这一领域。2017年12月,该公司宣布与中国海外发展有限公司合作,在中国各地开发自动商店和自动售药机。
12)全息投影日益常见

在《星球大战》中,莉亚公主首次以频频闪烁的全息投影形式出现在卢克面前,自此,全息投影就在我们的未来畅想中扮演着重要角色。但在日常生活中,全息投影的普及却涉及诸多问题。
全息投影该如何观看——是借助设备还是单凭肉眼?投射到什么表面上?实际用途有哪些?
增强现实(AR)正为全息投影创造出切实的用途,并解决了实际运用中的一些问题。
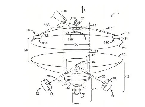
其中一个可能的应用对象就是手机,苹果公司已开始探索这一领域。
2012年,苹果申请了全息投影专利(如下图所示)。在专利中,它详细描述了这样一种系统:可以将图像投射到半空中,无需任何头戴设备就能看见。这种增强现实形式省去了笨重的头戴设备或眼镜。从近期传闻来看,这一专利说不定会被应用到苹果的下一次用户界面升级中。
作为苹果最新的操作系统,iOS 11包含了ARKit框架,让开发者得以围绕iPhone和iPad,创建增强现实应用程序。
通过利用这一框架,美国加州的8i公司开发了一种技术,可将视频中的人像转化为全息投影。2017年10月,该公司的“Holowith ARKit”在iOS应用商店发布。
这款应用并不能投影全息影像,而是当你用iPad或iPhone拍摄某个场景时,它能让一个全息投影的人像出现在画面中。
探索AR和全息投影的还有混合现实设备制造商。Magic Leap是该领域的巨头,它已从华纳兄弟娱乐公司、摩根士丹利和阿里巴巴等投资方那里,融资近20亿美元,并计划在2018年发布产品。
另一家公司是融资800万美元的初创企业Lightform,该公司正在打造一台计算机,可将全息影像投射至任意表面。LookingGlass公司已经打造出一款可以投影并观看全息影像的设备。
与此同时,随着科技的不断创新,显示全息影像并与之互动的方式层出不穷,各种应用程序的类型也在不断拓展。Zebra Imaging创建了一款全息影像可视化工具,帮助训练军队与情报人员。该公司还有3D全息投影地图,用于协调救灾工作。
苏格兰的Holoxica以医用扫描图像为基础,创建3D全色彩全息图,用于教学和培训。
目前为止,全息投影最广为人知的应用形式,也许是图派克·夏库尔和迈克尔·杰克逊等已故明星以全息影像的形式,在演唱会上登台亮相,重现往日风采。
13)3D打印从新鲜事物成为不可或缺的工业工具
3D打印工业品的梦想刚刚起飞时,它有一个远大的目标:通过就地打印所需物件,取代冗长而笨拙的供应链。如此一来,它可以降低用工成本,避免人为过失,减少浪费,并免去燃油等运输成本。
得益于大型零售商和设备生产商的采用,这个梦想正在一步步实现。
一个典型的例子就是阿迪达斯。它与3D打印公司Carbon合作,于2017年4月发布“Futuredraft 4D”鞋。该公司正通过Carbon的打印机,用一种感光聚合物树脂来打印鞋子。据报道,当前,打印一个鞋底一般需要一个半小时,Carbon将这一时间缩短到了20分钟。
Carbon已经融资3.75亿美元,是最早推出超快速3D打印机的企业之一。
2017年5月,它推出了一项名为SpeedCell的新服务,称其容量和打印区大小是原先M1打印机的两倍。这样,人们就可以打印更大的物体了。这款打印机名为M2,其设计也旨在与机器人实现密切合作。
通用电气(GE)也许是该市场中最大的老牌企业了,它创办了一个专门的3D打印机构GE Additive。2017年11月,GE揭晓了世界上最大的3D金属打印机,可打印直径达1米的物体。
GE Additive已经在打印燃油喷嘴,用于其LEAP飞机发动机,最终供应给空客和波音的单通道喷气式飞机。
另外,GE也在生产AdvancedTurboprop发动机,这是第一个在大型部件生产中用到“增材制造法”(其中包含3D打印)的商用飞机发动机。

材料领域的创新也在加速这一过程。
以金属打印为例,马萨诸塞州的Desktop Metal称,其3D金属打印机是迄今为止市场上最为高效的。
理想的趋势是物流公司与生产商合作,使3D打印进一步迈入主流。这方面,物流企业UPS一马当先,发布了一个按需式3D打印机网络,并与软件公司SAP展开合作。两家公司还决定开放该网络,吸引更多的外部协作,这也许为未来定下了基调。
14)技术改善老年护理

老年人往往要受到配偶去世、子女居住地很远,或者行动不便而与外界隔绝等问题困扰。越来越强烈的孤独感会导致抑郁和其他不良的心理和生理健康状态。
技术正在通过大量的新产品和服务来改善老年人的生活质量。
很多公司已经推出了伴侣机器人。孩之宝(Hasbro)的欢乐伴侣宠物(Joy For All Companion Pets)是一种栩栩如生的机器宠物,拥有高度仿真的毛皮,能发出“宠物一样的叫声”。
日本的PARO更进一步。这款覆盖着长毛绒的机器海豹能记住声音,对抚摸、光线、声音和温度作出响应,被阳光照射时还能立起来。不过它的售价也要高于其他一些机器宠物,价格在5000美元左右。
机器人也能作为家庭保健助手。荷兰Tinybots公司开发了联网机器人Tessa,能与日程和提醒软件同步。它可以告诉老年人下次预约、服药和其他事项的时间。
不过,虽然这些机器人能提供情感和有用的提醒,但它们无法理解行为上的异常:某人多久才吃饭或者上厕所?那种行为变化意味着什么?
这就是监控技术的用武之地。Sensara安装一套智能传感器,用来记录和分析老年人的日常生活,帮助他们和护理人员改善他们的生活方式和健康状况。
Alarm.com推出了一个采用类似系统的健康服务,能报告各种生活细节,比如上厕所的频率。这些传感器能安装在任何地方,不管是椅子下面还是厨房里。
2017年10月,美国电子产品商店百思买(Best Buy)推出了Assured Living服务,此举显然是为了迎合顾客的需求。很多顾客进入百思买商店,寻找能够帮助他们追踪年迈父母生活情况的产品。顾客可以购买无合约监控服务,使用在线仪表板或者手机APP来追踪数据,每天费用为1至2美元。系统掌握了个人的日常生活习惯后,就能把反常情况通知护理人员。
就连吃药也被自动化。一个解决方案是PillDrill,这款设备能提醒你何时用药,用药后你摇晃一下装药的盒子,就会发出药已经服用的通知。
其他智能设备包括按时储存、分发和管理药物的HERO。与它连接的手机APP可以在服药后发送通知。
一些公司还帮助寻找合适的家庭护理人员。加州Honor Technology公司根据老人的情况筛选合适的护理人员,亲属可以通过监控系统知道护理人员的活动和他们在家里花费的时间。该公司到目前为止累计募集投资6210万美元,投资者包括安德森-霍洛维茨基金(Andreessen Horowitz)。
15)科技巨头化身房地产开发商
现在,那些最好的科技公司在招聘时,也许会向员工提供住房,以此吸引人才。究其原因,除了“工作就是生活,生活就是工作”的理念之外,这种趋势还有更深层次的原因。科技企业大量招人,人们纷纷前往异地就业,房价疯涨,就连科技企业自己的基层雇员都租不起房子了。
这不仅限于旧金山这样的地方。越来越多的人不会在同一个地方住很久,很多地方都难以吸引年轻的新住户。考虑到受雇人口数量与房源数量之间的失衡,在一定程度上,大型科技公司正在加剧住房危机。而作为响应,它们自己动手,建起了住宅。
2017年7月,谷歌斥资约3000万美元,为员工买下300所预制房屋,计划把它们落户到山景城。
同样是2017年7月,Facebook也披露,它计划在加州门洛帕克的一大片土地上建立企业园区。这片土地就在Facebook总部对面,将配有约1500个房间。这个“混合用途村落”将配备交通和杂货店、药店等设施。虽然,这些住房主要为Facebook员工准备,但也有一部分会向社区开放。有些房子的租金将低于市场价。
当然,房地产并不只是关于住房。专注于设计的苹果公司也踏足了房地产行业——不过看上去,它纯粹是奔着美感去的。
苹果园区于2017年4月向员工开放。苹果公司像构建其产品一样,构建了这个园区:建筑以设计为核心,而并非仅仅考虑实用性。整个园区华丽异常,设有餐厅、健身中心、交通枢纽,及一个大礼堂。目前,这个园区仍在建设当中,但考虑到设计的质量,它被归为又一款漂亮的苹果产品。
转自:品觉 微信公众号(pinjueche.com)
车品觉简介
畅销书《决战大数据》作者;国信优易数据研究院院长;红杉资本中国基金专家合伙人;浙江大学管理学院客席教授;全国信标委员;数据标准工作组副组长;美丽心灵基金会桑珠利民基金副主席。
原阿里巴巴集团副总裁,首任阿里数据委员会会长;现担任中国信息协会大数据分会副会长、中国计算机学会大数据专家委员会副主任、粤港信息化专家委员、中国计算数学学会第九届理事、清华大学教育指导委员(大数据项目)、浙江大学管理学院客席教授等职。
声明:本文来源:车品觉,由《慧造智能研究院》推荐阅读,版权归原作者所有,引用或转载请注明出处!如有侵权请联系我们(mfg2025@qq.com)删除!

我们专注“软件革命”和“硬件进化”所驱动的工业创新,希望与各位共同见证新智能时代!




