手机版
二维码
购物车
(
0
)
供应
求购
公司
团购
展会
资讯
招商
品牌
人才
知道
专题
图库
视频
下载
商圈
推广
热搜:
采购方式
甲带
滤芯
气动隔膜泵
减速机型号
减速机
履带
带式称重给煤机
链式给煤机
无级变速机
首页
供应
求购
公司
团购
展会
资讯
招商
品牌
人才
知道
专题
图库
视频
下载
商圈
首页
>
资讯
>
展会资讯
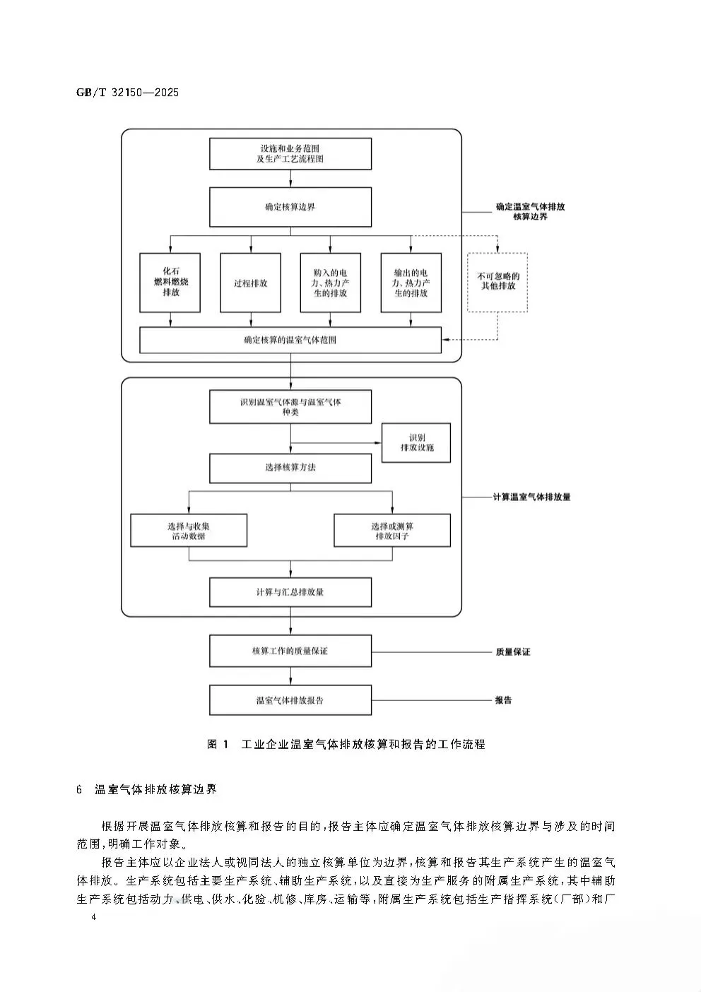
《工业企业温室气体排放核算和报告通则》GBT 32150-2025 代替 GBT 32150-2015(全文)
日期:2026-01-26 19:46:08 来源:网络整理 作者:本站编辑
评论:0
《工业企业温室气体排放核算和报告通则》GBT 32150-2025 代替 GBT 32150-2015(全文)
·
全文完·
打赏
更多
>
同类资讯
• 如何写出高质量的调研报告
0
条
相关评论
推荐图文
推荐资讯
点击排行
0
1
就业先锋丨丁思瑶:从能源经济到行业分析,我的跨界探索与选择
0
2
【行业分析】| 新年特稿 | 2026年天线市场怎么走?
0
3
行业研究入门到精通!4大核心模块+实战案例拆解
0
4
【行业研究】有色金属行业2026年度信用风险展望(2025年12月)
0
5
【行业研究】中国中药行业全景图:短期承压分化,长期求变提质
0
6
财报季避坑指南:超预期股能追吗?不及预期股要抛吗?散户必看的3陷阱2技巧
0
7
财报解读|锦富技术近五年财报解读(20-24)
0
8
财报季不踩雷:从净利润涨跌看懂个股逻辑,这3个避坑公式直接用
0
9
【行业研究】银行业季度观察报(2025年第2期)
网站首页
|
关于我们
|
联系方式
|
使用协议
|
版权隐私
|
网站地图
|
排名推广
|
广告服务
|
积分换礼
|
网站留言
|
RSS订阅
|
违规举报
|
皖ICP备20008326号-18
(c)2008-2022 免费发布网 All Rights Reserved