手机版
二维码
购物车
(
0
)
供应
求购
公司
团购
展会
资讯
招商
品牌
人才
知道
专题
图库
视频
下载
商圈
推广
热搜:
采购方式
甲带
滤芯
气动隔膜泵
减速机
减速机型号
履带
带式称重给煤机
无级变速机
链式给煤机
首页
供应
求购
公司
团购
展会
资讯
招商
品牌
人才
知道
专题
图库
视频
下载
商圈
首页
>
资讯
>
展会资讯
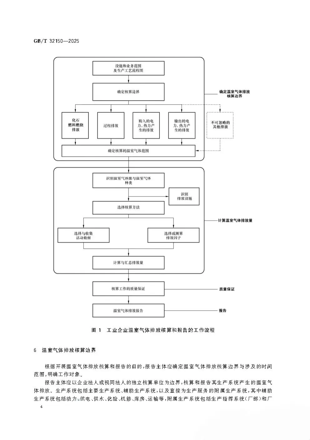
《工业企业温室气体排放核算和报告通则》GBT 32150-2025 代替 GBT 32150-2015(全文)
日期:2026-01-26 19:45:35 来源:网络整理 作者:本站编辑
评论:0
《工业企业温室气体排放核算和报告通则》GBT 32150-2025 代替 GBT 32150-2015(全文)
·
全文完·
打赏
更多
>
同类资讯
• 香港大学2024本科毕业生就业调查
0
条
相关评论
推荐图文
推荐资讯
点击排行
0
1
2026深圳国际体育用品展览会|深圳健身器材展
0
2
液冷系统 行业分析报告
0
3
行业分析 | 传统家禽企业如何发力电商赛道?
0
4
今日市场行业分析
0
5
我国光伏行业发展变化分析-2025年12月报告
0
6
AI自习室市场前景如何,加盟前必看的行业分析
0
7
我国分布式储能行业分析
0
8
小米创始人减持与AB股模式行业分析
0
9
逻辑分析,行业挖掘
网站首页
|
关于我们
|
联系方式
|
使用协议
|
版权隐私
|
网站地图
|
排名推广
|
广告服务
|
积分换礼
|
网站留言
|
RSS订阅
|
违规举报
|
皖ICP备20008326号-18
(c)2008-2022 免费发布网 All Rights Reserved