
《工业企业温室气体排放核算和报告通则》规定了基本原则、工作流程、核算边界、核算步骤与方法、核算工作的质量保证、温室气体排放报告等相关内容。新标准代替 GB/T32150—2015《工业企业温室气体排放核算和报告通则》,与 GB/T32150—2015相比,除结构调整和编辑性改动外,主要技术变化如下:
a)增加了碳汇、碳清除等相关术语(见第3章);
b)更改术语“燃料燃烧排放”为“化石燃料燃烧排放”并更改了定义(见3.7,2015年版的3.7);
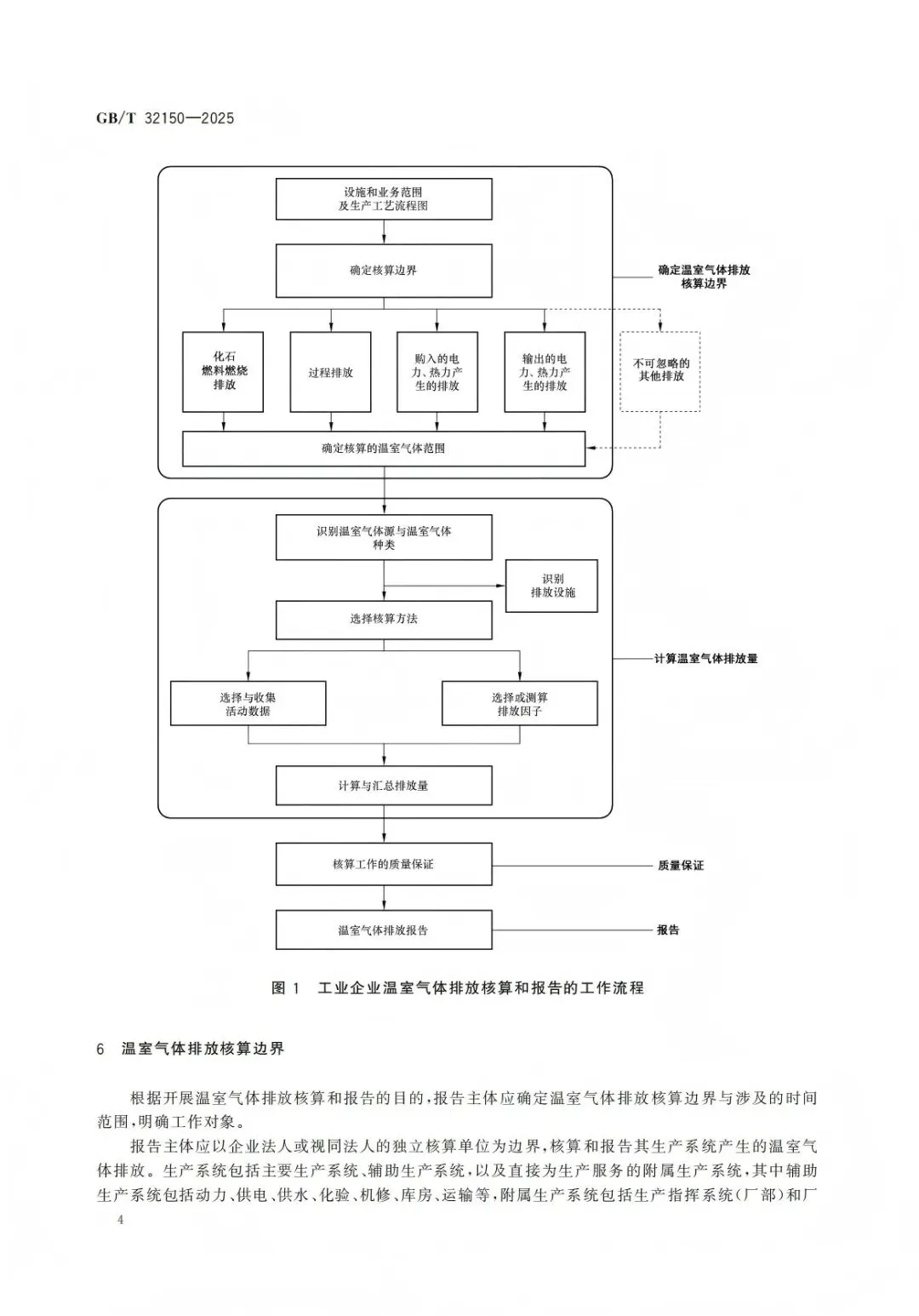
c)增加了对报告主体涉及温室气体汇和不可忽略的其他间接温室气体排放的相关内容(见第6章);
d)增加了报告主体使用外购非化石能源电力排放因子确定的要求(见7.5.6);
e)增加了报告主体使用外购非化右能源热力排放因子的选取要求(见7.5.7):
1)增加了“不可忽略的其他间接排放"和其他间接排放的四种主要类别(见附录A);
g)增加了非化石能源电力排放因子的取值要求及证明文件(见附录B)
详见标准






















