事情是干出来的,而且是事在人为。
大家好,我是老刘,好久不见,最近沉寂了一个月,是在认真做一件事,想为行业做一些事情。这一个多月的时间,和朋友一起,为行业开发了一套系统,让我们回顾一下做这件事情的初衷和背后的故事,希望这套系统可以帮助到个人及行业!
这套系统总共包含了八部分内容以及四部分市场分析



仅仅是为了自己需要,后面就是越做越多
2024年2月20号,首次提出了自己的需求,当时看到了一个很好的系统,可以很方便的查询价格,药品,收费等,所以我在想的是,是够可以设计一个IVD人的查询系统,方便大家以后查询,以后就可以很简单很省事,所以在群里征求了一些资料,开始着手准备,每个市场部人员的电脑里都躺着一个文件夹:全国医疗收费,然后后面是一堆的表格或者pdf文件,如果要做全国数据分析,就要一个个打开。这个就是痛点之一!


想象总是容易,事实却是打脸
当时我的想法是通过GPT4.0,帮我写代码,再通过Mysql的方式,生成程序,高估了自己,我还学习了今天的Python,奈何着实自己压力很大,有点难产,只能另辟蹊径,寻找支援,专业的事,交给了专业的人,让群里的粉丝朋友协助开发。

一周的时间,就把系统平台搭建好了,后面就开始是数据的问题和内容的问题,我希望的诉求是:
一、可以查询全国省份、地级市的项目价格(包括一级、二级、三级收费)
二、实现全国注册证的查询(按照时间、公司、时间查询)
三、IVD的知识库(包括彩页、说明书、试剂说明书、行业报告、参数对比等)
四、全国的医疗机构信息,并且有医院等级
五、IVD公司的渠道商库(当时思考难度很大)
六、EQA的数据,方便市场人做市场分析
七、IVD公司的专利库信息,并且可以提供下载预览服务
两周的时间,我从最早的需求端,变成了设计端,想要设计一款针对IVD人的系统,当然,准确的来说,是整合一个针对IVD人的平台。
想法还是很简单,群里的粉丝快被我折腾够呛,需求有了,设计也不是很难,难度就是在于:数据怎么来?
第一个:医疗收费这个问题比较容易解决,群里的粉丝提供了很多的数据给到我,还有IVD daily也经常分享医疗服务收费,这部分内容算是解决了。
第二个注册证信息查询,这部分内容也不难,直接去NMPA官方导出再导入问题就可以了,但是写程序复制下来容易,难得是保持更新,系统接入的是NMPA的接口,后续可以保持更新。
第三个知识库的搭建,本身自己在知识星球传的资料就很多,然后趁着这个机会,可以上传更多的内容,这部分依赖于自己强大的资源库。
最难的是第五个数据,渠道商信息怎么来?全国有这么多渠道商,当时的第一想法是向市场上收集,工作量太大,后来另辟蹊径,找到了解决的办法。

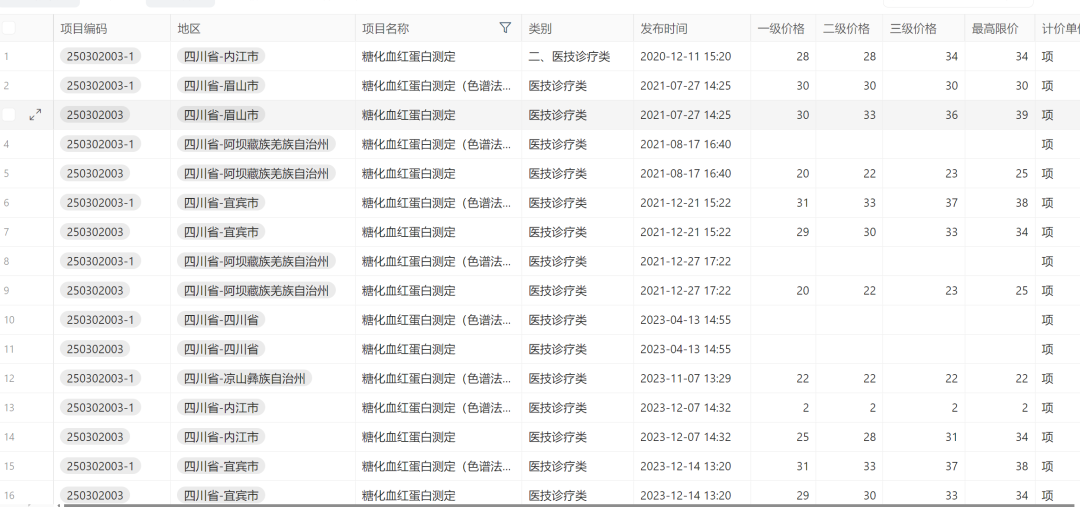
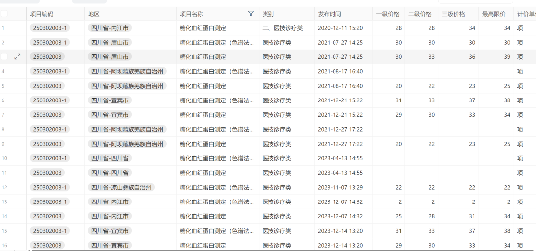
功能一:全国医疗服务价格收费
下面是一段视频展示,给大家提供最简单的功能展示,还有很多有意思的功能。
比如我们查询一个项目,糖化血红蛋白,点击最左侧的按钮,我们可以进入到下一级




功能二:注册证全国查询
这个功能的话,大家可以在NMPA的官网查询,这个功能是为了整合,NMPA的最大痛点在于:不能同时分析进口和国产,同时不能按照拿证时间排序,所以系统把这个痛点修改了。
当然还可以按照产品名称进行搜索,然后再按照时间排序,比如糖化,可以看到谁最近拿证,点进去可以看到注册证的详细信息。

还有另外一个应用场景,当注册证看完之后,后面就是看公司的内容,所以我们点开注册证的信息的时候,我们内部嵌入了公司信息,网站,公司介绍等,比如我们搜索CDMO科来思的注册证,点进去之后,可以看到法定代表人,邮箱,网址,人员规模等。可以实现从查证、查公司、查产品的三个链条的全链接。


不仅仅如此,我们针对注册证的市场情况,还可以做市场分析,比如我想看一下这个公司近些年的注册数量变化,在市场分析模块,我们搜索想要了解的公司。我们以迈克为例,可以看到近些年迈克的拿证情况,趋势变化等。

功能三:IVD知识库
IVD的知识库的搭建,是我自己一直想弄的事情,因为自己资料太多,有的时候也需要查询一些资料,所以就索性搭建了一个平台,在这个平台,大家都可以上传资料,也可以下载和预览资料,这个资料库目前是老刘自己在维护,里面的内容比较多,目前的板块有:操作手册、试剂说明书、PPT、流水线、血球、发光、凝血、POCT等之类的,具体的可以进去看,同时支持筛选和搜过功能。



以上资料库内容均来自于老刘收集,并且网上有溯源
功能四:渠道信息查询
关于这个渠道的信息来源,我们也没有能耐去收集到全部的渠道信息,但是基本的渠道都在这里面,数据来源是来自于招标信息,我们写了一个程序把曾经的招标信息收集下来做进一步的梳理和清洗,才得到了我们的数据库,数据来源都真实可溯源。
同时,为了给大家更直观的感受,我们还特地制作了经销商地图,点击对应的省份,即可显示省份下面的所有渠道商,方便后面做进一步梳理。

功能五:医院信息
这部分内容还在梳理中,因为数据也比较多,后面计划设计的模式是可以直接查询医院等级,每个省份的医院等,还有对应的等级,目前仅仅是把数据导入其中,后续这部分内容会再优化。

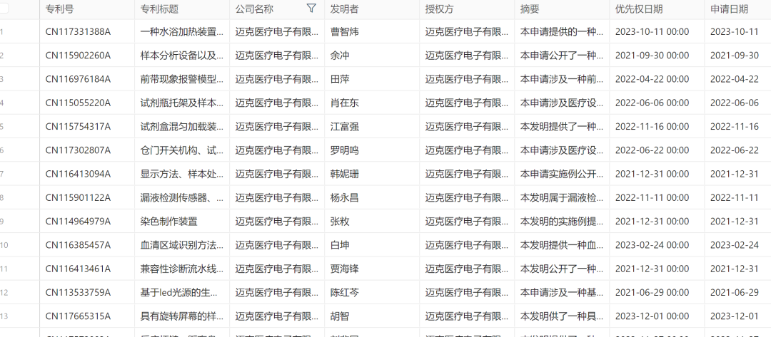
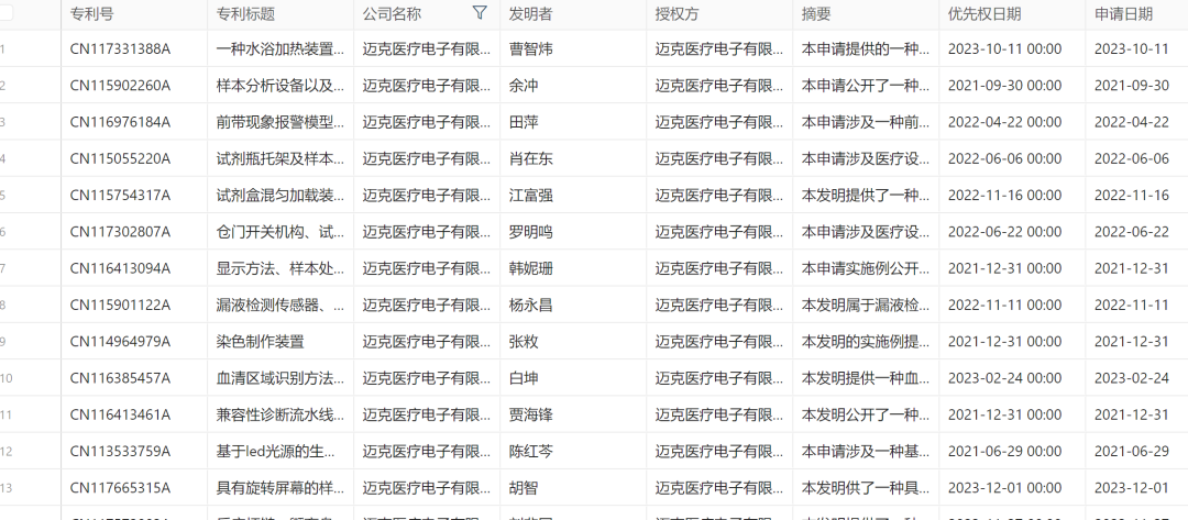
功能六:IVD专利库
这部分内容的诉求是研发,和医院信息一样,提供的内容是整合,同时提供专利的查询和下载服务。
比如我们搜索迈克,迈克下面的所有专利信息都在下面了,点开一个,可以看到具体的内容,同时提供了下载,当然同时支持按照时间排序等。


功能六:EQA数据库
这个功能是为产品经理开发,经常需要分析数据和市场情况,所以把EQA的数据内容直接整合到系统里,里面可以按照项目,年份等筛选,再也不会遇到进入EQA系统把电脑卡死的情况了。
我们还以糖化为例子,我要看2023年EQA的室间质评分组情况,按照仪器分组,总共有多少家的仪器参与了EQA,在里面可以展示。
未来的功能还有很多,比如直接点击一个项目,自动生成饼图,自动按照品牌数量排序等,等后面会逐渐优化上线。

关于更新频率:因为目前医疗服务价格等都在更新,为了更好的服务大家,制定一个更新频率
如何申请:
第一步:扫描下方二维码,输入手机号码,验证码,填写个人信息后注册

第二步:添加老刘微信(laoliu-ivd),转账后后台审批通过,开始系统使用(审批通过后不接受退款(请谨慎考虑),可以提供开票业务)
关于后续的功能开发:
一、知识库的AI模型,后续会尝试集成到系统中,要看进展是否顺利,已经在做了
二、可视化的优化,数据的更新,目前第一阶段满足数据全的问题,后面再满足优的问题
三、其他模块功能的上线(比如专家共识、指南、标准等,按照类别做好区分)
借用雷军说的话:如果觉得系统不够好,还请轻喷,我也是第一次做。
行业寒气之下,降本增效是趋势,系统只是为了更好的协助大家提高效率。



