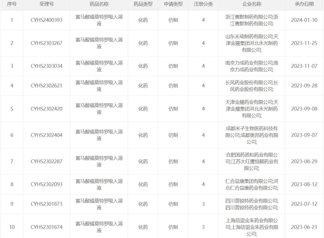
近日,国家药品监督管理局药品审评中心(CDE)官网显示,浙江赛默制药按仿制4类提交的富马酸福莫特罗吸入溶液上市申请获CDE承办受理。

富马酸福莫特罗是一种速效、长效选择性 β2肾上腺素类受体激动剂,能产生舒张支气管平滑肌及抑制肥大细胞炎性介质释放作用。富马酸福莫特罗吸入溶液为雾化吸入溶液剂,被广泛用于多种呼吸道疾病的治疗,尤其是COPD。给药后直接进入支气管、肺部,有速效、长效、使用剂量灵活、吸入效果受吸气模式影响较小等优势,尤其适用于老年、气促、喘息、重症机械通气患者。
在《慢性阻塞性肺疾病临床诊疗指南(2021版)》中,用于治疗COPD的药物常以支气管舒张剂、糖皮质激素类或联合应用为主,尤其推荐吸入剂型。
富马酸福莫特罗吸入溶液最早由Mylan迈兰公司研发,于2007年获得FDA批准,商品名为Perforomist。富马酸福莫特罗吸入溶液全球销售额整体呈缓慢上升趋势,2021年达3亿美元(IMS数据)。
2022年以前,国内仅有粉吸入剂和片剂销售,一直未有富马酸福莫特罗吸入溶液上市。阿斯利康和正大天晴的富马酸福莫特罗粉吸入剂分别早于2000年和2010年就在国内获批上市。另外,倍氯米松福莫特罗、布地奈德福莫特罗等多个复方品种也已经在国内上市。
富马酸福莫特罗吸入溶液在2019年被列入《第一批鼓励仿制药品目录》。富马酸福莫特罗目前已被纳入国家医保乙类品种目录(2023版)。
2022年8月,济南景笙科技的富马酸福莫特罗吸入溶液先于原研获批,拿下国内首仿、首家过评。2023年6月,原研Mylan的相关产品获批上市,由晖致医药引进;2023年7月,健康元的产品获批上市。目前竞争格局为“2+1”。
吸入剂是治疗哮喘、COPD等呼吸系统疾病的首选给药途径,市场规模巨大。米内网数据显示,2022年中国城市公立医院、县级公立医院、城市社区中心及乡镇卫生院(简称中国公立医疗机构)终端吸入剂销售额超过210亿元;2023年上半年其销售额超过120亿元,同比增长9.85%。

(来源:米内网)
尽管市场规模很大,但由于吸入制剂仿制难度较大、技术壁垒高,长期以来,绝大部分市场份额长期被阿斯利康、葛兰素史克、勃林格殷格翰等进口厂家所占据,国产化率不足10%。
不过,随着技术的持续突破,国内仿制药企业开始发力。就富马酸福莫特罗吸入溶液而言,众多厂家瞄准了这款原研进口较晚的产品。除了已经获批的济南景笙科技和健康元药业,目前还有多达17家企业报产了富马酸福莫特罗吸入溶液,包括湖南科伦制药、长风药业等。


随着国产吸入制剂陆续上市,进入国产替代加速时代的同时可及性也在提高,除去集采等因素影响,未来市场规模必定继续扩大。
富马酸福莫特罗吸入溶液有一定优势和针对人群,上市不久市场已经逐渐打开。根据药智网数据,2023年上半年的销售额已达到3000万元,市场前景良好。
如果您对「福莫特罗」感兴趣,欢迎联系我们!
▲编辑:Ryan
THE END





