推广 热搜: 采购方式  甲带  滤芯  气动隔膜泵  带式称重给煤机  减速机型号  无级变速机  链式给煤机  履带  减速机 

十年财报看英伟达-基于海辉价值分析模型

   日期:2026-03-31 11:51:29     来源:网络整理    作者:本站编辑    评论:0    
十年财报看英伟达-基于海辉价值分析模型
海辉价值分析模型介绍
海辉价值分析模型是由林园投资副总经理兼基金经理张海辉所创, 系统的归纳和整理了巴菲特和林园评判公司是否具备可持续竞争优势的常用财务指标, 结合自己研究及践行价值投资多年的心得,设计出一套包含34个财务指标的公司长期持续竞争优势的评价系统,将公司最近十年财报以图表的形式清晰展示,包含15个重要指标的智能检查清单,为分析公司长期持续竞争优势拆上腾飞的翅膀,极大降低价值投资的学习门槛和研究工作量,财务小白也能一眼识别公司好坏,目前已覆盖A股、港股通及欧美日等主流市场成分股。
以下是模型所涉及的34个指标及注释,基于巴菲特和林园公开表述整理和归纳,喜欢的朋友可以收藏:
重要排序
指标名称
指标注释
01
毛利率
毛利润/营业收入,只有具备某种可持续竞争优势才能在长期运营中一直保持盈利,特别是毛利率高于40%的公司。查过去10年的毛利率,以确保它的持续性。
02
净利润率
净利润/营业总收入,如果一直保持在20%以上,那么很可能具有某种长期竞争优势。如果一直保持在10%以下,则很可能处于一个高度竞争行业,行业中没有一家公司能长期维持竞争优势,建议回避。
03
扣非净利率
扣非净利润/营业收入,如果一直保持在20%以上,那么很可能具有某种长期竞争优势。如果一直保持在10%以下,则很可能处于一个高度竞争行业,行业中没有一家公司能长期维持竞争优势,建议回避。
04
10年资本开支/10年净利润
近10年资本开支/近10年净利润,越低越好,50%以下候选,25%以下则可能具备某种持续竞争优势。用于测算10年的资本开支花去了10年净利润的多少,10年汇总值,看赚的多还是花的多。
05
有效资产收益率
扣非净利润/(总资产-锚定资产),衡量一年能收回多少比例的有效资产,越高则赚钱机器含金量越足
06
净资产收益率(摊薄)
净利润/期末净资产,越高越好,15%以上优秀
07
锚定资产占比
锚定资产/总资产,过滤掉增发和发债等因素带来的现金增加后,该项稳定趋升、越高代表企业荷包越鼓。
08
长期借贷/净利润
长期负债/净利润,小于4才合格,巴菲特发现,那些具有持续竞争优势的公司通常负担很少的长期贷款,或压根儿没有长期贷款。这是因为这些公司具有超强的盈利能力,当需要扩大生产规模或进行企业并购时,它们完全有能力自我融资。一般而言,它们有充足的盈余在3~4年时间内偿还所有长期债务。
09
剔除预收款后的资产负债率
(总负债-预收账款-合同负债)/(总资产-预收账款-合同负债),越低越好,30%以下最好,高于80%要警惕
10
剔除预收款后的债务股权比
(总负债-预收账款-合同负债)/(净资产-预收账款-合同负债+库存股票),越低越好,通常低于80%是好公司,具备持续竞争优势
11
销管研三费占毛利比
(销售费用+管理费用+研发费用)/毛利润,越低越好,高于80%则回避
12
销售+管理费用占毛利比
(销售费用+管理费用)/毛利润,销售费用及一般管理费用占毛利润的比例越少越好,两项合计30%以下最好,高于80%则回避
13
销售费用占毛利比
销售费用/毛利润,部分有持续竞争力的品牌公司,销售费用占毛利的比重也可能50-60%,如快消品,若低于30%则比较有竞争力
14
管理费用占毛利比
管理费用/毛利润,销售费用及一般管理费用占毛利润的比例越少越好,两项合计30%以下最好
15
研发费用占毛利比
研发费用/毛利润,尽量回避那些必须经常花费巨额研发费用的公司,高于15%则回避
16
财务费用
利息支出-利息收入,正值代表净支出,负值代表净收入
17
财务费用占毛利比
财务费用/毛利润,小于15%为宜,高于15%则回避
18
预收款
预收账款+合同负债,观察其是否随营收同比例变化
19
预收款占营收比
(预收账款+合同负债)/营业收入,行业内横向比较可判断企业话语权,越高则越大
20
毛利润
营业收入-营业成本,稳定趋升、越高越好
21
经营利润
毛利润-销售费用-管理费用-研发费用-财务费用,稳定趋升,越高越好
22
硬朗度利润
毛利润-销售费用-管理费用-研发费用-财务费用+权益性投资损益,衡量所有经营相关的利润,稳定趋升,越高越好
23
税前利润
利润总额,包括经营利润与非经常性损益,是不同类资产之间比价的桥梁
24
净利润
税后利润,含少数股东权益,稳定趋升,越高越好
25
归母净利润
归属母公司股东的全部净利润,稳定趋升,越高越好
26
扣非净利润
扣除非经常损益后的净利润,稳定趋升,越高越好
27
存货
对于制造类企业,要查看其存货增长的同时净利润是否相应增长。存货在某些年份迅速增加,而其后又迅速减少的制造类公司,它很可能处于高度竞争、时而繁荣时而衰退的行业,其中没有任何一家公司能让人变得富有。
28
现金分红总额
年度内各报告期累计现金分红总额,稳定趋升,越高越好
29
分红率
分红总额/归母净利润,分析现状、判断未来提升空间
30
总股本
全部市场股本合计
31
锚定资产
货币、银行存款、债权、固定收益及金融类类现金资产,不含长期股权,不能独立产生经营性现金流的资产(不适用金融类企业)
32
总市值
全部市场市值合计
33
市盈率PE
静态市盈率
34
员工总数
衡量是否是人力密集型
下面,我将以英伟达为例,为大家展示下海辉价值分析模型的威力:
1. 十年资本开支/十年净利润
资本开支是指企业为购买厂房设备、无形资产等长期资产(持有时间超过一年以上)而发生的现金或现金等价物的支出,属于现金流量表的科目,体现在“投资活动产生的现金流量”中,是企业为保持长期持续竞争优势和经营所花出去的钱。值得注意的是,此项开支并不直接全额影响当期利润,而是通过后续的折旧/摊销逐年影响。
而净利润则是利润表的科目,是企业在一定会计期间的终极经营成果,反映总收入扣除所有成本、费用(包含了折旧/摊销)和税金后的剩余收益。
公式:
十年资本开支/十年净利润=最近十年净资本开支的总和/最近十年净利润的总和×100%
除了房屋和建筑物外,其余交通工具、机器、机械和企业其他生产设备的折旧年限普遍在10年以内,因此“十年资本开支/十年净利润”指标能相对客观、清晰的反映一家公司长期竞争优势的维持是否得靠不断的增加投入。对于普通投资者而言,战胜机构的唯一路径便是:买入持有那类“小投入、大产出”的赚钱机器,在复利的作用下,依靠时间与企业共成长,慢慢变富,最终改变自己的命运。
巴菲特认为,筛选“小投入、大产出”公司时,可简单地将公司最近十年的累计净资本开支与该公司同期的累计净利润进行比较。该比值越低越好,50%以下候选,25%以下则很可能具备某种持续竞争优势。
观察图表发现,英伟达的十年资本开支/十年净利润只有11.53%,非常符合赚钱机器“小投入、大产出”的特征。
2. 锚定资产与有效资产收益率
锚定资产是金融领域中价值稳定、被广泛认可作为基准(锚)的资产,其核心作用是通过自身的确定性价值,为其他资产、货币或金融工具的价格提供“稳定器”,降低波动性或建立信任基础。简单来说,它是“用来定价的尺子”或“价值稳定的压舱石”。
在投资分析中,“内在价值”是股价的“锚”。估值指标如市净率(P/B)以“每股净资产”为锚(如银行股用PB评估,锚定其资产价值),市盈率(P/E)以“每股收益”为锚(如消费股用PE评估,锚定盈利稳定性)。在资产配置中,低风险资产作为“锚”稳定组合波动。
锚定资产是金融体系的“稳定器”,通过自身价值共识为其他资产定价或避险。无论是股价锚定内在价值,还是投资组合锚定国债,其核心都是“用确定性对抗不确定性”。对投资者而言,理解锚定资产的底层逻辑(如现金流、信用、稀缺性),才能更好判断资产价值的“合理性”,避免被脱离锚点的泡沫迷惑。
简言之:锚定资产=“价值的尺子”,用它量出来的价格才靠谱。
研究企业的赚钱能力时,我们定义的锚定资产主要是货币、银行存款、债权、固定收益及金融类类现金资产(不包含企业的长期股权)。这类资产的价值都相对稳定、具备良好的信用、容易变现或在公开市场中有报价,能以相对小的波动和损耗快速变现,但是对于非金融类企业而言,他们往往不能独立为企业创造经营性现金流,故而我们也可以将其理解为非经营性或非生产类资产。
公式:
锚定资产占比=锚定资产/总资产×100%
过滤掉再融资带来的企业类现金增加后,锚定资产稳定趋升,说明企业不断将经营成果储存下来,荷包越来越鼓,回报股东的能力越来越强。
有效资产也是本人自创的一个指标,用来衡量企业中实际用于生产或经营的那部分资产。其公式为:`有效资产=总资产-锚定资产`
有效资产收益率=扣非净利润/(总资产-锚定资产)
该指标可以用来衡量企业一年能收回多少比例的有效资产,收益率越高则表明企业赚钱能力越强,赚钱机器特征越明显。
观察图表发现,英伟达的有效资产收益率呈现一定的波动性,但最近十年都维持在20%以上,符合赚钱机器的特征。
3. 经营利润与硬朗度利润
经营利润是企业核心经营活动产生的利润,反映主营业务(生产、销售、服务等)的盈利能力,是衡量企业“内生增长质量”的关键指标(排除非经常性损益、投资收益等非核心因素影响)。
公式:
核心经营利润=毛利润−期间费用(销售+管理+研发+财务)−税金及附加
经营利润是利润表中的核心中转指标,位于“毛利润”之后、“利润总额”之前,承上启下反映经营成果向最终利润的转化。经营利润为正且持续增长,说明企业主营产品/服务能独立覆盖成本并盈利;若经营利润为负,即使靠投资收益或政府补贴“扭亏”,也需警惕“主业空心化”风险。相比净利润(含非经常性损益),经营利润更能体现持续盈利能力。例如,某周期股企业因出售子公司获得一次性收益使净利润大增,但经营利润下滑,预示主业景气度下行。
硬朗度利润是本人自创的一个指标,在核心经营利润的基础上加上了对联营企业和合营企业的投资收益,能更加全面的反映与企业集团持续经营相关的一切利润。
对联营企业和合营企业的投资收益,是权益性投资的重要收益形式之一,本质是投资者通过权益法核算,按比例分享被投资企业(联营/合营企业)净利润的份额。权益性投资中的“联营企业”和“合营企业”均属于“重大影响”或“共同控制”的非控股投资(持股比例通常为20%-50%),但控制权性质不同:
  1. 联营企业:投资者对被投资企业具有重大影响(如派驻董事、参与决策),但无法单独控制(如腾讯持有京东15%股权,派驻董事参与战略决策);
  2. 合营企业:投资者与其他方共同控制被投资企业(如双方各持50%股权,重大决策需一致同意),常见于合资项目(如中外合资汽车厂)。
对联营企业和合营企业的投资收益,不依赖被投资企业的现金分红,而是通过权益法核算,按投资者持股比例分享被投资企业的净利润(或分担亏损)。
由于合并利润表的编制范围是母公司及其全部控股子公司(控制的企业),而联营企业和合营企业不属于控制的范围,而是重大影响(联营)或共同控制(合营),持股比例通常20%-50%。因此,其收入并未纳入集团整体的营业收入统计,而是通过“投资收益”项目反映对其利润的分享。
所以,要想更加全面的衡量一家集团企业全部与持续经营相关的利润,就需要在核心经营利润的基础上把对联营企业和合营企业的投资收益加进来,本人将其取名为“硬朗度利润”。
观察图表发现,英伟达的硬朗度利润稳定趋升,2024年随着人工智能大爆发出现井喷,数据非常靓丽。
4. 毛利润与毛利率
毛利润是企业销售收入扣除直接成本后的剩余收益,反映产品或服务本身的核心盈利能力,是衡量企业初始盈利水平的关键指标(未扣除间接费用)。毛利润的本质是“卖东西赚的钱”减去“做/买这个东西花的钱”,公式为:`毛利润=营业收入−营业成本`。
毛利率是毛利润的相对指标(占比),公式为:`毛利率=毛利润/营业收入×100%` ,它更直观地反映“每1元收入中有多少是毛利润”。
巴菲特认为,只有具备某种可持续竞争优势的公司才能在其长期运营中一直保持盈利,尤其是毛利率高于40%的公司,挑选赚钱机器时可以查过去10年的年毛利率,以确保它的持续性。
观察图表发现,英伟达的毛利率稳定趋升,最近十年都维持在50%以上,优于巴菲特的标准,代表其在自己的领域具备某种可持续的竞争优势,具备赚钱机器的特质。
5. 期间费用(营业费用)
期间费用又称营业费用,是企业日常活动中发生的、不能直接或间接归入产品生产成本,而应直接计入当期损益的费用,核心特点是“按会计期间归集、一次性影响当期利润”,是利润表中毛利润之后扣除的关键项目,直接决定企业净利润水平。期间费用的本质是“非生产性运营成本”,即与产品生产无直接关联(区别于“生产成本”——直接材料、直接人工、制造费用,需分摊到产品成本中),通常包括以下四类核心费用。
(1)销售费用
销售费用即销售环节发生的间接费用,如:广告费、销售人员薪酬、渠道费、运输费、售后服务费等。
销售费用占毛利比=销售费用/毛利润×100%
巴菲特认为,部分有持续竞争力的品牌公司,销售费用占毛利润的比重可能达到50-60%(如快消品),若低于30%则比较有竞争力。
(2)管理费用
管理费用即管理环节发生的间接费用,如:管理人员薪酬、办公费、差旅费、董事会经费、房产税、业务招待费等。
管理费用占毛利比=管理费用/毛利润×100%
销管费用占毛利比=(销售费用+管理费用)/毛利润×100%
巴菲特认为,销售费用及一般管理费用占毛利润的比例越少越好,两项合计30%以下最好,高于80%则回避。
(3)研发费用
研发费用即研发新产品/技术所产生的费用(部分企业从管理费用中拆分),如:研发人员工资、实验设备、专利申请费、临床试验费等。
研发费用占毛利比=研发费用/毛利润×100%
销管研三费占毛利比=(销售费用+管理费用+研发费用)/毛利润×100%  该比值越低越好,高于80%则建议回避。
巴菲特建议回避那类必须经常花费巨额研发开支的公司,尤其是高科技公司。
(4)财务费用
财务费用 即融资环节发生的费用,如:利息支出(借款利息)、手续费(银行转账费)、汇兑损失(外币兑换差额)等。
财务费用=利息支出-利息收入,正值代表净支出,负值代表净收入。
财务费用占毛利比=财务费用/毛利润×100%
巴菲特认为,具有持续竞争优势的公司几乎不需要支付利息,在消费品领域,其钟爱的公司财务费用均小于其经营利润的15%。
总的来说,上述四项营业费用中的任何一项如果过高,都有可能削弱企业的长期经济原动力,是投资过程中的“眼中钉”。
观察发现,虽然英伟达最近十年的研发费用每年都高于15%,但考虑到它科技企业的属性,且其历年的销售及管理费用占比都在30%以内,同时其销售、管理和研发三费合计占比最近十年中没有一年超过80%,总体也算符合巴菲特的标准。
6. 预收款占营收比
预收款是指企业预先向客户收取的货款或服务款,属于流动负债,新收入准则(IFRS 15《客户合同收入》)是国际会计准则理事会(IASB)发布的收入确认核心准则,其正式生效时间为2018年1月1日,也就是说企业2018年及以后的财报中均以“合同负债”取代了之前年份财报里的“预收账款”,做财务数据纵向对比时要记得处理。
一般来说,合同负债持续增长预示着企业订单饱满、未来收入有保障(如新能源车企预售订单激增,合同负债大幅增加),而一旦合同负债大幅下降,则可能反映需求疲软(如某手机厂商合同负债减少,说明销量下滑)。通过观察合同负债是否随营收同比例变化,可以作为预判企业经营效益的领先指标。
公式:
预收款占营收比=(预收账款+合同负债)/营业收入×100%
该指标反映出企业对客户的议价能力与未来收入增长的确定性,是财务报表分析中判断企业需求景气度的关键指标。
通过行业内不同竞争对手间的横向比较可判断企业话语权,比例越高,说明产品越供不应求(客户愿意提前付款/赊账预订),企业议价能力越强(如茅台、苹果)。
此外,若预收款占营收比持续增加,则预示着企业订单饱满、未来收入将继续增长(如新能源车企预售订单激增);若预收款占营收比大幅下降,则表明企业需求疲软(如某手机厂商合同负债减少说明销量下滑),未来经营效益可能下滑。
7. 剔除预收款后的资产负债率
资产负债率是衡量企业整体负债水平与财务风险的核心指标,反映负债总额与资产总额的比例关系,本质是企业“资金来源中债务占比”的量化表达。`资产负债率=负债总额/资产总额×100%`,比率越高,说明企业债务负担越重,偿债风险越大。
剔除预收款后的资产负债率是调整后更能反映企业真实偿债能力的指标,核心逻辑是从负债总额中剔除“预收款(或合同负债)”这类“未来履约义务”(而非真正需偿还的债务),从而更准确地衡量企业“刚性负债”对资产的覆盖程度。
公式:
剔除预收款后的资产负债率=(总负债-预收账款-合同负债)/(总资产-预收账款-合同负债)×100%
巴菲特认为, 剔除预收款后的资产负债率 越低,表明企业财务越稳健、偿债风险越小;若 高于80%,表明企业债务负担非常重,偿债风险很大,建议回避。
观察图表发现,英伟达的剔除预收款后的资产负债率大部分时间都在40%以下,表明其财务非常稳健,偿债风险小。
8. 剔除预收款后的债务股权比
债务股权比是衡量企业资本结构中债务融资与股权融资比例的核心指标,反映负债总额与所有者权益总额的相对关系。
`债务股权比=负债总额/所有者权益总额×100%`,比率越高,说明企业债务杠杆越高,财务风险越大。
公式:
剔除预收款后的债务股权比=(总负债-预收账款-合同负债)/(净资产-预收账款-合同负债+库存股票)
巴菲特认为,剔除预收款后的债务股权比越低越好,通常低于80%是好公司,具备持续竞争优势。
观察图表发现,英伟达的剔除预收款后的债务股权比除2023年外其余9年都在80%以下,符合好公司的标准。
9. 长期贷款/净利润
长期贷款是企业从银行、信托等金融机构借入的、偿还期限超过1年的贷款,属于“长期借款”科目,是“长期借贷”中最常见的形式,反映企业长期债务负担与财务杠杆水平。
巴菲特发现,那些具有持续竞争优势的公司通常负担很少的长期贷款,或压根儿没有长期贷款。这是因为这些公司具有超强的盈利能力,当需要扩大生产规模或进行企业并购时,它们完全有能力自我融资。一般而言,它们有充足的盈余在3~4年时间内偿还所有长期贷款。因此,长期贷款/净利润的值越小越好,大于4的公司则不值得关注。
观察图表发现,英伟达的长期贷款/净利润连续十年都在4以下,符合要求。
10. 净资产收益率(股东权益回报率,ROE)
净资产收益率,又称股东权益回报率,是衡量企业运用股东投入资本获取利润能力的核心指标,反映净利润与股东权益(净资产)的比率,本质是“股东每投入1元钱能赚回多少钱”。
常见计算方式:
  1. 净资产收益率(摊薄)=净利润/期末净资产×100%
  2. 净资产收益率(加权)=净利润/平均净资产×100%
  3. 净资产收益率(扣非)=扣非净利润/期末净资产×100%
净资产收益率的比率越高,代表企业运用股东投入的效率越高(如茅台ROE常年>30%,说明股东每投1元,年赚0.3元以上);其比率越低则代表股东回报越差(如部分亏损企业ROE为负,股东资本在缩水)。
巴菲特认为,持续、稳定、高的ROE,随时间推移,将积累起高额的股东权益回报,从而增加公司的内在价值,有朝一日股票市场会认可其价值,并将股价推向高位。这便是我们投资的确定性。ROE常年>15%,则表明企业很可能具备某种持续竞争优势,值得重点关注。不过,如果公司显示出一贯强劲的净利润,但却拥有负的股东权益,那么该公司可能是一家具有持续竞争优势的公司,但是若显示的股东权益为负,而又长期亏损,则应回避和远离。
观察图表发现,英伟达的ROE在2014-2016年间都低于15%,而2017年以后都高于15%,2024年随着业绩爆发更是高达69.24%,代表公司的竞争优势近年来持续扩大,值得注意的是,此趋升能否持续还有待时间检验,这便是科技股投资的风险,感兴趣的朋友可以通过【海辉价值分析模型】比较一下其与其他科技巨头的赚钱机器属性优劣,便可对其实力与前景有更为直观、定量的感知。
11. 存货
存货是指企业在日常活动中持有以备出售的产成品或商品、处在生产过程中的在产品、在生产过程或提供劳务过程中耗用的材料和物料等,其核心是“持有以备出售或耗用”,属于流动资产。
存货的核心特征是其“持有目的”:
  1. 以备出售:产成品(如完工的汽车)、商品(如超市的日用品)、半成品(如待组装的手机零部件);
  2. 以备耗用:原材料(如生产家具的木材)、周转材料(如包装箱、低值易耗品)、在产品(如正在加工的服装)。
会计上,存货需按成本与可变现净值孰低计量,避免高估资产价值(若成本高于可变现净值,需计提“存货跌价准备”)。
巴菲特认为,对于制造类企业,要查看其存货增长的同时净利润是否相应增长。存货在某些年份迅速增加,而其后又迅速减少的制造类公司,它很可能处于高度竞争、时而繁荣时而衰退的行业,其中没有任何一家公司能让人变得富有。
观察图表发现,英伟达的存货增长与其营收增长大致匹配,不具备周期性,具备一定的竞争优势。
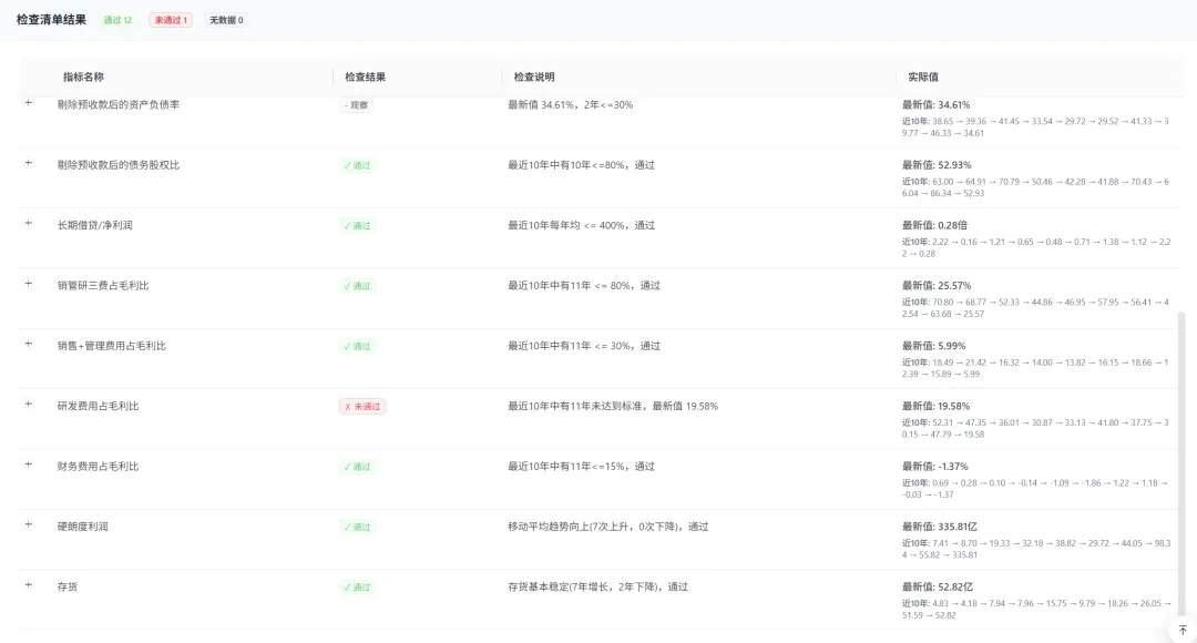
英伟达检查清单结果
最后,让我们一起来看一下英伟达的检查清单:
除了研发费用占毛利比这个指标外,其余指标均检验通过。
有了这套评价系统和智能检查清单,即便是不具备深厚财务基础知识的普通投资者也能一眼识别公司是否具备长期持续竞争优势。
是不是有点小激动和兴奋?那就赶快加入我们,开启你的淘宝之旅吧。
海辉价值分析模型登录网址:http://f.timetrain.cn/
长按识别二维码,加入【顶级投资家】星球,即可在置顶的第一篇文章【大家好】的结尾处获取模型登录邀请码,针对星球成员每周还有线上直播及不定期举办的线下研讨会可以参加。
加入中国价值投资、长期投资的阵营,与我们一起成长!
重要声明:本文分享的所有观点和模型,仅代表作者个人理解,不保证正确,不代表巴菲特和林园本人,也不代表任何机构,文中涉及公司仅作展示,不构成推荐,投资有风险,入市需谨慎。
 
打赏
 
更多>同类资讯
0相关评论

推荐图文
推荐资讯
点击排行
网站首页  |  关于我们  |  联系方式  |  使用协议  |  版权隐私  |  网站地图  |  排名推广  |  广告服务  |  积分换礼  |  网站留言  |  RSS订阅  |  违规举报  |  皖ICP备20008326号-18
Powered By DESTOON