



















Science-based Organizational GHG Management
5/7~8/2026
(可在线学习,可上门培训)
中国 上海
课程特点
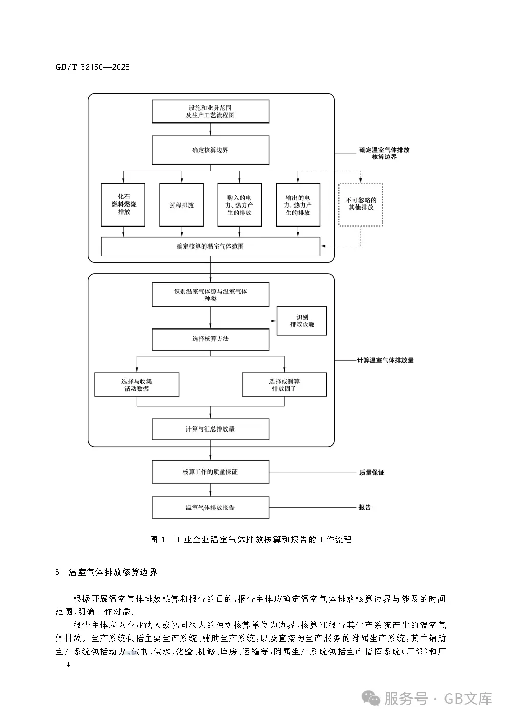
系统介绍气候变化和组织碳管理的历史脉络;
全面解读组织层面和产品碳足迹量化和报告的要求;
深入阐述2DS,WB2DS,1.5DS的组织碳减排目标设定要求;
用丰富的图片和影像资料展示最新的碳减量措施和实践;
用案例分析组织实现碳中和的途径和步骤。
谁应该参加
企业可持续发展经理、战略规划人员,碳管理人员,管理者代表,环境和能源管理人员,ISO 14001/ISO 50001 内审员
培训准备
碳管理分享
参加人员介绍/分组研讨会规则
研讨会内容简介
第一部分:气候变化与人类反思及响应
碳管理核心术语和定义
气候变化及证据
气候变化理论
气候变化的冲击
人类反思及响应
ISO 14060 系列标准介绍
讨论1:气候变化的影响
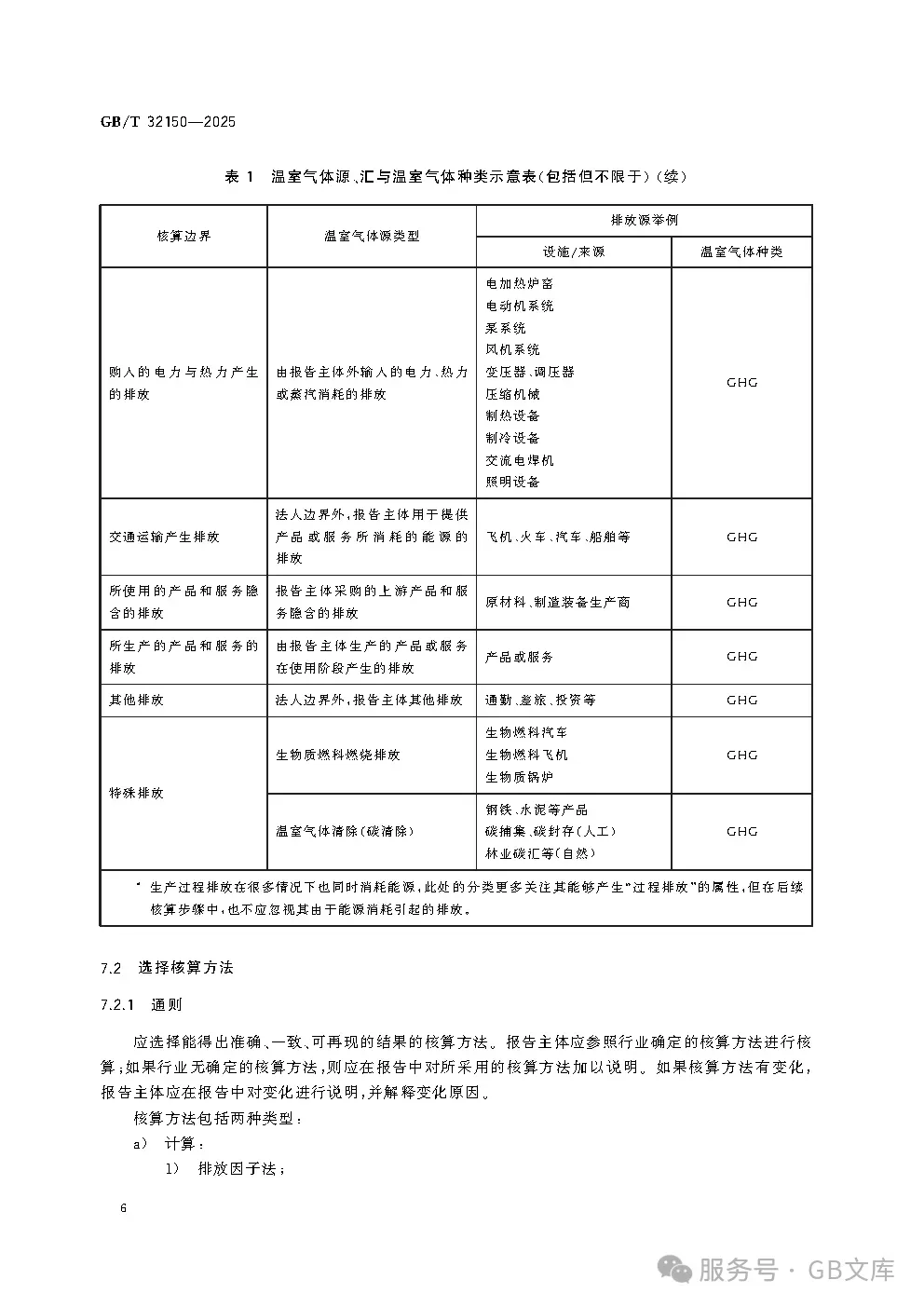
第二部分:组织层面碳量化和报告要求(ISO 14064-1:2018)
量化和报告的原则
组织边界和报告边界设定
温室气体量化方法
基准年设定和再算
温室气体清册编制及质量管理
温室气体报告编制
练习1:组织边界设定
练习2:量化模型选定和开发
第三部分:产品碳足迹(CFP)量化要求(ISO 14067:2018)
量化原则
目标和范围界定
CFP声明周期清册分析
CFP影响评估
CFP研究报告
CFP评估工具介绍
案例讨论1:产品过程图
第四部分:温室气体减量措施和实践(IPCC AR5)
减量措施概览
节能技术
植树造林
碳捕捉技术
碳封存技术
行业减量措施潜力分析
案例分享1:CCS技术
第五部分:基于气候科学的温室气体减量目标设定(SBTi)
SBT基础
2DS减排目标设定
WB2DS 减排目标设定
1.5DS 减排目标设定
SBT 审定步骤
案例分享2:SBT
第六部分:实现碳中和(PAS 2060:2014)
确定碳中和主题
选择碳中和途径
碳中和声明
保持碳中和
案例分析3:碳中和
费用为4980元人民币/人(仅包含培训与午餐费用,其他交通住宿晚餐自理)
报名联系cs@ehscity.com或021-69980278
主办方: EHSCity Development Co., Ltd
新环康安(深圳)发展有限公司
EHSCity Investment Management Co., Ltd
上海安进投资管理有限公司






