
工业企业如何科学规范地开展温室气体排放核算与报告工作?
国家市场监督管理总局、国家标准化管理委员会正式发布GB/T 32150—2025《工业企业温室气体排放核算和报告通则》,该标准将于2026年7月1日正式实施,替代2015年版标准,为工业企业温室气体管理提供了更新、更全面的技术指导框架。
本文将分享这份标准,同时我也汇总了五十多项“32151系列的”碳核算国家标准,基本实现重点行业全覆盖,大部分标准均为2025年发布。
下面是我整理好的标准清单,所有标准全文都已经上传至碳通通平台,支持一键下载,有需要的朋友可以点击下方小程序,进行浏览和下载使用!
点此下载碳核算全套标准
新版《通则》在技术内容上进行了多项重要修订与完善。新增碳汇、碳清除等术语,将原“燃料燃烧排放”调整为“化石燃料燃烧排放”并更新定义,明确要求报告主体对涉及的温室气体汇和不可忽略的其他间接排放进行单独核算与说明。同时,标准细化了外购非化石能源电力、热力排放因子的取值规则及证明文件要求,补充了活动数据与排放因子的收集优先级,使核算方法更具实操性和科学性,有效提升了数据的准确性与可靠性。
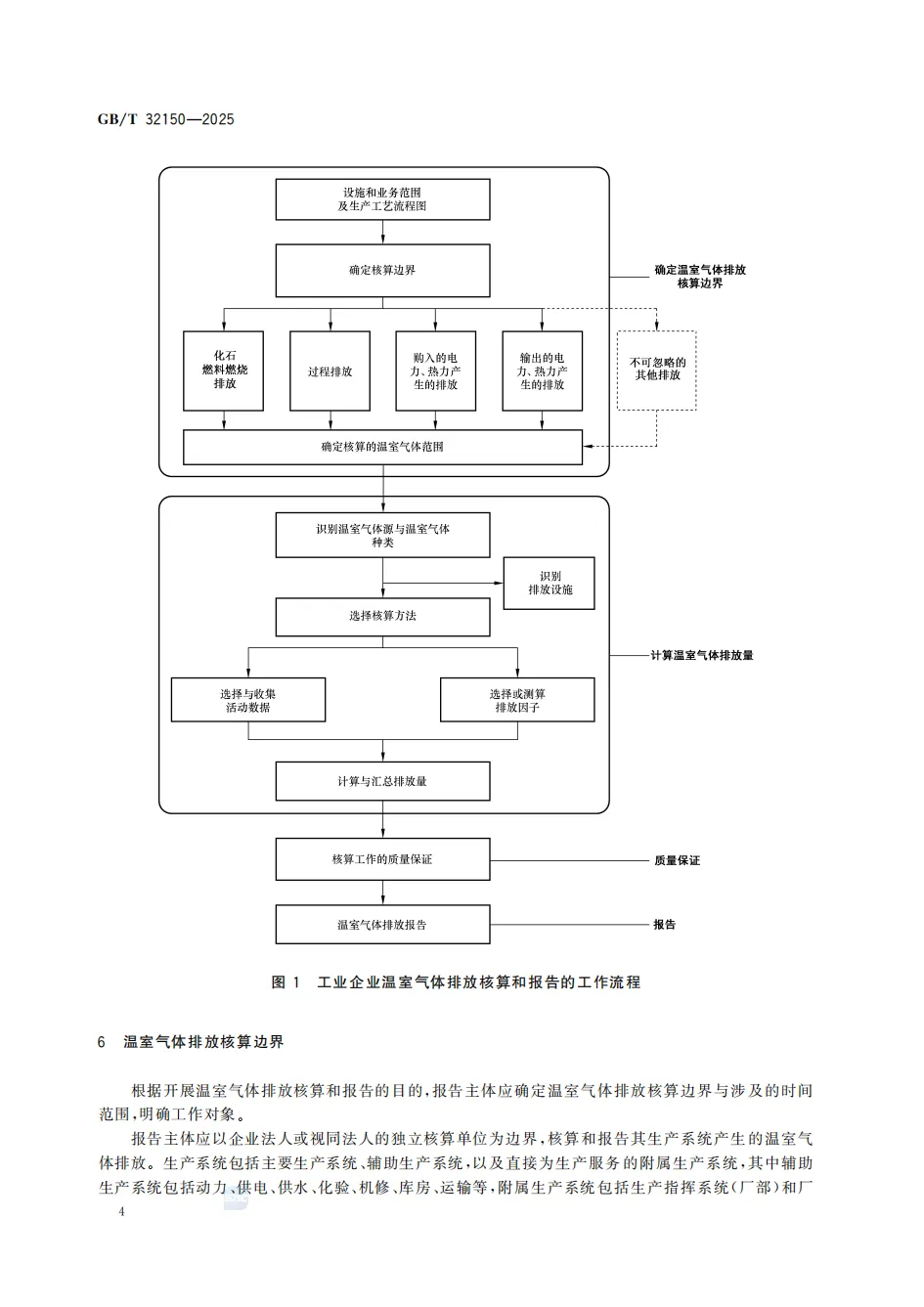
标准确立了相关性、完整性、可比性、准确性、透明性五项基本原则,要求企业在核算中确保数据适应目标需求、覆盖所有相关排放源、结果具备横向与纵向可比性、减少偏差与不确定性,并公开充分的信息供用户决策。核算工作流程涵盖确定边界、识别排放源、选择方法、收集数据、计算排放量、质量保证及报告撰写等关键环节,形成从数据采集到报告输出的全流程闭环管理,助力企业建立系统化的温室气体管理机制。
该标准的实施将显著提升工业企业温室气体核算的规范性与数据质量,帮助企业精准掌握排放现状、识别减排潜力,同时满足国家及地方碳排放控制要求与碳交易需求。作为指导行业标准编制的通用准则,它还将推动不同行业温室气体管理的标准化与统一化,为我国实现“双碳”目标提供重要技术支撑,促进工业领域绿色低碳转型与可持续发展。

















点此下载碳核算全套标准





