





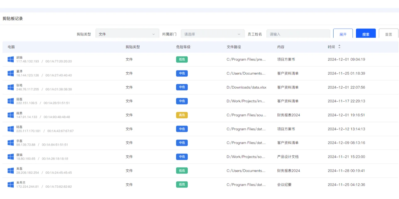
?先说结论:摸鱼不要用公司电脑\n公司为了保护网络安全,会在员工电脑上安装一些软件,来监控上网行为。这些软件可以记录员工在微X、qq上的聊天记录。此外,它们还能跟踪员工上网痕迹,包括浏览了什么网页和用了什么软件,以及截图了哪个页面、拷贝/打印/下载了什么文件。这样做可以帮助公司及时发现并应对潜在的安全风险,保护公司的机密信息和员工的安全。(后面附上管理后台图片,大家可以看看这个软件的功能有哪些)\n但是,对于员工来说,公司安装监控软件也可能引发一些担忧和不适。因此,建议打工人不要用公司的电脑处理私人事务,登录私人微信,保护好我们的隐私。\n#数据安全 #职场 #电脑监控 #电脑监控软件 #员工电脑监控软件 #上网行为管理 #摸鱼 #聊天记录 #工作电脑


