推广 热搜: 采购方式  滤芯  甲带  气动隔膜泵  减速机  减速机型号  带式称重给煤机  履带  无级变速机  链式给煤机 

泛微为咨询行业打造项目、费用、绩效、知识统一管理平台-证照管理

   日期:2024-04-23 12:32:51     来源:网络整理    作者:本站编辑    浏览:13    评论:0    

六、证照管理

公司荣誉证书、财税证件、完税明细、审计报告等公司日常需要使用的证照文件统一管理,通过流程进行查阅、借用,根据流程流转自动在台账中更新证照状态,有留痕,效率高且安全。

同时实现了相关证照电子化,员工可随时按照需求下载使用权限内的证照。

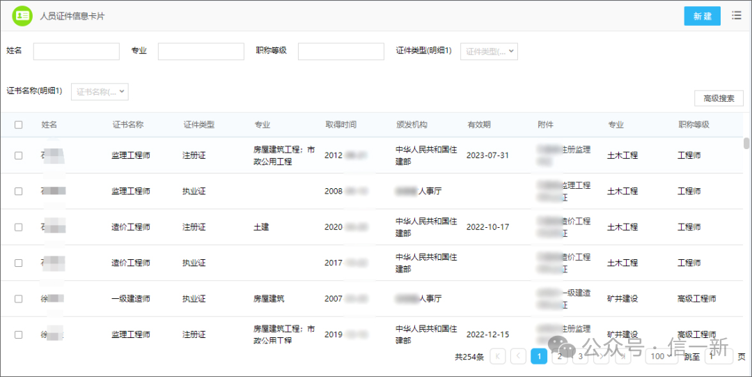
咨询行业专业人员多、人员证件多,泛微将人员证件形成台账管理,方便查询及调取。

人员证件信息卡片

本文转载自泛微数字化专家

想了解更多点击进入小程序:北京信一新

或搜索进入官网:https://www.x-rj.com/

 
打赏
 
更多>同类资讯
0相关评论

推荐图文
推荐资讯
点击排行
网站首页  |  关于我们  |  联系方式  |  使用协议  |  版权隐私  |  网站地图  |  排名推广  |  广告服务  |  积分换礼  |  网站留言  |  RSS订阅  |  违规举报  |  皖ICP备20008326号-18
Powered By DESTOON