


为切实做好湖北省建筑业企业资质相关工作,省住建厅发布《建筑业企业资质政策问答(第五版)》如下:

1、建筑业企业资质申请条件有哪些?
答 :具有独立企业法人资格的企业,均可申请建筑业企业资质。申报单位为事业单位或其申报人员有事业编制(军队单位除外)的,不批准其资质申请。分公司为非独立企业法人,无需也不可以申请建筑业企业资质。
2、哪里可以下载《建筑业企业资质管理规定》(以下简称《规定》)、《建筑业企业资质标准》(以下简称《标准》)、《建筑业企业资质管理规定和资质标准实施意见》(以下简称《实施意见》)等有关资质标准及管理规定?
答:以下两种方式均可查询到建筑业企业资质管理文件:
(一)可登录住房和城乡建设部网站查找:住房和城乡建设部网站(http://www.mohurd.gov.cn)→建设工程企业资质行政审批专栏→部门规章、资质标准、政策文件。
(二)可登录湖北省住房和城乡建设厅网站查找:湖北省住建厅首页→“店小二”专线→建筑业企业资质核准→点击查看
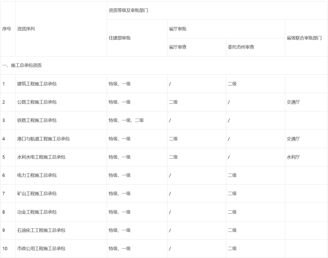
3、各级资质许可机关审查的资质类别和等级具体有哪些?
答:详见下表:




4、企业通过什么系统提交资质申请,需要提供什么材料?
答:(一)由住建部核准的资质,下载安装建设工程企业资质申报软件(网址:jsb.justonetech.com),依据系统提示扫描上传并提交生成zbb格式数据包,经省厅审批办报送住建部,具体清单要求,详见住建部行政审批专栏(网址:https://www.mohurd.gov.cn/ztbd/zyglgd/index.html)。
(二)由省厅核准的资质,申请企业登录“湖北政务服务网”检索“建筑业企业资质认定”,点击“在线办理”进入“湖北省数字住建政务服务综合平台”,按照《实施意见》附件2:《建筑业企业资质申报材料清单》首次、增项、升级、延续、简单变更、重新核定等申请事项和要求,提交相应材料(详见“湖北省数字住建政务服务综合平台”材料清单列表)。
全程网报,无需线下提供纸质材料,上报地选择“工商注册所在地市州”。省管企业(中央在鄂企业、省国资委直管企业及其控股子公司、在省工商注册的企业),上报地选择“湖北省”。
5、企业资质审批流程是什么?多长时间可以知道审批结果?
答:住建部审批流程及审批时限,详见住建部行政审批专栏。
省厅审批事项:企业申报→受理申报材料→初审→公示→复审→公告→企业在申报系统下载电子证书。
公示意见不同意企业资质申请事项的,企业可以在规定时限内针对公示意见提交陈述材料,逾期未提出陈述材料的,视为企业对公示意见无疑异,且资质许可机关不再授受任何补充材料。
自2023年9月起,公示期为5个工作日。
法定时间为20个工作日。省厅承诺,自受理资质申请之日起10个工作日(不含专家评审及网上公示时间),企业可获知审批结果。其中,涉及联办部门审查的事项,需待联办部门回复审查意见后,企业方可获知审批结果。
6、企业多次申请同一项资质,针对同一事项的资料,应注意的事项?
答:对原审查不合格意见,需提供合理有效的佐证材料,未见有效证明材料直接修改原申报材料的不予认可。
7、企业申请资质的类别、等级、数量、年限有何要求?
答:企业可以申请施工总承包、专业承包序列的各类别资质,申请资质序列、类别、数量不受限制。企业首次或增项申请,可直接申请施工总承包、专业承包二级资质。企业申请资质升级不受年限限制,但需逐级申请资质升级。
8、企业申请资质时可以利用其母公司、子公司、管理公司等相应资源吗?
答:不可以。企业申请资质应以独立企业法人所拥有的主要人员、资本、业绩、技术装备等情况进行申报,不能使用其母公司、子公司、管理公司等相应资源,如人员、资产、设备、业绩等。
9、资质标准中的 “以上”、“以下”、“不少于”、“超过”、“不超过”如何理解?
答:“以上”、“不少于”、 “超过”是下限, “以下”、 “不超过”是上限。“以上”、“以下”、“不少于”、“超过”、“不超过”均包含本数。比如:标准中的“净资产1000万元以上”是指净资产最少为1000万元(含);标准中的“开挖深度不超过12米的基坑围护工程。”是指可承接开挖深度最大为12米(含)的基坑围护工程。
10.企业发生重组分立、合并、国企改制(含事业单位改制)以及跨省变更的,如何申请重新核定建设工程企业资质?
答:(一)企业由于经营结构调整,在企业与其全资子公司之间,或各全资子公司间进行重组分立,需申请资质证书的,应当进行重新核定企业资质。
对原企业相应资质证书上记载的全部资质按照资质标准及有关规定重新核定企业的净资产、人员、设备、代表工程业绩等内容。
对新企业拟承继资质按照资质标准及有关规定重新核定企业的净资产、人员等内容。
原企业的施工总承包资质通过具备相应的工程设计资质直接申请取得的,还应对原企业工程设计资质重新核定。
(二)建设工程企业发生合并、国企改制(含事业单位改制)以及工商注册地跨省变更的,应当按照拟承继资质相应资质标准和有关规定重新核定新企业的净资产、人员等。
被吸收企业未办理工商注销登记的,合并后企业可取得有效期1年的资质证书。有效期内完成工商注销登记的,可按规定申请换发有效期5年的资质证书;逾期未注销或未提出换证申请的,其资质证书作废。
企业申请办理工商注册地跨省变更的,发放有效期1年的资质证书,企业应当在证书有效期内将有关人员变更到位。有效期内人员变更到位的,可按规定申请换发有效期5年的资质证书;逾期人员未变更到位或未提出换证申请的,其资质证书作废。
(三)企业发生重组分立、合并、国企改制(含事业单位改制)以及跨省变更的,申请重新核定资质的,需提供以下材料:

(四)按照中共中央办公厅、国务院办公厅《关于加快推进失信被执行人信用监督、警示和惩戒机制建设的意见》,重组涉及的原、新企业存在失信行为,不予办理重组、合并、分立事项。(中国执行信息公开网http://zxgk.court.gov.cn/shixin/)
11、具有设计资质的企业可以直接申请高等级的资质吗?
答:根据《关于印发房屋建筑和市政基础设施项目工程总承包管理办法的通知》(建市规〔2019〕12号)和《关于印发湖北省房屋建筑和市政基础设施项目工程总承包管理实施办法的通知》鄂建设规〔2021〕2号,已取得工程设计综合资质、行业甲级资质、建筑工程专业甲级资质,可以直接申请相应类别施工总承包一级、二级资质。
12、建筑业企业三级资质是否取消了?三级资质是否允许变更?
答:是的。根据国务院(国发〔2021〕7号)、住建部《住房和城乡建设部办公厅关于做好建筑业“证照分离”改革衔接有关工作的通知》(建办市〔2021〕30号)规定,省厅转发了上级文件(见《湖北省住建厅关于转发住房和城乡建设部办公厅关于做好建筑业“证照分离”改革衔接有关工作的通知》(鄂建办〔2021〕11号),我省自2021年7月1日起停止受理三级资质申请,以及三级资质分立、合并、重组、变更申请。
13、现有的三级资质是否继续有效?
答:三级资质在有效期内的继续有效。
14、哪些情况下,需考核安全生产许可证?
答:除首次申请外,增项、升级、重新核定、重组合并分立均需考核安全生产许可证。
15、申请企业系统操作中遇到困难,可以向哪个部门咨询?向哪个部门投诉举报?
答:系统操作可以向省建设信息中心咨询027-68873052;可向省住建厅信访中心投诉举报027-68873081、68873086。
16、持有试点地区下发的资质证书如何办理相关资质证书变更及资质许可事项?
答:按照《住房城乡建设部关于进一步加强建设工程企业资质审批管理工作的通知》 建市规〔2023〕3号规定,省级住房城乡建设主管部门在试点期间颁发的试点资质,在资质证书有效期届满前继续有效。企业办理资质证书变更、注销、遗失补办的,由省厅办理。
企业申请资质升级(含新申请),增项,延续以及发生重组分立、合并、跨省变更、国企改制(含事业单位改制)资质重新核定的,由住建部办理。申请上述事项前,企业需向省厅提交企业资质核查意见申请(申请模版文件见省住建厅《关于建设工程企业资质延续有关事项的通知》(厅头〔2023〕2441号)附件1,同时附营业执照及现有资质证书扫描件),由省厅审核后出具企业资质核查意见(具体格式附后)。

17、省厅核准的资质如何办理延续?
答:省厅核准的资质(不含审批权限下放试点期间颁发的资质),资质证书有效期于2024年6月29日前届满的,统一延期至2024年6月30日。企业应当在资质有效期届满前3个月内按有关资质管理规定和资质标准申请延续。
1、企业的净资产如何考核?
答:企业净资产就是企业所有者(即投资方或股东)权益,是指所有者在企业资产中享有的经济利益,其金额为资产减去负债后的余额,即企业年度财务报表中的“所有者权益”。所有者权益包括实收资本、资本公积、盈余公积和未分配利润等。
企业净资产以企业在申请资质前一年度或当期合法的财务报表为准考核(合法财务报表需经制表人、财务负责人、企业负责人签字并加盖企业行政公章)。首次申请资质的,以企业营业执照所载注册资本为准考核。
2、标准中要求的生产厂房,可以是租赁的吗?提供什么证明材料?企业具有多处厂房的,可以累计考核吗?
答:可以是租赁的。
标准中有明确要求的生产厂房,属企业自有的,需提供厂房面积符合要求的不动产权证等材料;属企业租赁的,需提供厂房面积符合要求的租赁协议和出租方的不动产权证等材料,且租赁到期日期应不早于企业资质申请受理之日。
企业具有多处厂房的(未限制外地厂房),可以累计考核。
3、标准中要求的设备,可以是租赁的吗?上级划拨的是否可以?提供什么证明材料?
答:不认可租赁设备。标准中明确要求的设备应为企业自有设备,需提供企业设备购置发票(除港口与航道施工总承包资质外)。上级单位划拨的应同时提供划拨或分割证明,否则不予认可。标准中对设备的规格、性能、数量有要求的,发票上不能体现的,企业应延伸提供相关证明材料,如设备使用说明书等。港口与航道施工总承包资质要求的设备,应提供所属权证明和检验合格证明。
认可企业购置的二手设备,但需提供由税务部门代开的设备购置发票。
1、企业主要人员包括哪些人员?同时受聘或注册在两家或以上企业的人员是否认可?
答:主要人员包括注册人员、职称人员(包括技术负责人)、技术工人等3类人员。现场管理人员考核要求已取消。同时受聘或注册于两家或以上单位的人员不予认定。
2、主要人员是否有年龄限制?
答:是的。资质申报相关主要人员须在60周岁及以下,且由申报单位为其缴纳社保。
3、对主要人员社保的考核范围、缴纳时间有何要求?
答:(一)考核全员社保,即技术负责人、注册建造师、职称人员、技术工人均需在申报单位参保。
(二)除首次申请考核申报前近1个月社保外,其他均考核申报前近3个月社保。如:企业4月提交首次申请,考核的人员至少需从3月开始缴纳;企业4月提交增项、升级、重新核定等申请,考核的人员至少需从1月开始缴纳。
用于申请资质的人员社会保险必须以申报企业或申报企业分支机构名义缴纳,上级公司、子公司、事业单位、人力资源服务机构等其他单位缴纳或个人缴纳社会保险均不予认定。
4、对于本单位主要人员同期在其他企业重复申报的情况,企业应提供哪些证明材料?
答:企业申报的主要人员,系统将自动识别一年内分别在哪些企业用于资质申报,对一年内三次及以上出现在不同企业资质申报材料中的人员,系统将标识为“异常人员”。审批机关将严格审查“异常人员”的工作经历、社保缴纳情况、与企业的真实劳动关系。
确为本公司在职人员的,提供在本公司3个月及以上的参保证明。
5、职称人员、技术工人是否需要提供证件资料?
答:首次申请、增项、重新核定总承包或专业承包二级资质时需要提供职称人员和技术工人的证件资料。职称人员需提供身份证和职称证,也可额外提供学历证书以甄别专业类别;技术工人需提供身份证和技能等级证书;企业资质升级不考核职称人员、技术工人。
6、技术负责人个人业绩是否要求上网备案?
答:省内个人业绩(不含交通、水利、通信工程业绩),由工程所在地县(市、区)或市州住建部门审核后录入“湖北省建筑市场监管一体化平台”,省内各建设工程企业资质审批部门予以认可。
省外涉及由有关专业部门配合实施审查的企业资质,相关业绩由有关专业部门确认。其它业绩在“全国建筑市场监管公共服务平台”备案A、B、C等级予以认定。
7、哪些是非有效个人业绩?
答:①在无施工资质的企业完成的个人业绩;②其它存在违法违规行为或发生质量安全事故的个人业绩;③保密业绩;④超注册执业范围的个人业绩;⑤在两个项目上同期担任项目经理的个人业绩。
8、标准中要求的“技术负责人(或注册建造师)主持完成的本类别资质一级标准要求的工程业绩不少于2项” 中的"项"如何理解?
答:2项业绩可以是满足标准要求的同类或不同类的业绩。
9、一家企业如果申请多项资质,如何明确技术负责人?是否满足最高等级的资质标准要求就可以了?
答:一家企业如果申请多项资质,企业应按所申请资质类别明确对应的1名专业技术负责人,而不是仅仅提交最高等级资质的技术负责人的相关资料。如果满足资质标准的要求,一人可以兼任多个专业的技术负责人。
10、注册执业人员是否必须注册在申报企业,是否可以注册在无建设工程资质的关联企业?资质申报时,是否需要提供相关证明材料?
答:1、注册执业人员必须注册在申报企业,注册在其他企业,包括申报企业的上级公司、下级公司、控股公司或参股公司,其注册执业资格均不予认可。2、资质申报时,无需提供相关证明材料,但系统申报时,需填报注册人员身份证、注册专业、等级信息。
11、企业申报材料中所列的个别注册执业人员存在重复注册问题,但剔除该注册执业人员后,企业注册执业人员数量仍然达标,其资质申请是否可以认可?
答:不可以。当申报企业存在注册执业人员重复注册违规问题没有纠正之前,不批准该企业的资质申请。
12、如果某一名注册建造师同时拥有建筑工程和机电工程两个专业,是否可以在建筑工程资质中作为两人申报?
答:不可以,在建筑工程资质中只能作为一人申报资质。但是如果企业同时申请建筑工程和机电工程资质时,该人员可以在两个资质中分别作为建筑工程建造师和机电工程建造师进行申报。
13、 企业申请多项资质,企业中的一个人具有两个及以上技术职称(注册资格)或专业工种的,能否可分别考核?
答:可以。如一个人同时具有建筑工程职称证书和道路工程毕业证书,可分别作为企业申请建筑工程和市政公用工程施工总承包资质要求的职称人员考核。
14、 企业主要人员中一个人如果同时拥有注册证书、职称证书、技术工人培训合格证书,如何认定?
答:一个人同时拥有注册证书和技术职称的,可同时作为注册人员和技术职称人员考核。但申报同一项资质时,注册人员或职称人员与技术工人不得重复申报。
15、如何认定资质标准中有明确要求的人员专业?
答:按照职称证或学历证书上载明的专业认定。如职称证书的专业与申报专业不一致,但是学历专业与申报专业一致时,需同时提供学历证书。
16、具有教学、研究等系列职称的人员可作为有职称人员申报么?
答:不可以。职称人员中如具有教学、研究等系列职称的人员从事建筑施工时,如讲师、副教授、教授、副研究员、研究员等的均不予认可。
17、乡镇企业评委会评审的职称证书可以使用么?
答:根据省人社厅《关于人员职称和社会保险有关问题的复函》(鄂人社函〔2012〕238号),原乡镇企业评委会评审的职称只在乡镇企业内有效。根据湖北省职称改革工作领导小组办公室《关于对原乡镇企业高级专业技术职务任职资格遗留问题的处理意见》(鄂职改办函[2015]95号),1995-2004年间,在省乡镇企业高级职称评审委员会评审通过取得的高级职称,现在我省民营企业中继续有效。
18、特种工程专业承包资质中的相应专业技术人员包括哪些?
答:建筑物纠偏和平移应为岩土和结构专业职称人员;结构补强应为结构专业职称人员;特殊设备起重吊装应为机械专业职称人员;特种防雷应为防雷专业职称人员。
19、标准中所列专业职称为简称的,企业提交职称证书或毕业证书显示的为全称或细化的,是否可以认可?
答:可以认可。如电气工程及其自动化可按电气专业职称认可;热能与暖通空调可按暖通专业职称认可;环境保护可按环保专业职称认可;冶金热能动力、冶金设计可按冶金专业职称认可;工业自动化可按自动化专业职称认可。
20、提供的技术职称人员的专业与标准要求的专业相近,能否申报认定?
答:提供的技术职称人员的专业与标准要求的专业相近,且资质许可部门认可的是可以申报的。如:《标准》中结构专业包括:土木工程、工民建、结构、建筑施工、建筑工程等专业;岩土专业包括:岩土工程、地下工程、水文地质工程、隧道工程、矿山工程、地质勘探与矿山等专业;机械专业包括:机械工程、自动化、机电工程、设备工程、自动控制、机械设计、机械制造、机械设备、机械电气等专业;焊接专业包括:焊接技术与工程、压力容器、金属材料、热工(热处理)、机械制造(制造工程)、锅炉、材料力学、材料科学与工程等专业;光源与照明专业包括:电光源、光电子技术科学、光电信息工程、光学、光学工程等专业。
21、技术工人的证书是哪里颁发的?
答:住房和城乡建设部、国务院有关部门、省级住房和城乡建设主管部门或有关部门认可的机构或建筑业企业颁发的职业培训合格证书或职业技能等级证书均予以认可。
22、技术工人证书上的工作单位要与申报单位一致么?
答:不需要。
23、《标准》中未对技术工人的专业做出规定,应申报什么专业的技术工人?
答:不对技术工人的工种进行考核。如:建筑工程施工总承包二级资质要求“经考核或培训合格的中级工以上技术工人不少于75人”是指持证的中级工至少75人,工种不限。
24、企业申请总承包资质时,是否可以用全资或控股的劳务企业中的技术工人进行申报?需要提供哪些证明材料?
答:可以。在资质申报材料的基础上还需提供全资或控股的劳务企业的企业章程,且技术工人的社保应由全资或绝对控股的劳务企业缴纳。
25、通信工程施工总承包资质要求的技术工人有专业要求么?
答:有。技术工人包括线务员、机务员、电工、焊接工等特种作业人员,以及具有计算机等级证书的工人。
1、代表工程是否可以申报省外业绩?
答:1)可以。
2)省外业绩由省厅函询工程业绩所在地省级住建或相应的厅级主管部门,核实业绩的真实性;对已经录入“全国建筑市场监管一体化平台”的A级业绩直接予以认定。
3)2024年1月1日起,申请资质企业的业绩应当录入全国、省平台,业绩存疑的,审查机关另行核实。申请由有关专业部门配合实施审查的企业资质,相关业绩由有关专业部门确认。
2、资质标准中要求有“近5年”(或“近10年”)的工程业绩,此处的“近5年”应如何理解?
答:“近5年”或“近10年”是指用于申请资质的工程业绩的有效期,有效期通常从申报当年的前一年逆推5年或10年,指自申请资质年度起逆推5年或10年期间竣工的工程业绩。如:申报年度为2023年,“近5年”的业绩是指2018年1月1日之后竣工验收的项目。超过时限的代表工程业绩不予认可。
3、用于申请资质的工程业绩,以什么时间为准来计算有效期?
答:以工程的竣工验收时间为准计算有效期。
4、违法分包或转包的工程业绩用于申请资质,是否认可?
答:均不予认可。
5、保密工程是否可以作为工程业绩申报?
答:不可以。
6、境外业绩如何认定?
答:企业以境外承包工程作为代表工程业绩的,无论其是否超越资质承包工程范围均可以申报。以我国政府驻外使馆(使馆经参处)、驻港澳联络办出具的文件为准。
7、用于申请资质的工程业绩,同时满足业绩标准中的两款条件,能否计算为两项业绩?
答:一项单位工程业绩同时满足多项技术指标的,只作为一项指标考核。《标准》中分别考核累计和单项技术指标的,同一工程业绩可同时考核,但铁路方面资质除外。
8、仅主体结构竣工验收的工程能否作为建筑工程施工总承包业绩申报?
答:不能。
9、企业业绩的证明资料有哪些?
答:中标通知书、施工合同、施工图、施工许可证、竣工验收证明、工程结算清单等。
10、申请资质需提供反映技术指标的施工图纸、工程结算单等材料吗?若需要,应提供什么样的材料才有效?
答:是,下列资料必查并应满足要求:
(一)凡资质标准中业绩指标涉及“层数”、“单体建筑面积”、“跨度”、“长度”、“高度”、“结构类型”等的,需要提供反映该项技术指标的图纸。图纸应为带图签的有效图纸,且图纸上应加盖有设计单位出图章及设计人员执业印章。
(二)凡资质标准中业绩指标涉及“单项合同额”、“工程造价”等的,需要提供合规的工程结算单。
11、以“单项合同额”作为业绩考核指标的业绩,是否以结算单为考核依据?
答:不是。以“单项合同额”作为业绩考核指标的,应在申报资料中提供结算单,当合同额与结算额不一致时以合同额作为考核依据。
12、同一工程分期发包,签订多个施工合同,按照“单项合同额”考核时,多个合同的合同额是否可以累加?
答:不可以。单项合同额是指一个承包合同所载合同价。
13、群体建筑是否可以按照“单体建筑面积”业绩来考?
答:不可以。依据住建部《关于简化建筑业企业资质标准部分指标的通知》(建市[2016]226号)规定,已取消单体建筑面积业绩考核指标。
14、按照“层数”指标考核的,设备层是否可以计算为一层?
答:不可以。建筑工程层数是指正负零到檐口之间的楼层数,其中,设备层不计算在内,跃层按单层计算。
15、竣工验收证明有什么要求?
答:单位工程验收、分部分项工程验收证明需加盖建设单位、设计单位(勘察单位)、施工单位、监理单位四方(五方)公章;消防专业承包业绩应提供主管部门消防验收合格证明;申报地基基础专业承包资质,考核单桩承受设计荷载指标的,需提供桩基检测报告等。
16、我公司申报的代表工程业绩所要求的技术指标在施工合同中已明确体现,还需提供图纸吗?
答:凡涉及层数、单体建筑面积、跨度、长度、高度、结构类型等方面指标的业绩,应提供反映该项技术指标的图纸。涉及其他方面指标的业绩,需在中标通知书、施工承包合同或竣工及质量证明材料能明确反映指标的,且反映指标的相同内容相对一致;不能明确反映指标的,需提供能反映该项技术指标的图纸或其他有效的证明材料。
17、申报的工程业绩需要提供图纸的,对图纸有哪些要求?
答:工程图纸至少应含图签、设计单位出图章,有些图纸按照相关要求还应包含注册人员签章等。1)提供的图纸能清楚有效反映代表工程业绩的技术指标;2)工程图纸至少应含图签、设计单位出图章,有些图纸按照相关要求还应包含注册人员签章等;3)图签中的工程项目名称、图纸名称、设计人员签字、出图时间、出图版本应是齐全、有效的;4)设计单位出图章和注册人员签章的编号应该一致;5)注册人员签章应按其专业签盖在相应专业图纸上;6)设计单位出图章和注册人员签章、印签章的有效期与图纸的出图时间均应符合相应逻辑关系。如出图时间为2010年11月,而注册结构师印章的有效期至2014年7月,则该图纸非有效图纸(注册结构工程师的注册有效期为3年,注册建筑师的注册有效期为2年,设计单位出图章有效期为5年)。
18、申报的代表工程业绩,工程合同中所注明的注册建造师非申报企业的可以认可?
答:不认可。企业申报的工程业绩中项目负责人在项目实施时存在非本企业注册建造师、不具备注册建造师资格、超越注册建造师执业范围执业,或违反有关规定同时在两个及以上项目担任项目负责人的,企业该项工程业绩不予认可。
19、配套工程可否单独作为企业施工总承包或专业承包资质的代表工程业绩申报?
答:配套工程不能作为有效业绩申报。
20、建筑工程中的轻钢、网架结构跨度业绩能否作为建筑工程施工总承包业绩申报?
答:不可以。
21、什么是超资质范围承接的工程?此类工程是否可以作为代表工程业绩?
答:超资质范围承接的工程是指超越本企业资质等级中工程承接范围的工程,包括不是在企业所取得的资质等级所对应的承包工程范围内的、超出所取得资质等级时间的、超出所取得的资质等级有设限要求的等。此类工程不能作为代表工程业绩申报。但企业以境外承包工程作为代表工程业绩的,无论其是否超越资质承包工程范围均可以申报。
22、重组、分立后的企业再申请资质申报代表工程业绩的,原企业完成的工程业绩可以认可吗?
答:重组、分立后的企业再申请资质的,只对企业重组、分立后承接的代表工程业绩予以认可;合并后的新企业再申请资质的,原企业在合并前承接的工程可以作为代表工程业绩申报。
23、我公司申请资质升级,标准要求代表工程业绩2项,我公司可以申报4项吗?
答:资质审批机关对企业多申报的业绩不予考核;按企业资质申请表中的排序审查,超出标准数量要求以外的业绩不予考核。如:建筑装修装饰工程专业承包一级要求“近5年承担过单项合同额1500万元以上的装修装饰工程2项,工程质量合格。”企业申报了4项工程业绩,则只根据企业资质申请表中的排序审查前2项业绩,超出标准数量要求以外的业绩不予考核。
1、委托审查后,省厅将如何监管审批事项?
答:(一)定期开展批后检查。省厅对市州、市州对所辖县(市、区)的审批管理工作定期开展监督检查。对已经核实的业绩按一定比例采取“双随机、一公开”形式抽查;对委托审查的资质,每月按一定比例在省厅资质审批平台上抽查。对审批工作监管不到位、业绩核实及审查工作把关不严等的部门给予通报批评,直至暂停或取消相应权限资格。
(二)加强企业信用管理。各级住建部门要建立健全企业诚信档案,记录并向社会实时公开工程建设项目的施工许可证、质量安全监管、竣工验收等各环节信息,对信誉良好企业给予信用激励;对存在“三包一挂”等违法违规行为、发生质量安全责任事故或存在重大质量安全隐患未及时整改的企业和人员,要及时录入“湖北省建筑市场监管一体化平台”,依法对社会公开发布,并推送至“全国建筑市场监管一体化平台”,相关企业列入诚信记录“黑名单”,并对其资质作出限制。
(三)严格企业人员实名制管理。企业的技术负责人、注册人员、质量和安管人员数量,必须动态满足国家和省相关规定。企业上述人员出现不足,“湖北省建筑市场监管一体化平台”系统将自动预警,提醒企业整改。
(四)严肃查处弄虚作假行为。申报企业存在以虚构、造假等欺骗手段取得资质的,依法撤销其相应资质,3年内不得再次申请相应建设工程企业资质,因资质撤销产生的一切风险及法律后果由申请人承担。在业绩核实、资质审查、动态监管中玩忽职守、行贿受贿的部门、人员,由同级纪检监察部门调查处理,涉嫌犯罪的移交司法机关。
(五)严厉打击买卖资质。重组、分立、合并、跨市州变更资质等事项,涉及变更的双方企业的净资产、人员等应达到现有资质标准要求;对涉嫌买卖资质的企业,依法暂停办理所有资质审批事项,经调查核实的,依法撤回相关资质。
(六)重罚工程质量安全事故责任企业。建设工程企业取得资质证书后,对存在重大安全隐患的,工程所在地住建部门责令其限期改正,不及时整改的应当依法责令其停业整顿、降低其资质等级直至吊销资质证书;对发生一般、较大质量安全事故的责任企业,依法责令停业整顿;对发生重大质量安全事故的责任企业,依法降低企业资质等级;对发生特别重大质量安全事故的责任企业,依法吊销企业资质证书。
2、建筑业企业资质需要年检吗?
答:依据建设部《关于工程勘察、设计、施工、监理企业及招标代理机构资质申请及年检有关问题的通知》(建办市函[2005]456号)规定,建筑业企业资质不需要年检。但按照《住房城乡建设部关于建筑业企业资质管理有关问题的通知》(建市[2015]154号)要求,主管部门将适时对本地区取得建筑业企业资质的企业是否满足资质标准条件进行动态核查。企业被举报或有其他特殊情况,也将被专项稽查。
3、监督检查人员在履职时有权采取的措施是什么?
答:住房城乡建设主管部门、其他有关部门的监督检查人员履行监督检查职责时,有权采取下列措施:
(一)要求被检查企业提供建筑业企业资质证书、企业有关人员的注册执业证书、职称证书和考核或者培训合格证书,有关施工业务的文档,有关质量管理、安全生产管理、合同管理、档案管理、财务管理等企业内部管理制度的文件;
(二)进入被检查企业进行检查,查阅相关资料;
(三)纠正违反有关法律、法规和本规定及有关规范和标准的行为。
4、被检查企业应该如何配合检查?
答:有关企业和个人对依法进行的监督检查应当协助与配合,不得拒绝或者阻挠。
5、资质被撤回的企业,是否可以再次申请建筑业企业资质?
答:被撤回建筑业企业资质证书的企业,可以在资质被撤回后3个月内,向资质许可机关提出核定低于原等级同类别资质的申请。逾期不申请的,从最低等级资质申请。
6、什么情况资质许可机关应当撤销建筑业企业资质?
答:有下列情形之一的,资质许可机关应当撤销建筑业企业资质:(一)资质许可机关工作人员滥用职权、玩忽职守准予资质许可的;(二)超越法定职权准予资质许可的;(三)违反法定程序准予资质许可的;(四)对不符合资质标准条件的申请企业准予资质许可的;(五)依法可以撤销资质许可的其他情形。以欺骗、贿赂等不正当手段取得资质许可的,应当予以撤销。
7、什么情况资质许可机关应当注销建筑业企业资质?
答:有下列情形之一的,资质许可机关应当依法注销建筑业企业资质,并向社会公布其建筑业企业资质证书作废,企业应当及时将建筑业企业资质证书交回资质许可机关:(一)资质证书有效期届满,未依法申请延续的;(二)企业依法终止的;(三)资质证书依法被撤回、撤销或吊销的;(四)企业提出注销申请的;(五)法律、法规规定的应当注销建筑业企业资质的其他情形。
8、对资质申报中提供虚假材料申请建筑业企业资质的行为如何处理?
答:申请企业隐瞒有关真实情况或者提供虚假材料申请建筑业企业资质的,资质许可机关不予许可,并给予警告,申请企业在1年内不得再次申请建筑业企业资质。
9、对取得资质后发现弄虚作假行为的如何处理?
答:企业以欺骗、贿赂等不正当手段取得建筑业企业资质的,由原资质许可机关予以撤销;由县级以上地方人民政府住房城乡建设主管部门或者其他有关部门给予警告,并处3万元的罚款;申请企业3年内不得再次申请建筑业企业资质。
10、企业未按照《建筑业企业资质管理规定》及时办理建筑业企业资质证书变更手续的怎么处理?
答:企业未按照《建筑业企业资质管理规定》及时办理建筑业企业资质证书变更手续的,由县级以上地方人民政府住房城乡建设主管部门责令限期办理;逾期不办理的,可处以1000元以上1万元以下的罚款。
11、企业在接受监督检查时不配合怎么处理?
答:企业在接受监督检查时,不如实提供有关材料,或者拒绝、阻碍监督检查的,由县级以上地方人民政府住房城乡建设主管部门责令限期改正,并可以处3万元以下罚款。
来源 |湖北省住房和城乡建设厅
校对 | 吴康妮
编辑 | 陈 辰
审核 | 胡莹莹




