剑鱼标讯整合全国智慧农业领域招投标数据,制作以下市场分析报告,帮助您的市场决策和拓展。
分析说明
报告来源:剑鱼标讯
行业报告类别:智慧农业行业
分析范围:全国
分析时间范围:2023全年

分析报告详情
1.市场概况
根据剑鱼标讯统计,2023年,全国智慧农业领域招投标项目成交总数为1012个,环比上年增长25.25%;中标总金额94.61亿,环比上年增长66.91%;中标项目平均金额934.96万,环比上年增长33.26%;
市场主体方面,本年中标企业总数为822家,环比上年增长28.64%;完成招标采购的采购单位总数587家,环比上年增长8.3%;

2.项目规模分布
2023年,全国智慧农业领域招投标项目金额落在100万-500万的项目最多,占项目总量的28.62%。项目金额落在≥1亿的项目总金额最高,占总项目金额的64.81%。项目金额结构占比如下图:

项目金额≥1亿的项目数量为:18个;
项目金额1000万-1亿的项目数量为:68个;
项目金额500万-1000万的项目数量为:59个;
项目金额100万-500万的项目数量为:243个;
项目金额50万-100万的项目数量为:122个;
项目金额10万-50万的项目数量为:174个;
项目金额<10万的项目数量为:165个;

附本年项目规模前10的项目名称,项目金额,成交时间以及相应中标单位信息:
1、青岛现代智慧农业孵化中心(河北临西分区)项目(EPC设计、施工总承,项目金额76294.56万元,2023-01-03成交,中标单位是:中交第二公路工程局有限公司;
2、中国(绵阳)智慧农业应用产业园项目,项目金额65397.10万元,2023-12-08成交,中标单位是:中晟升博集团有限公司、晨越建设项目管理集团股份有限公司、四川现代建设咨询监理有限公司;
3、临猗县现代智慧农业项目,项目金额60271.90万元,2023-02-11成交,中标单位是:中交一公局集团有限公司;
4、中科合肥智慧农业协同创新研究院项目总承包施工,项目金额51465.92万元,2023-01-08成交;
5、聊城市东昌府区100MW智慧农业教育光伏综合示范项目EPC总承包,项目金额48903.82万元,2023-06-30成交,中标单位是:中国葛洲坝集团电力有限责任公司;
6、黄冈市智慧农业蔬菜种植示范园建设项目,项目金额43873.06万元,2023-02-24成交,中标单位是:寿光市华跃农业科技有限公司;
7、烈山区古饶智慧农业产业园设计施工总承包项目,项目金额38362.04万元,2023-01-17成交,中标单位是:江苏利亨源建筑工程有限公司;
8、黄冈市智慧农业蔬菜种植示范园项目四期项目,项目金额37184.14万元,2023-05-30成交;
9、保供能力体系建设项目(二期)(食用菌)原产地智慧农业生产设备设施项目监理(巴中市城市"菜篮子工程"应急保供能力体系建设项目(二期)(食用菌)原产地智慧农业生产设备设施项目监理(项目名称)监理,项目金额35000万元,2023-01-11成交,中标单位是:四川同创建设工程管理有限公司;
10、北京兴盛达智慧农业产业中心项目,项目金额22780.11万元,2023-08-11成交,中标单位是:北京新兴达信建筑工程有限公司;
3.项目所在省份分布
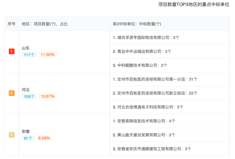
本年,全国智慧农业领域招投标项目数量方面,山东、河北、安徽中标项目较多,分别达到117个、108个、93个,前3个省份占全国智慧农业领域项目数量的31.42%。

4.项目所在城市分布
以山东为例:
本年,山东智慧农业领域招投标项目数量方面,德州市、青岛市、滩坊市中标项目较多,分别达到17个、17个、13个,前3个城市占山东智慧农业领域项目数量的40.17%。

项目数量前3个地区重点中标单位

5.客户分布
本年,全国智慧农业领域招投标项目中,农林牧渔以179个项目占据采购数量 榜首,农业、政府办紧随其后,分别为135个、123个,前3类客户采购量占全部项目数量的43.18%。各类客户采购项目数量分布如下图:

以上市场分析报告为部分内容
更多分析报告内容还包括
1、【全国】【智慧农业】 项目规模 TOP10;
2、【全国】【智慧农业】 项目数量 TOP3 地区的重点中标单位;
3、【全国】【智慧农业】 项目金额 TOP3 地区的重点中标单位;
4、【全国】【智慧农业】 项目数量 TOP3 客户类型的重点中标单位;
5、【全国】【智慧农业】 项目金额 TOP3 客户类型的重点中标单位;
6、【全国】【智慧农业】 细分市场的重点中标单位-项目数量;
7、【全国】【智慧农业】 细分市场的重点中标单位-项目金额;
8、【全国】【智慧农业】 采购单位采购规模分布;
9、【全国】【智慧农业】 项目数量 TOP30 采购单位及其重点合作中标单位;
10、【全国】【智慧农业】 采购金额 TOP30 采购单位及其重点合作中标单位;
11、【全国】【智慧农业】 中标单位中标规模分布;
12、【全国】【智慧农业】 项目数量 TOP30 中标单位及其重点合作采购单位;
13、【全国】【智慧农业】 中标金额 TOP30 中标单位及其重点合作采购单位;



