手机版
二维码
购物车
(
0
)
供应
求购
公司
团购
展会
资讯
招商
品牌
人才
知道
专题
图库
视频
下载
商圈
推广
热搜:
采购方式
甲带
滤芯
气动隔膜泵
减速机
带式称重给煤机
履带
减速机型号
链式给煤机
无级变速机
首页
供应
求购
公司
团购
展会
资讯
招商
品牌
人才
知道
专题
图库
视频
下载
商圈
首页
>
资讯
>
机械设备
综述丨储水医疗设备相关医院感染暴发 (Ⅱ)
日期:2023-09-08 19:38:34 来源:网络整理 作者:本站编辑
评论:0
"
团队介绍:江苏省中医院感控循证团队
江苏省中医院感染管理办公室现有专职人员10人,背景专业包括临床、护理、公卫等。将报道医院感染暴发处理相关资讯与案例,欢迎关注。
"
检索:芮丽(江苏省中医院)
编译:雷晓婷
芮丽
(江苏省中医院)
该研究检索了 40 年间(1980 年 1 月至 2019 年 12 月)储水医疗设备相关感染暴发文献,包括心肺转流热交换水箱、血液透析滤过装置、新生儿保温箱、口腔综合治疗台水路、温液仪、雾化器、呼吸机集水杯、水浴箱等。研究总结了每类储水医疗设备的功能、污染的原因、所导致感染,并提出预防此类感染暴发的策略。
PART
1
心肺转流热交换水箱
单
击查看
第一部分
PART 2
血液透析设备
设备功能与可能污染的原因
血管通路反复开放,会增加透析患者血液感染的风险。导管护理不足、供水污染、膜完整性缺陷、透析器复用均为风险因素。透析液不需要无菌,但为了减少血液感染的风险,其含菌量应低于一定限值。
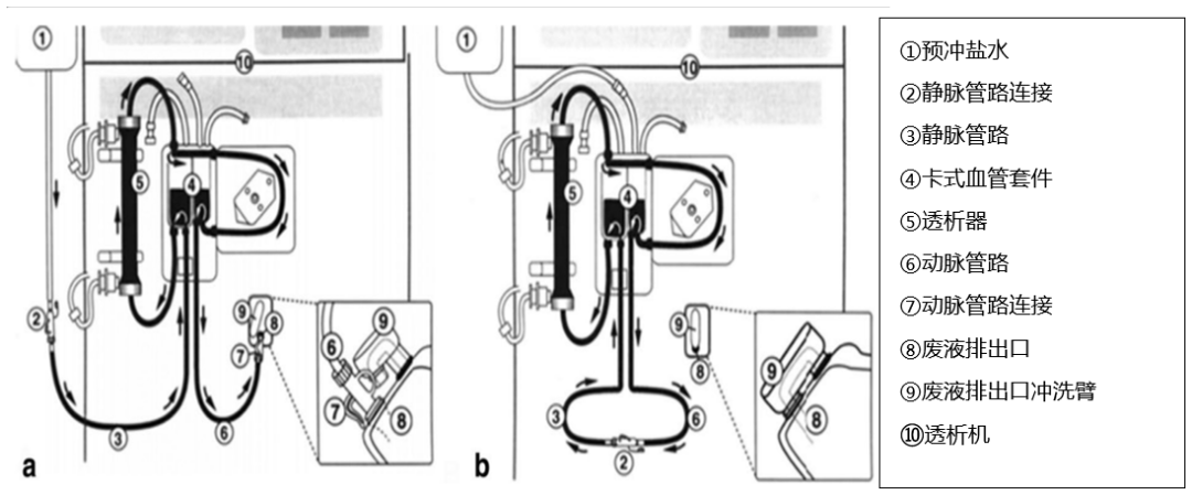
革兰氏阴性菌和非结核分枝杆菌是透析液主要的水源性污染微生物。铜绿假单胞菌和洋葱伯克霍尔德氏菌也经常被检出。这些细菌可形成生物膜,并借此附着在透析液容器或软管表面。以反渗透(RO)为中心的水处理过程可去除化学污染物和微生物污染物(图 1)。
▲图 1 血液透析系统示意图。a 预冲盐水循环通路示意。b 预充后管道循环示意。
共有 11 例透析相关暴发报道,多数与血透单元相关,患者感染缘于消毒不足导致透析液化学和微生物污染超标。
此外,处理过的水通常先存于水箱中,再分配给透析机。水流停止可导致管道系统水被细菌污染。其它污染与清洗不充分导致反渗管接头泄漏有关。能形成生物膜的细菌和其它微生物可能由此进入水系统。众所周知,管道接头处是系统的关键部分,也是生物膜形成的场所。
感染控制
合理复用透析器。与血液透析机相关的暴发中,有一半可能是缘于复用透析器。重复使用透析器一方面减少了透析器首次使用时环氧乙烷过敏的发生,另外也是出于经济原因。而再处理或重复使用透析器,也可能更容易受到水污染,这一点应加以考虑。
防止废液回流。血液透析过程中最多见的感染控制问题包括:透析操作过程错误、从废液排出口回流至血管、透析液交叉污染和未检测到的膜泄漏。某些品牌的透析机设计有废液排出口,目的是在患者使用透析机之前,处理冲洗透析器的生理盐水,有三篇文献观察到由这些端口引起的暴发(见表 1)。
▼表 1 血液透析相关医院感染暴发报道
有文献发现,用中心静脉导管(CVC)代替动静脉瘘透析是发生这类感染的一个危险因素,因为这样会引起废液排出端口和中心静脉导管的交叉污染。
一方面是由于废液很可能从排放管倒流进入废液排出口,而废液排出口营养丰富的环境又利于细菌生长。另一方面,这类废液排出口至少有两条途径连接血管,由于管路的联通,或工作人员无意中将接口连接错误,都可能造成回流而交叉感染。
透析液进入透析器之前经过超滤膜,可以有效防止透析液的微生物污染。厂商建议的常规每周消毒可能无法去除潜在的生物膜,而且无法对废液排出口外缘和废液排出口冲洗臂的顶端进行消毒。有些透析机的透析管路、废液排出管道连接器边缘和顶端都彼此接近甚至接触,透析管路的交叉污染很容易发生。
还有研究表明,使用菌落数 <0.1 CFU/ mL,内毒素 <0.03 IU/mL 的超纯水,炎症反应显著降低,可作为减少透析相关感染暴发的一种解决方案。
PART 3
NICU 和新生儿暖箱
设备功能与可能污染的原因
新生儿暖箱为早产儿提供了温暖的环境,能增加早产儿存活机会。暖箱湿化可降低蒸发速率,减少蒸发热损失。暖箱加湿室包含一个蓄水槽(通常使用蒸馏水)和一个加热元件,水受热时发生蒸发,新鲜空气通过加湿室后被加温加湿(见图 2)。
▲图 2 新生儿暖箱举例
之后将湿热的空气从热通风口吹入暖箱。
暖箱内温暖潮湿,是微生物理想的生长之地。
有 7 篇文献报道了与新生儿暖箱的水箱有关的暴发(表 2)。
▼表 2 医院新生儿暖箱相关感染暴发
感染控制
严格遵照厂家说明书规范使用暖箱。有案例报道,由于在新生儿暖箱的加湿器中加入自来水,而不是说明书推荐的蒸馏水,引起铜绿假单胞菌暴发,导致 8 名新生儿发生血流感染,其中 2 名死亡。
更新暖箱设计。利用浸入式加热器先将少量水烧开,然后再将湿度散发到暖箱的空气循环中,这样就能以气体状态给新生儿提供无菌湿度,而且空气中不会有水滴成为微生物的载体。传统的加湿系统在加热装置远端安装了管道,将蒸汽通过管道输送至暖箱,这种管道会使水蒸气重新凝结成液态,从而成为细菌生长的储藏室,如果采用新的设计,可以通过不同的管道放置方式解决这个问题。
使用高效空气微粒过滤器(high-efciency particulate air,HEPA)。HEPA 装置可以最大限度地减少微生物污染,消毒后的暖箱应用透明塑料布包裹并存放起来。
未完待续
文献来源:
Wing-Kee Yiek, Olga Coenen, Mayke Nillesen, et al. Outbreaks of healthcare-associated infections linked to water-containing hospital equipment: a literature review[J]Antimicrob Resist Infect Control . 2021 May 10;10(1):77. doi: 10.1186/s13756-021-00935-6.
题图https://p1.ssl.qhmsg.com/t017a6307eec2ab1536.jpg
打赏
更多
>
同类资讯
• 欢迎光临《2026第28届上海电机展
0
条
相关评论
推荐图文
推荐资讯
点击排行
0
1
螺旋纹窑变砂锅:细节戳中炖菜党
0
2
寻找做消防设备的工厂
0
3
高效FPC加工设备,助力企业腾飞
0
4
爱与祝福|藏地牦牛毛吉祥结
0
5
开等!大等特等??
0
6
跨境职位中企公司生产车间自动化、仪表工
0
7
挑战厂区
0
8
叉车采购
0
9
小红书上找客户
网站首页
|
关于我们
|
联系方式
|
使用协议
|
版权隐私
|
网站地图
|
排名推广
|
广告服务
|
积分换礼
|
网站留言
|
RSS订阅
|
违规举报
|
皖ICP备20008326号-18
(c)2008-2022 免费发布网 All Rights Reserved