随着科学技术的不断发展及各应用领域的拓展,激光加工技术正逐步渗透到各行各业中并成为重要的加工工具。在激光器的应用中,千瓦级MOPA(Master Oscillator Power-Amplifier)激光器由于峰值功率高、穿透力强、热影响低等优势,广泛应用于材料加工、科研实验等领域,是帮助企业提质增效的理想工具。但正是其功率高,要想发挥好千瓦级MOPA激光器的最大加工功效,配件的选择至关重要。只有选用了合适的激光配件,才能确保激光器能够稳定且高效地工作,更好地满足各种应用需求。
千瓦级MOPA量产,性能技术指标高
能够稳定量产千瓦级单模MOPA激光器是衡量一个公司MOPA激光器研发生产制造实力的重要表现,光至科技在多轮产品迭代并投入市场经过检验后,已成为全球千瓦级MOPA激光器的主要供应商之一。
光至科技推出多版本1000W高功率MOPA光纤激光器能多维度满足各类应用场合的加工需求。

光至科技千瓦级MOPA系列主要产品
功率稳定性高

光束质量可控

端面泵浦信号耦合技术,更加精细合理的能级分配,独特的生产盘绕工艺,加上具备优良热透晶体的单模高功率准直隔离器,输出功率达1000W的同时,还能保证优异的光束质量。
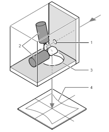
在光纤激光器加工领域,特别是高功率MOPA纳秒脉冲光纤激光器的加工,因其峰值功率高、脉冲能量大、频率高,对于配件的选择尤其重要,影响高功率脉冲激光加工效果的主要配件包括扫描振镜、聚焦场镜和反射镜。
扫描振镜如何选?
振镜扫描技术的努力方向是完成高速度、高精度的扫描任务,其决定因素主要有两方面,一个是可实现高速度、高精度的控制系统,另一个则是响应速度更快的振镜扫描器。振镜的结构主要包括反射镜、电机和驱动卡三部分,其中镜片对加工的稳定性至关重要。


扫描振镜的热管理系统,也是保证长期加工稳定性的重要因素。温度差会导致振镜产生漂移,降低定位精度,典型数值如下,通过水冷主动散热方式,可以提高30%的长期加工稳定性。


无水冷装置振镜温度梯度 水冷结构作用下振镜温度梯度
水冷装置可以有效带走热量,确保振镜长期稳定运行。主要技术手段为通过冷却水道的优化设计,获得低紊流冷却水流场,设计高效外部热交换装置结构等。
千瓦级高功率MOPA脉冲激光系统中,推荐选用高质量的石英镜片和带水冷系统的振镜系统。
聚焦场镜如何选?
场镜是把准直的激光束聚焦于一点,提高激光光束的能量密度,利用激光的高能量对材料进行各种切割、打标、焊接、清洗及表面处理等各种材料加工。
场镜的因素影响到加工质量及效果的主要方面在于场镜的材质及所配的转接圈的高度。场镜的材质主要有玻璃和石英,两者的区别在于对高功率的热透镜效应,聚焦场镜受激光束连续照射较长时间后,由于温度升高产生热变形,进而引起透过型光学元件的折射率和反射型光学元件的反射方向发生变化,热透镜效应的产生会对激光的模式和聚焦后的焦点位置产生影响,进而严重影响加工效果。石英的热膨胀系数低,透过率高,是高功率场镜较优的材质选择,必要的时候还要增加水冷模块。

场镜匹配振镜的转接环也是影响设备及加工的重要因素,合适的转接环高度可以避开场镜的后返点,还能保证加工的幅面。若过高或过低都会带来相应的问题。

千瓦级高功率MOPA脉冲激光系统中,我们强烈推荐选用带水冷模块的高质量石英场镜并配合适高度的场镜专用转接圈。
反射镜片如何配?
反射镜片在光路结构中主要作用是改变光路方向,选用质量好的反射镜片及规范的安装方式能在一些特殊应用中发挥较大作用,但质量差的镜片及不合理的安装方式也会带来新的问题。镜片的材质特性是由激光的波长和功率决定的,其衬底一般采用熔融石英或晶体硅制成,激光反射膜一般采用银膜或透明电介质膜,具有反射率大、吸收率小、耐激光破坏阈值高的特点。
理想的平面反射镜不会对聚焦质量造成影响,但在实际使用中,有可能因为螺丝固定等张力因素导致反射平面变形类似柱面镜,畸变主要影响聚焦光斑质量,带来像散等低阶像差,使聚焦光斑不能达到衍射极限,影响加工质量及效果。

千瓦级高功率MOPA脉冲激光系统中,推荐选用高质量石英反射镜并选择合适的安装方式保证镜片受力而不变形。



