
专利招商推介——照明设备、医疗和实验设备类
受委托,我公司对一批专利进行招商推介,详情如下:

01
照明设备类
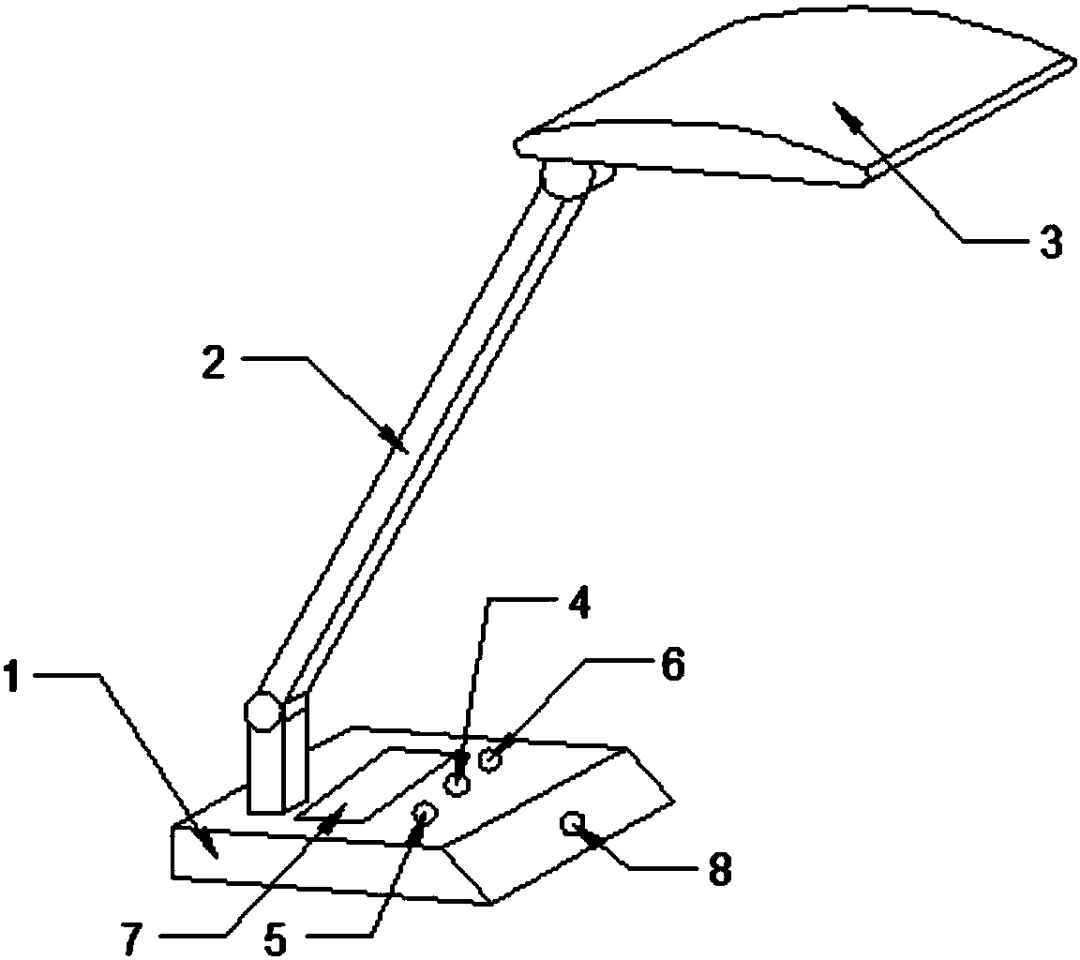
1.一种具有坐姿监测功能的台灯
申请日:2015-08-07
申请号:CN201520592439.8
公开(公告)号:CN204901502U
公开(公告)日:2015-12-23
摘要:一种具有坐姿监测功能的台灯,一种具有坐姿监测功能的台灯,包括有底座,通过支架与所述底座相连的灯罩,所述的灯罩内安装有用于照明的LED灯,所述LED灯通过贯穿支架内的导线连接设置在所述底座内的控制电路,所述的底座上分别设置有电源开关和亮度调节开关,所述的底座上还设置有分别与内部的控制电路相连的姿态检测开关、图像采集装置和SET键。本实用新型的一种具有坐姿监测功能的台灯,图像采集装置可以采集台灯用户的上半身图像,得到用户眼睛到桌面的距离,以及头部和肩部的姿态信息,并给予语音提示。还集成有音频和网络接口,具备语音合成和联网等功能。本实用新型可以帮助青少年用户纠正错误坐姿,达到预防近视或保护骨骼健康的作用。

2.一种多功能台灯
申请日:2016-07-01
申请号:CN201620694561.0
公开(公告)号:CN205877845U
公开(公告)日:2017-01-11
摘要:本实用新型创造提供了一种多功能台灯,多功能台灯包括底座,支架和灯罩,所述底座与灯罩通过支架连接,所述灯罩内安装有LED灯,所述LED灯通过贯穿支架内的导线连接设置在底座内的控制电路,所述底座上设置有电源开关,所述底座上还分别设置有与底座内部的控制电路相连的坐姿检测器、第一红外传感器、第二红外传感器和显示屏。本实用新型创造所述的多功能台灯及其控制方法,采用双红外控制方法,改变台灯的操控方式,增加台灯的功能。

3.儿童智能台灯(Q1)
申请日:2017-11-30
申请号:CN201730602877.2
公开(公告)号:CN304579985S
公开(公告)日:2018-04-10
摘要:1.本外观设计产品的名称:儿童智能台灯(Q1)。2.本外观设计产品的用途:本外观设计产品用于提醒坐姿、学习时长、统计学习情况、鼓励学习表现、分享学习数据的一款照明智能台灯。3.本外观设计产品的设计要点:产品的形状。
02
医疗和实验设备类
1.佩戴式负氧离子净化器(增强续航版)
申请日:2021-02-26
申请号:CN202130108998.8
公开(公告)号:CN306762902S
公开(公告)日:2021-08-17
摘要:1.本外观设计产品的名称:佩戴式负氧离子净化器(增强续航版)。2.本外观设计产品的用途:一种空气净化设备。3.本外观设计产品的设计要点:在于形状。4.最能表明设计要点的图片或照片:主视图。

2.佩戴式负氧离子净化器(消毒杀菌增强版)
申请日:2020-12-11
申请号:CN202030764821.9
公开(公告)号:CN306514562S
公开(公告)日:2021-05-04
摘要:1.本外观设计产品的名称:佩戴式负氧离子净化器(消毒杀菌增强版)。2.本外观设计产品的用途:一种空气净化设备。3.本外观设计产品的设计要点:在于形状。4.最能表明设计要点的图片或照片:立体图

有意者请与我司联系
联系人:刘经理 电话:13256653839
孙经理 电话:13521479975
点拍科技有限公司
2023年9月1日


