箱体类零件较复杂,主视图的摆放要符合其在机器上的工作位置,一般需要三个或更多的基本视图。
对于同一零件,通常可有几种表达方案,且往往各有优缺点,需全面地分析、比较。
总之,选择视图时,各视图要有明确的表达重点,所选的视图既表达清楚、完整,又便于看图。
轴、套类零件多用于传递动力或支撑其他零件,如轴、套桶、衬套、套管、螺杆等。
(1) 轴、套类零件的结构特点和加工方法
它们主要由大小不同的圆柱、圆锥等回转体组成。轴、套类零件多在车床、磨床上加工。由于设计、加工或装配上的需要,此类零件常有倒角、螺纹、退刀槽、键槽、销孔和平面等结构。
(2) 视图选择
轴、套类零件用一个轴线水平放置的主视图和数量适当的断面图、局部放大图来表达。主视图轴线水平放置既符合零件视图选择的特征原则,也与其工作位置和加工位置一致。

盘、盖类零件的主体部分多为同轴回转体,也有主体为方形和其他形状的,且径向尺寸较大,轴向尺寸较小。零件上常有轴孔、沿圆周分布的孔、肋板、槽和齿等结构,如图3-8所示。

盘、盖类零件通常用两个基本视图来表达,主视图为通过轴线的全剖视图,轴线水平放置,符合其加工位置。对有些不以车床加工为主的零件,主视图可按其形状特征和工作位置确定。
叉、架类零件包括各种用途的拨叉、连杆、支架等。拨叉、连杆、拉杆主要用于机器操纵系统等各种机构中,支架主要起支撑和连接作用。这类零件的毛坯多为铸造或锻造件。
(1) 结构特点
多数叉、架类零件均由工作部分、安装部分和连接部分组成。工作部分一般是对相关零件施加作用的部分,如支架上的空心圆柱部分。支架的矩形的安装底板上有安装孔,用来进行支架的定位和连接。支架上的支撑板将支架的工作部分和安装部分连接起来。在支架类零件的构形设计时,一般先构造出零件的工作部分和安装部分,再添加连接部分。

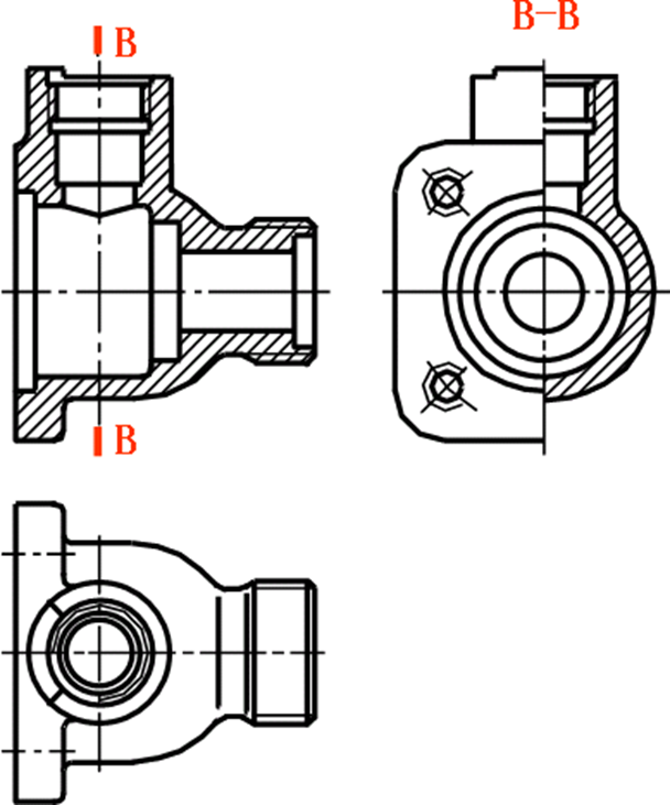
箱体类零件包括泵体、阀体、机座和减速箱体等,箱体类零件多为铸造件,是组成机器或部件的主要零件。通常起支撑、容纳、定位和密封。
箱体类零件的主体结构按功能需要差异很大,但多是中空的壳体,具有较大的内腔,内腔的形状要根据箱体所包容零件的形状和运动轨迹来确定。箱体上运动件的支持部分是轴承孔,在轴承孔的端面有安装端盖的平面和螺孔等局部功能结构。
箱体类零件结构复杂,加工工序复杂,每个工序加工位置不尽相同。在选择主视图时一般按其工作位置和形状特征来确定。为表示出箱体复杂的内部形状和外部形状,要有足够数量的剖视图和外形图。细部结构可用局部视图和局部放大图来补充表示。





