1200+安全视频快速查询、即刻下载!必备收藏!
4700+安全资料快速查询、即刻下载!必备收藏!
搅拌器是反应釜关键部件之一,根据釜内不同介质的物理学性质、容量、搅拌目的等选择相应的搅拌器,对促进化学反应速度、提高生产效率能起到很大的作用。
掌握搅拌器的分类及适用场合有助于选择合适的搅拌器,达到更好的反应效果!

反应釜是广泛应用于石油、化工、橡胶、农药、染料、医药、食品,用来完成硫化、硝化、氢化、烃化、聚合、缩合等工艺过程的压力容器。


反应釜由釜体、釜盖、夹套、搅拌器、传动装置、轴封装置、支承等组成。
1. 反应釜的壳体
壳体由圆形筒体,上盖、下封头构成。上盖与筒体联接有两种方法,,一种是盖子与筒体直接焊死构成一个整体;另一种形式是考虑拆卸方便,可用法兰联接。上盖开有人孔、手孔和工艺接管等。
2. 反应釜的搅拌装置
在反应釜中,为加快反应速度、加强混合及强化传质或传热效果等,反应釜一般都装有搅拌装置。它由搅拌器和搅拌轴组成,用联轴器与传动装置连成一体。
3. 反应釜的密封装置
在反应釜中使用的密封装置为动密封结构,主要有填料密封和机械密封两种。

1. 反应釜搅拌器的作用
使物料混和均匀,强化传热和传质,包括均相液体混合;液-液分散;气-液分散;固-液分散;结晶;固体溶解;强化传热等。
2. 反应釜搅拌原理

搅拌器是实现搅拌操作的主要部件,其主要的组成部分是叶轮,它随旋转轴运动将机械能施加给液体,并促使液体运动。
搅拌器旋转时把机械能传递给流体,在搅拌器附近形成高湍动的充分混合区,并产生一股高速射流推动液体在搅拌容器内循环流动。

由桨叶、键、轴环、竖轴所组成。桨叶一般用扁钢或不锈钢或有色金属制造。桨式搅拌器的转速较低,一般为20~80r/min。
桨式搅拌器直径取反应釜内径Di/3~2/3,桨叶不宜过长,当反应釜直径很大时采用两个或多个桨叶。
主要应用:桨式搅拌器适用于流动性大、粘度小的液体物料,也适用于纤维状和结晶状的溶解液,物料层很深时可在轴上装置数排桨叶。折叶式比平直叶式功耗少,操作费用低,故折叶桨使用较多。
桨式搅拌器不能用于以保持气体和以细微化为目的的气—液分散操作中。

推进式搅拌器,搅拌时能使物料在反应釜内循环流动,所起作用以容积循环为主,剪切作用较小,上下翻腾效果良好。当需要有更大的流速时,反应釜内设有导流筒。
标准推进式搅拌器有三瓣叶片,其螺距与桨直径d相等。推进式搅拌器直径约取反应釜内径Di的1/4~1/3,300~600r/min,搅拌器的材料常用铸铁和铸钢。

涡轮搅拌器速度较大,300~600r/min。直叶和弯叶涡轮搅拌器主要产生径向流,折叶涡轮搅拌器主要产生轴向流。
涡轮搅拌器的主要优点是当能量消耗不大时,搅拌效率较高,搅拌产生很强的径向流。因此它适用于乳浊液、悬浮液等。

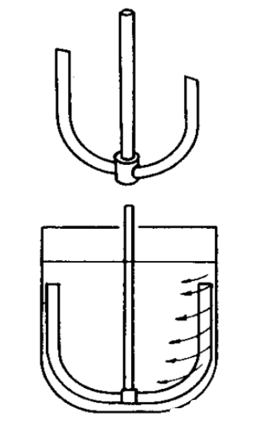
适用于粘度在100Pa·s以下的流体搅拌,当流体粘度在10~100Pa·s时,可在锚式桨中间加一横桨叶,即为框式搅拌器,以增加容器中部的混合。
更多安全资料下载:
1:电脑浏览器打开:www.abcanquan.com
2:右上角“搜索栏”中输入关键字
3:微信扫码下载

来源:安全应急、ABC安全、网络,感谢原作者,如有侵权请联系,24小时删除


商务合作请后台留言“商务合作”
本公众号已开通今日头条号,头条号名称:ABC安全
▼资料下载请点击“阅读原文”



