


第
1
题
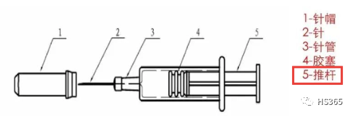
预灌封注射器推杆,材质为塑料,预灌封注射器组合件(带注射针)属于药包材,推杆为其组成部分之一。该商品应归入子目( )。
A.3926.90
B.9018.31
C.9018.39
D.9018.90

01
点击空白处查看答案,待字体变黑可上下移动

第
2
题
励磁设备,由自动电压调节器、可控硅整流器和起励、灭磁等装置组成,通过利用可控硅整流器将三相交流电压转换为直流电压,由自动电压调节器根据电力系统的要求,控制可控硅整流器的输出,经过磁场断路器(灭磁装置),为发电机提供励磁电流,以确保发电机安全、可靠的向电力系统输送强大的电流。该商品应归入品目( )。
A.85.04
B.85.37
C.85.43
D.90.32

02
点击空白处查看答案,待字体变黑可上下移动

第
3
题
恐龙模型,身体部分的主要材质是塑胶,有铁的支架和底座,部分恐龙有电动装置,能模仿真恐龙的动作,用于展览展示。该商品应归入品目( )。
A.39.26
B.85.43
C.90.23
D.95.03

03
点击空白处查看答案,待字体变黑可上下移动

第
4
题
单向离合器,摩托车启动小齿轮组,用于发动机启动时的动力传递。车辆刚启动时该商品将起动电机的动力传递给发动机,从而带动发动机旋转。当发动机正常运转后,转速超过起动电机的转速后,可以使起动电机与发动机断开连接。
A.84.09
B.84.83
C.87.08
D.87.14

04
点击空白处查看答案,待字体变黑可上下移动

第
5
题
屏幕透镜,中间无色透明的矩形塑料板,黑色边框,用于商场内的屏幕墙、电子广告牌等设备的屏幕;塑料成型前加入防静电剂,在成型、切割后,浸泡防反射液、烘干,使其表面形成一层防反射膜,最后在其背面用丝印的方法印上黑色边框。无表面抛光及边缘打磨等工序。该商品应归入品目( )。
A.39.26
B.85.29
C.85.48
D.90.01

05
点击空白处查看答案,待字体变黑可上下移动

第
6
题
交互式急救模拟系统,以硅胶为主体,带有压力感应器等设备的医疗教学模拟人,用于医疗教学,与装有专业分析软件的微机配套使用,分析软件及微机为国内采购,该商品应归入品目( )。
A.39.26
B.85.43
C.90.23
D.90.31

06
点击空白处查看答案,待字体变黑可上下移动

第
7
题
自动光轴机,由红外线发射装置、感光元件、光电转换装置等组成,该机发出红外线光,打在待检测的光学镜片上,反射回感光元件中,通过光电转换,镜片倾斜度不同,在显示器上就显示出不同位置的光斑,从而判定被检测的光学镜片是否在可允许的倾斜范围内。该商品应归入品目( )。
A.85.43
B.90.13
C.90.27
D.90.31

07
点击空白处查看答案,待字体变黑可上下移动
HS

「商品归类 实战技术」






