第52期
船舶动力行业周观察
本期热点
氢燃料
1.日本氢双燃料发动机迈向运行试验阶段
电推进
1.全球最大万吨级纯电动智能海船“宁远电鹏”号离场海试
LNG动力
1.宁波凯荣自主研发LNG加注-吊装复合臂获DNV原则性认可
本周国际要闻
氢燃料
国内首艘CCS纯电智能N符号内河集装箱船启航

近日,日本洋马动力解决方案公司(Yanmar Power Solutions)研发的船用高速四冲程氢双燃料发动机,成功斩获日本船级社颁发的型式认可证书与氮氧化物排放证书,标志着该技术向实际应用迈出关键一步,计划于2026年第三季度在日本沿海船舶开展运营测试。
这款引燃式氢燃料发动机专为沿海船舶发电系统设计,认证规格明确为“电控纯气体发动机(氢燃料)”。此前,该发动机已完成陆基测试,测试中采用少量氢化植物油(HVO)作为引燃燃料,验证了技术可行性。值得关注的是,同类型氢双燃料动力已有落地案例,2025年10月交付的“Ten-Oh”号拖船搭载的BeHydro V12发动机,单台输出功率达1618千瓦,较传统化石燃料船舶减排约60%。
该发动机的研发与推进,核心依托日本财团2022年发起的“零排放船舶项目”,该项目为氢动力船舶技术突破提供了重要孵化平台。同时,由JPN H2YDRO Co牵头的“氢发动机零排放船舶联盟”发挥关键推动作用,联盟成员涵盖船舶建造、配套系统供应等领域,为技术落地提供全产业链支持。随着国际海事组织氢燃料使用临时指南即将正式通过,船用氢动力技术有望加速规模化应用。
来源:John Snyder.(2026-02-02).Japanese hydrogen dualfuel engine advances towards operational trials,
https://www.rivieramm.com/news-content-hub/new-japanese-hydrogen-dual-fuel-engine-advances-towards-operational-trials-87613
电推进
全球最大万吨级纯电动智能海船“宁远电鹏”号离厂海试

近日,国内首制、全球最大的万吨级纯电动智能海船“宁远电鹏”号从江西江新造船有限公司解缆离厂,正式开启海试,标志着我国纯电动智能船舶领域实现重大突破。
该船为740TEU纯电动敞口集装箱船,总长127.8米、型宽21.6米、型深10.5米,设有740个20英尺标准箱位。动力系统核心配置10个箱式电池,支持高压岸电充电与箱式电池快速换电两种模式,搭配光伏系统补充可再生能源,实现营运及靠泊装卸全程零排放。
船舶集成智能集成平台、智能机舱等先进系统,具备开阔水域自主航行、航线规划、自主避碰等功能,可智能切换驾驶模式。海试将涵盖电池供电、推进电机负荷、船体性能及自主航行等项目,预计2月6日抵达上海试航区,2月13日完成全部测试。
来源:龙de船人.(2026-02-04).全球最⼤万吨级纯电动智能海船“宁远电鹏”号离⼚海试,
https://www.imarine.cn/216601.html
LNG动力
宁波凯荣自主研发LNG加注-吊装复合臂获DNV原则性认可

近日,宁波凯荣新能源有限公司自主研发的LNG加注-吊装复合臂成功获得挪威船级社(DNV)原则性认可证书(AiP),标志着我国在LNG船舶配套装备领域实现创新突破,为LNG航运加注作业提供了多功能高效解决方案。
该复合臂是面向LNG船舶加注场景的下一代装备,核心优势在于同一平台集成LNG加注与吊装双重功能。加注模式下,可灵活适配船对船(Ship-to-Ship)及岸基对船(Shore-to-Ship)等多种作业工况,满足LNG燃料补给核心需求;吊装模式下,能快速切换为备品吊机,安全完成船上护舷材、工具、备品等物资的吊装作业。
此次获证不仅验证了该产品设计的可行性与安全性,也彰显了我国企业在LNG配套装备自主研发领域的技术实力。产品的多功能集成特性将有效提升LNG船舶运营效率,降低装备配置成本,为全球LNG航运业绿色发展提供有力支撑。
来源:国际船舶网.(2026-02-01).宁波凯荣⾃主研发LNG加注-吊装复合臂获DNV原则性认可,
https://www.eworldship.com/html/2026/Manufacturer_0201/218336.html
本周手持订单2.5
全球船舶手持订单显示低速机订单4595台,功率合计85734兆瓦。

燃料价格周走势1.29-2.4

点击查看大图
说明:
1. 订单统计数据来源于100总吨以上低速机动力船舶的主机订单情况,比率均按数量计算。
2. 统计数据的最终解释权归上海船舶动力创新中心有限公司所有。
国际专利速览
Everllence和Wärtsilä最新喷射装置专利速览
本周,“国际专利速览”专栏将聚焦于Everllence和Wärtsilä的燃料喷射装置最新国际专利动态。我们将分享这些专利的基本信息,为您提供一个简洁、高效的专利资讯平台。通过这些精选的专利推送,您可以快速了解国际上在船舶动力领域的最新进展,把握行业前沿动态。

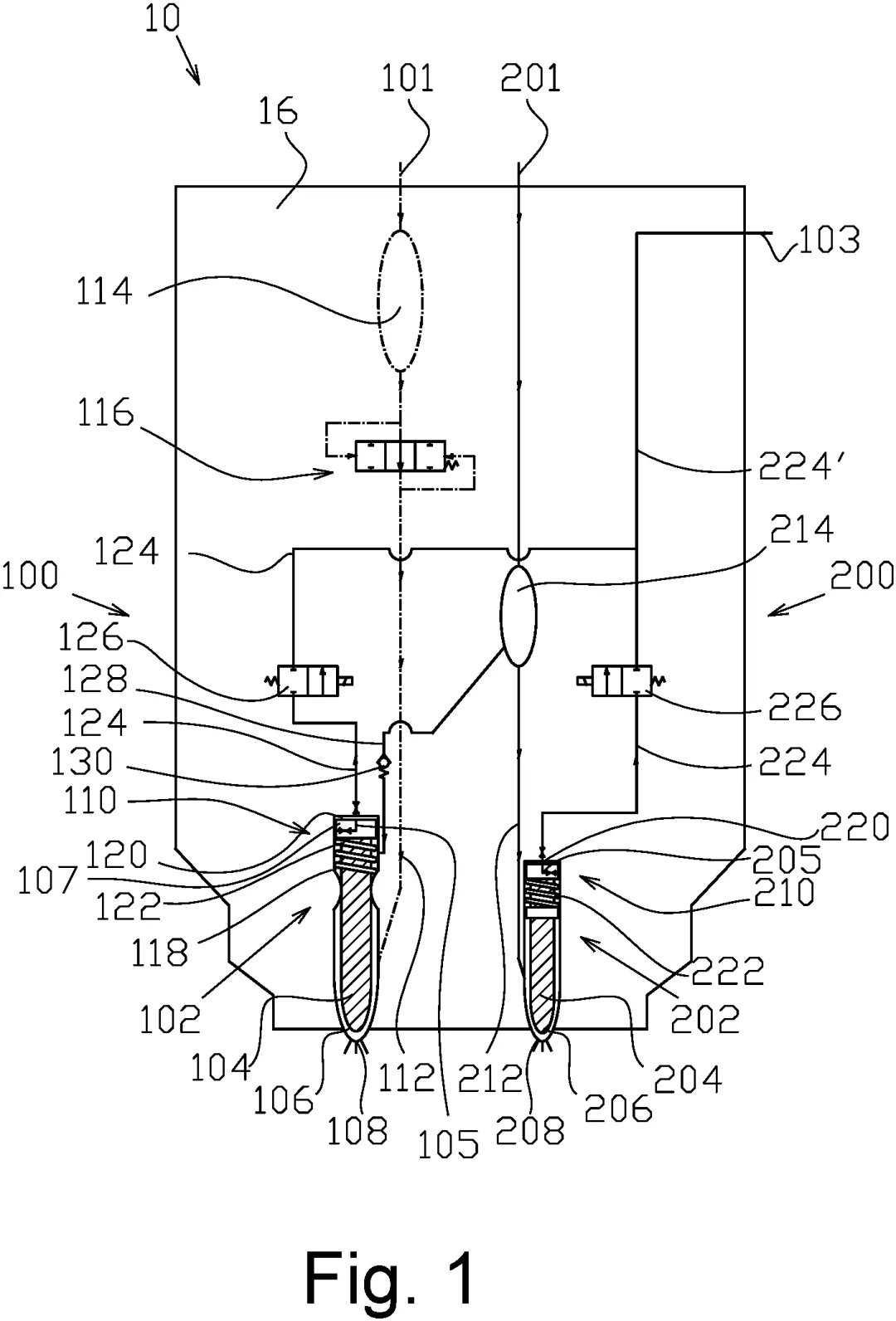
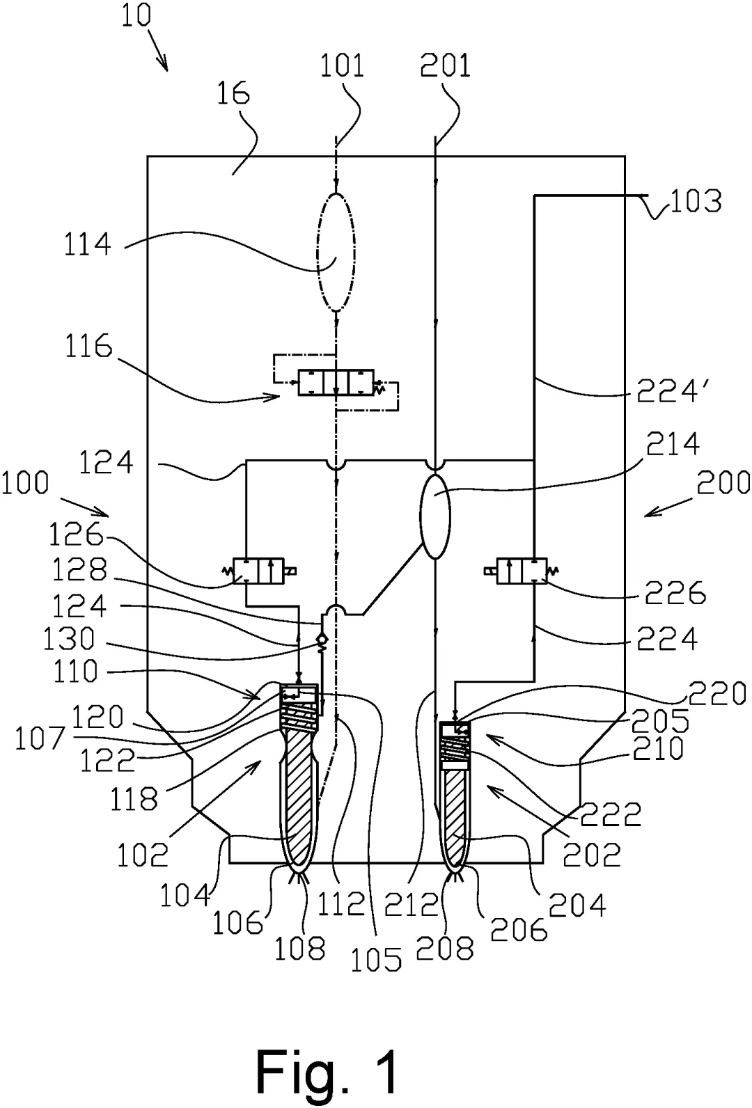
专利名称:内燃机及其喷射器
FUEL INJECTOR OF AN INTERNAL COMBUSTION ENGINE AND INTERNAL COMBUSTION ENGINE
申 请 人:MAN Energy Solutions SE
公 布 日:2025-12-25
公 布 号:US20250389244A1
摘 要:一种内燃机燃油喷射器,设有第一喷嘴针阀,其于第一针阀导套内导向,并与第一燃料喷射孔相配合,使得第一喷嘴针阀可开启或阻断流经第一燃料喷射孔的第一燃料;另设有第二喷嘴针阀,其于第二针阀导套内导向,并与第二燃料喷射孔相配合,使得第二喷嘴针阀可开启或阻断流经第二燃料喷射孔的第二燃料;第一电磁阀控制第一喷嘴针阀,第二电磁阀控制第二喷嘴针阀。所述第一与第二电磁阀集成于燃油喷射器内部,且均沿燃油喷射器纵向或轴向布置于喷嘴针阀与燃油储存腔之间的区域。

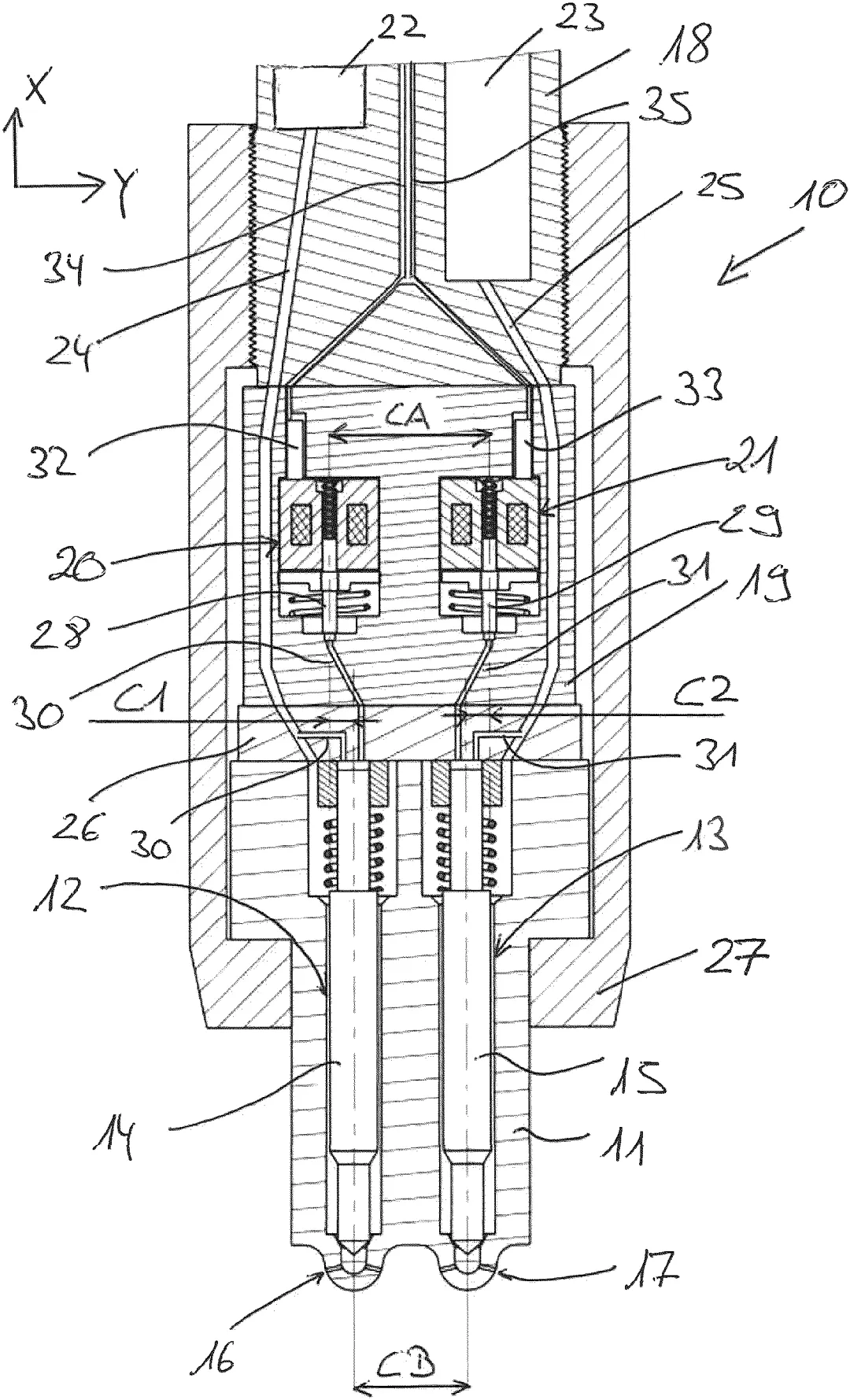
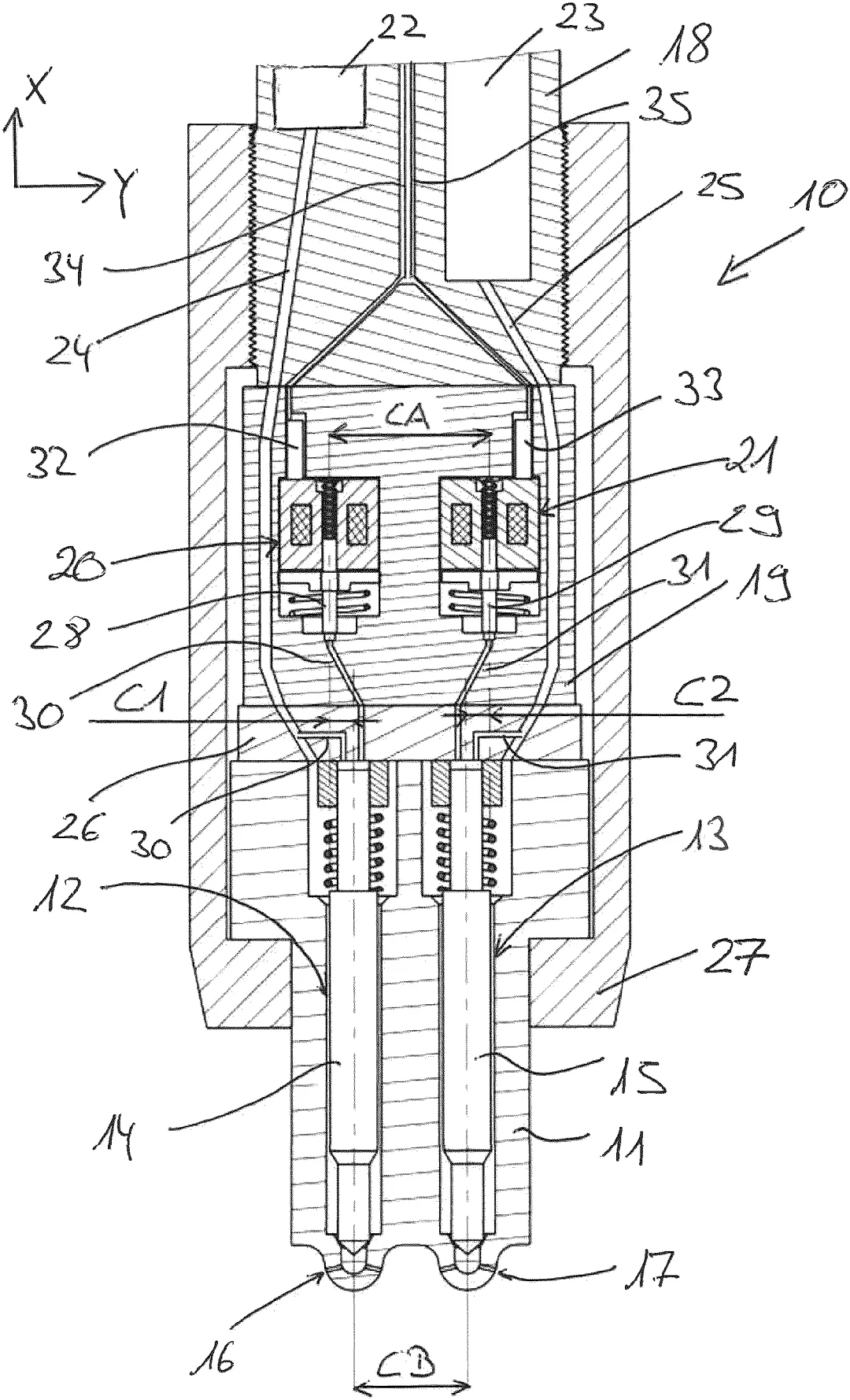
专利名称:一种用于装配至内燃机气缸盖的燃油喷射装置,以及一种配备有该燃油喷射装置的内燃机
A FUEL INJECTOR UNIT FOR ASSEMBLY TO A CYLINDER HEAD OF AN INTERNAL COMBUSTION PISTON ENGINE AND AN INTERNAL COMBUSTION PISTON ENGINE PROVIDED WITH THE FUEL INJECTOR UNIT
申 请 人:Wärtsilä Finland Oy
公 布 日:2025-12-31
公 布 号:EP4669848A1
摘 要:本发明涉及一种用于装配至内燃活塞发动机(12)气缸盖的燃料喷射单元(10),该单元适用于向内燃活塞发动机的燃烧室中喷射第一燃料和第二燃料。该燃料喷射单元(10)在其壳体(16)内包括:第一燃料入口(101)和第二燃料入口(102);第一燃料供给段(100),其包含液压驱动的第一阀控制段(110),并且在第一燃料油道(106)与第一燃料喷射阀(102)的第一阀控制段(110)之间设置有密封流体腔(118);第二燃料供给段(200),其包含液压驱动的第二阀控制段(210),其中第一阀控制段(110)、第二阀控制段(210)以及密封流体腔(118)中的每一个均与用于加压燃料的第二燃料入口(102)保持连续的流动连通,使得第二燃料在所述控制段(110、210)中作为液压流体,并在所述密封流体腔(118)中作为密封流体。
【免责声明】
1.本专栏内容旨在为行业从业者提供资讯参考,所收录的国际行业新闻均来源于公开渠道,我平台对信息的真实性、时效性保持审慎态度;
2.专栏中引用的专家评述仅代表原作者独立观点,其结论性言论均基于特定情境分析,不代表本平台的立场与价值判断;
3.本专栏始终秉持中立原则,不对任何第三方观点进行主观背书,亦不参与行业争议性议题的立场表达;
4.专栏内容不构成任何形式的投资、技术或决策建议,读者需结合自身需求独立判断。未经授权严禁擅自转载、曲解或商业化使用本专栏内容。
主 编:郭佳琪
国际要闻:吴祎珩、俞盛
手持订单:吴科霖
燃料价格:俞 盛
国际专利:吴科霖
推送排版:吴祎珩


