
芯片烧录行业领导者-昂科技术近日发布最新的烧录软件更新及新增支持的芯片型号列表,其中TI德州仪器的超低功耗FRAM微控制器MSP430FR2422IPW16R已经被昂科的通用烧录平台AP8000所支持。

MSP430FR2422IPW16R是MSP430™超值系列微控制器(MCU)产品组合的其中一个器件,该超值系列微控制器是TI成本超低的MCU系列,适用于感应和测量应用。MSP430FR2422IPW16R可提供8KB非易失性存储器并配备8通道10位ADC。该架构、FRAM 和集成外设与多种低功耗模式相结合,针对在便携式和电池供电传感应用中延长电池寿命进行了优化。采用16引脚TSSOP或20引脚VQFN封装。
MSP430FR2422IPW16R将独特的嵌入式FRAM和全面的超低功耗系统架构相结合,从而使系统设计人员能够在降低能耗的同时提升性能。FRAM技术兼有RAM的低功耗快速写入、灵活性、耐用性和闪存非易失性等特性。
昂科的AP8000专门针对C2000系列的烧录要求进行了特别设计,在烧录稳定性和芯片ESD保护方面进行了增强,是C2000系列DSP的最佳量产化烧录设备,昂科也是TI官方推荐的第三方烧录合作伙伴。

主要特征
• 嵌入式微控制器
– 16位RISC架构
– 支持的时钟频率最高可达16MHz
– 1.8V至3.6V的宽电源电压范围(最低电源电压受限于SVS电平)
• 优化的超低功耗模式
– 工作模式:120µA/MHz(典型值)
– 待机:采用32768Hz晶振的LPM3.5实时时钟(RTC)计数器:710nA(典型值)
– 关断(LPM4.5):36nA,未使用SVS
• 低功耗铁电RAM(FRAM)
– 非易失性存储器容量高达7.5KB
– 内置错误修正码(ECC)
– 可配置的写保护
– 对程序、常量和存储的统一存储
– 耐写次数达1015次
– 抗辐射和非磁性
– FRAM与SRAM之比高达4:1
• 高性能模拟
– 高达8通道10位模数转换器(ADC)
– 1.5V的内部基准电压
– 采样保持200ksps
• 智能数字外设
– 两个16位计时器,每个计时器有三个捕捉/比较寄存器(Timer_A3)
– 一个仅用作计数器的16位RTC
16 位循环冗余校验(CRC)
• 增强型串行通信,支持引脚重映射功能(请参阅器件比较)
– 一个eUSCI_A接口,支持UART、IrDA和SPI
– 一个eUSCI_B接口,支持SPI和I2C
• 时钟系统 (CS)
– 片上32kHz RC振荡器(REFO)
– 带有锁频环(FLL)的片上16MHz数控振荡器 (DCO)
– 室温下的精度为±1%(具有片上基准)
– 片上超低频10kHz振荡器(VLO)
– 片上高频调制振荡器(MODOSC)
– 外部32kHz晶振(LFXT)
– 可编程MCLK预分频器(1至128)
– 通过可编程预分频器(1、2、4或8)从MCLK获得的SMCLK
• 通用输入/输出和引脚功能
– 共计15个I/O(采用VQFN-20封装)
– 15个中断引脚(P1和P2)可以将MCU从低功耗模式下唤醒
• 封装选项
– 20引脚:VQFN(RHL)
– 16引脚:TSSOP(PW)
应用
• 工业传感器
• 电池组
• 便携式电器
• 电动牙刷
• 低功耗医疗、健康和健身器材

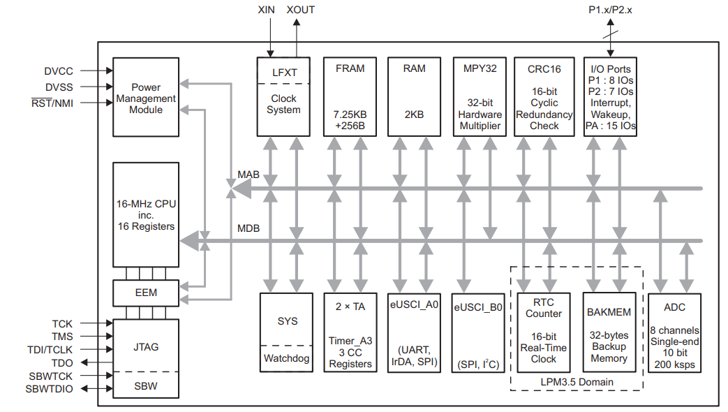
功能框图
昂科技术自主研发的AP8000万用型烧录器包含主机,底板,适配座三大部分。

主机支持USB和NET连接,允许将多台编程器进行组网,达到同时控制多台编程器同时烧录的目的。内置芯片安全保障电路保证即使芯片放反或其他原因造成的短路可以被立即检测到并进行断电处理,以保障芯片和编程器安全。内嵌高速FPGA,极大地加速数据传输和处理。主机背部有SD卡槽,将PC软件制作得到的工程文件放到SD卡的根目录下并插入到该卡槽内,通过编程器上的按键可进行工程文件的选择,加载,执行烧录等命令,以达到脱离PC便可操作的目的,极大的降低了PC硬件配置成本,方便迅速地搭配工作环境。
AP8000通过底板加适配板的方式,让主机扩展性更强,目前已经支持了所有主流半导体厂家生产的器件,包括TI, ST, MicroChip, Atmel, Hynix, Macronix, Micron, Samsung, Toshiba等。支持的器件类型有NAND, NOR, MCU, CPLD, FPGA, EMMC等,支持包括Intel Hex, Motorola S, Binary, POF等文件格式。
公司介绍
关于德州仪器:德州仪器(Texas Instruments,简称:TI)是世界上较大的模拟电路技术部件制造商,全球知名的半导体跨国公司,以开发、制造、销售半导体和计算机技术闻名于世,主要从事创新型数字信号处理与模拟电路方面的研究、制造和销售。除半导体业务外,还提供包括传感与控制、教育产品和数字光源处理解决方案。德州仪器是世界第一大数字信号处理器(DSP)和模拟电路元件制造商,其模拟和数字信号处理技术在全球具有统治地位。
关于昂科技术:昂科技术(ACROVIEW)是全球领先的半导体芯片烧录解决方案提供商,公司坚持以科技改变世界、用智能驱动未来,持续不断的为客户创造价值。昂科的AP8000通用烧录器平台及最新的IPS5000烧录自动化解决方案,为半导体和电子制造领域客户提供一站式解决方案,公司已服务包括华为、比亚迪、富士康等全球领先客户。
扫码关注我们

昂科技术服务号

昂科技术订阅号


