
知圈 | 进摄像头镜头/模组/CMOS芯片群,加微yijijuechen2023
什么是BCD工艺 STM的BCD工艺解析
BCD工艺的隔离技术
BCD工艺的最新进展
1
什么是BCD工艺
BCD指的是Bipolar-CMOS-DMOS的缩写:
Bipolar是用于高精度处理模拟信号的双极晶体管
CMOS是用于设计数字控制电路的互补金属氧化物半导体
DMOS是用于开发电源和高压开关器件的双扩散金属氧化物半导体

从1985年BCD推出工艺,至今已经过去38年并经历了九次技术迭代,产出超500万片晶圆,售出超400亿颗芯片,仅2020年就售出近30亿颗芯片,第十代BCD技术已经投产。
2
STM的BCD工艺发展及分析
By TechInsights
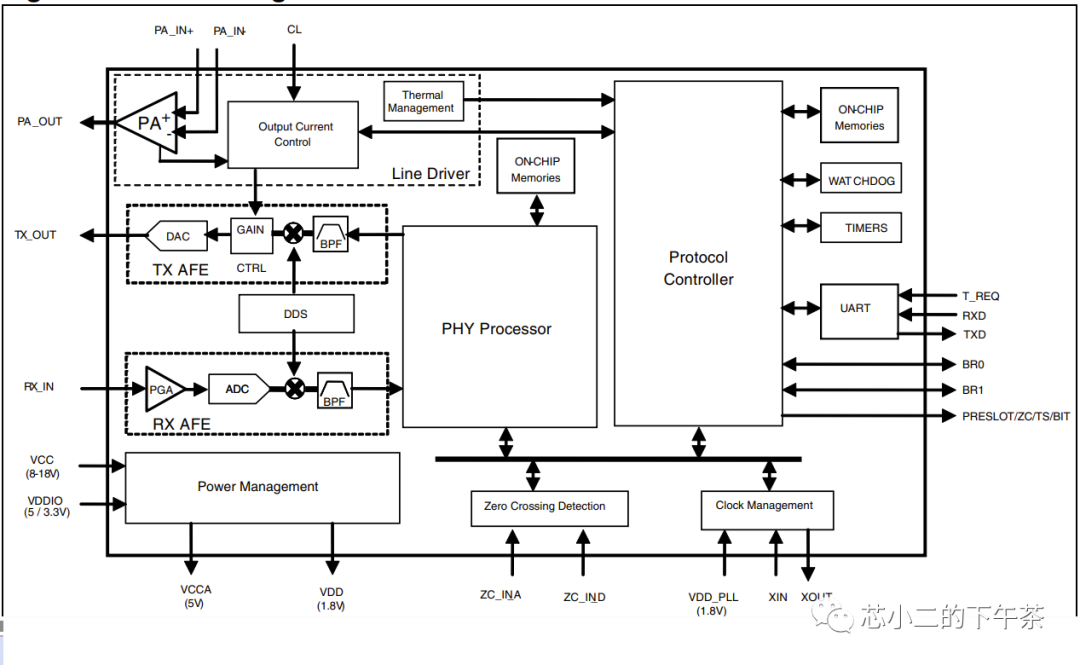
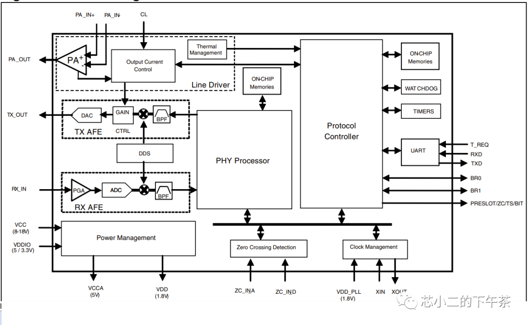
如下是基于BCD8的ST7570,S-FSK电力载波通信芯片
ST7570 ,S-FSK电力载波通信芯片


更多STM的BCD工艺分析,参考链接
STMicro BCD工艺发展分析
https://www.techinsights.com/blog/evolution-stmicroelectronics-bcd-technology
3
BCD工艺的隔离技术
BCD工艺将Bipolar、CMOS、DMOS集成一颗芯片,为了保障良好的特性,他们之间的隔离技术就很关键的。
转自 模拟集成电路设计ABC
结隔离是BCD工艺中常见的隔离技术,它通过穿通到外延层的深扩散形成反偏的PN结,通过反偏的PN结达到隔离的目的。
转自 模拟集成电路设计ABC
浅/深隔离技术(STI/DTI)技术是在器件的侧壁形成隔离,STI和DTI工艺的区别是,隔离介质的深度不同,DTI隔离效果更好,但隔离层的生成时间更长,成本更高。
转自 模拟集成电路设计ABC
STI隔离是BCD工艺中最常用的隔离技术,绝大部分<60V的工艺采用了该隔离技术。
SOI全名为Silicon On Insulator, 是指硅晶体管结构在绝缘体之上的意思,原理就是在硅晶体管之间,加入绝缘体物质,可使器件之间完全隔离;
跟STI/DTI不同的是,器件的底部也加入了隔离层,因此器件漏电非常小,隔离效果更好,相应的,该工艺需要带隔离层的晶圆,成本较高
转自 模拟集成电路设计ABC
4
X-FAB和Tower的最新BCD工艺
X-FAB 在2023年6月宣布,其成为业界首家推出110纳米 BCD-on-SOI 解决方案的代工厂,由此加强了其在 BCD-on-SOI 技术领域的突出地位。全新 XT011 BCD-on-SOI 平台反映了模拟应用中对更高数字集成和处理能力日益增长的需求。其将 SOI 和 DTI 极具吸引力的特性结合在一起,因此与传统 Bulk BCD 工艺相比,高密度数字逻辑和模拟功能可以更容易地集成至单个芯片。
此种全新 BCD-on-SOI 技术能够实现符合 AEC-Q100 Grade 0 等级的设计需求,具有高度稳健性。其工作温度范围为-40℃至175℃,还表现出较高的抗 EMI 能力。由于没有寄生双极效应,发生闩锁的风险完全消除,从而确保最高程度的操作可靠性。
Tower于2022年6月推出第二代65纳米BCD可扩展功率LDMOS,将电压扩展至24V,Rdson降低20%;并在其180纳米BCD平台上增加深槽隔离(DTI)技术,使裸片尺寸减少40%,支持工作电压高达125V。



