推广 热搜: 采购方式  甲带  滤芯  气动隔膜泵  带式称重给煤机  减速机型号  减速机  链式给煤机  履带  无级变速机 

让招投标采购流程“门儿清”的6张图!

   日期:2025-11-02 19:55:56     来源:网络整理    作者:本站编辑    评论:0    
让招投标采购流程“门儿清”的6张图!

让招投标采购流程“门儿清”的6张图!

让招投标采购流程“门儿清”的6张图!

让招投标采购流程“门儿清”的6张图!

让招投标采购流程“门儿清”的6张图!

让招投标采购流程“门儿清”的6张图!

让招投标采购流程“门儿清”的6张图!

招投标“宝藏”图谱,收藏起来!
1⃣️公开招标操作流程图
2⃣️邀请招标操作流程图
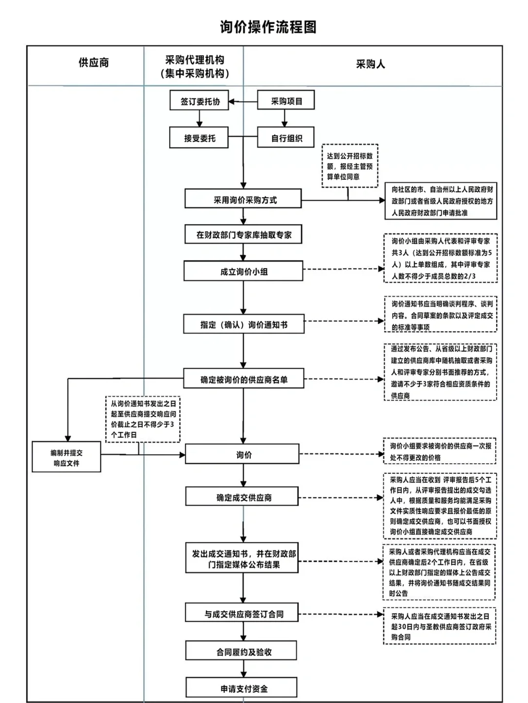
3⃣️询价操作流程图
4⃣️单一来源操作流程图
5⃣️竞争性谈判操作流程图
6⃣️竞争性磋商操作流程图
#采购 #供应链 #采购流程 #采购管理 #流程图 #招投标 #招投标流程 #不懂就问有问必答
 
打赏
 
更多>同类资讯
0相关评论

推荐图文
推荐资讯
点击排行
网站首页  |  关于我们  |  联系方式  |  使用协议  |  版权隐私  |  网站地图  |  排名推广  |  广告服务  |  积分换礼  |  网站留言  |  RSS订阅  |  违规举报  |  皖ICP备20008326号-18
Powered By DESTOON