手机版
二维码
购物车
(
0
)
供应
求购
公司
团购
展会
资讯
招商
品牌
人才
知道
专题
图库
视频
下载
商圈
推广
热搜:
采购方式
甲带
滤芯
气动隔膜泵
带式称重给煤机
减速机型号
减速机
链式给煤机
履带
无级变速机
首页
供应
求购
公司
团购
展会
资讯
招商
品牌
人才
知道
专题
图库
视频
下载
商圈
首页
>
资讯
>
招投标信息
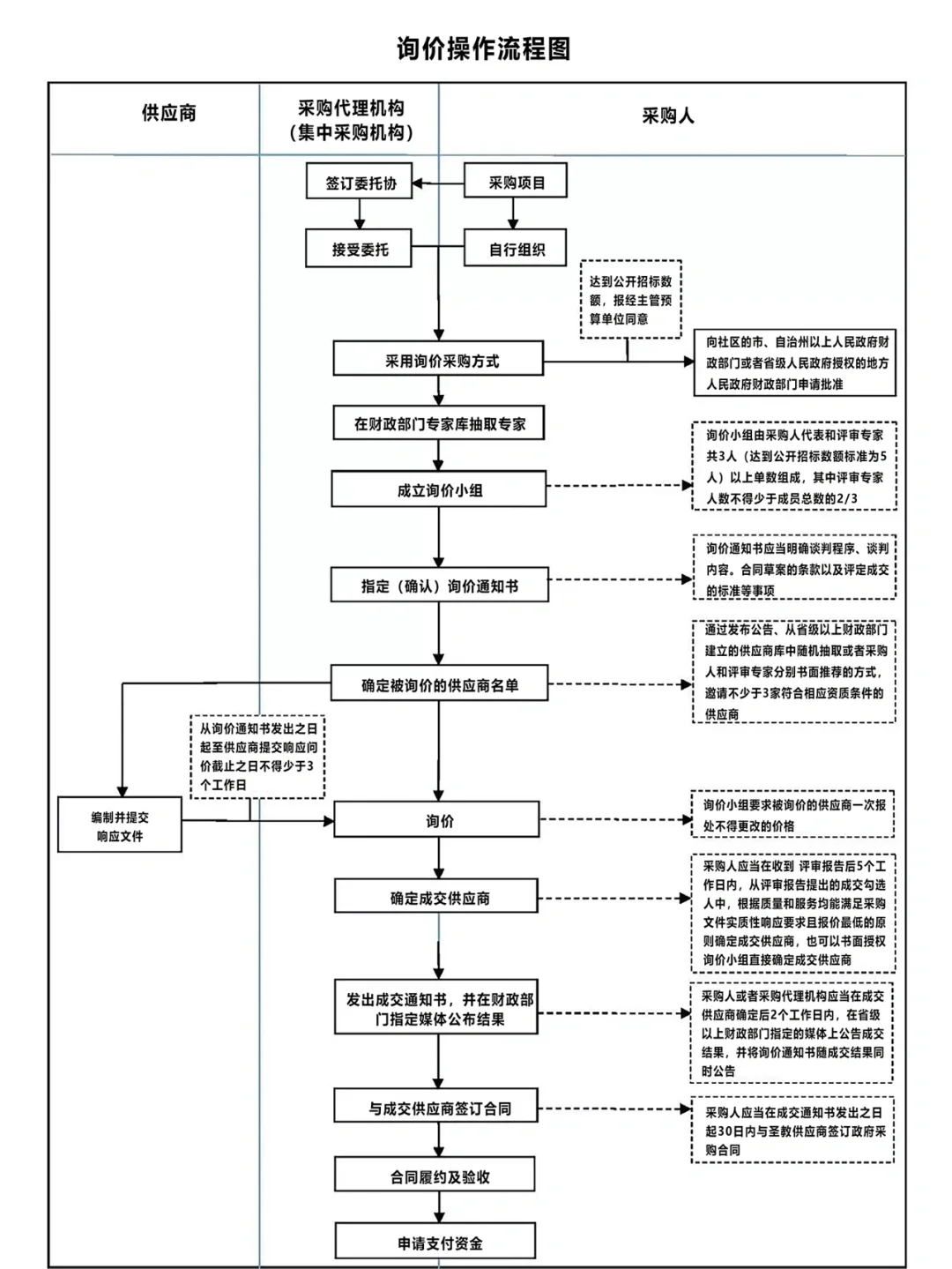
采购招投标流程
日期:2025-11-01 18:18:12 来源:网络整理 作者:本站编辑
评论:0
采购招投标流程
#不懂就问有问必答
这6张图,让招投标采购流程“门儿清”!
招投标“宝藏”图谱,收藏起来!
#招投标
#采购
#流程图
@小红书创作学院
#采购
#采购部
#采购流程
#采购职业
打赏
更多
>
同类资讯
• 求大数据把我推荐给需要的人
0
条
相关评论
推荐图文
推荐资讯
点击排行
网站首页
|
关于我们
|
联系方式
|
使用协议
|
版权隐私
|
网站地图
|
排名推广
|
广告服务
|
积分换礼
|
网站留言
|
RSS订阅
|
违规举报
|
皖ICP备20008326号-18
(c)2008-2022 免费发布网 All Rights Reserved