









❗吕某:组织多人在四川乐山、陕西汉中、河北石家庄等地部分宾馆、酒店房间,非法安装“偷拍摄像头”,并将相关摄像头MAC地址等信息录入其公司生产的“防偷拍检测仪器”后台数据库。
❗李某行(网络平台账号:“刘宇(网安践行者)”):根据吕某等提供的信息,精准入住已安装“偷拍摄像头”的宾馆、酒店房间,并发布视频佯装扫描发现偷拍摄像头,并以此推销自己公司生产的“防偷拍检测仪器”。
❗张某(网络平台账号:“影子不会说谎”):与李某行及掌握偷拍摄像头相关信息的不法人员相勾连,前往相应宾馆、酒店,演绎摆拍“检测发现偷拍摄像头”的视频发至网上,进行虚假广告宣传。
?初步查明,2023年9月以来,上述人员以此非法牟利达数百万元。
?据央视新闻报道,该公司生产的“防偷拍检测仪器”不具备自主分析、定位、大数据计算、复杂AI模型部署等功能,不能有效检测发现Wi-Fi摄像头等,其实际性能与产品说明书、视频中所宣称性能严重不符。目前,吕某、李某行、张某等35人已被依法采取刑事强制措施。
?目前\"影子不会说谎\"的社交帐号已被封禁。一家名为“小澄隐私安全企业店”的店铺仍在售卖“刘宇推荐”的摄像头检测器,店铺中销量最高的一款已售出超1.3万件。
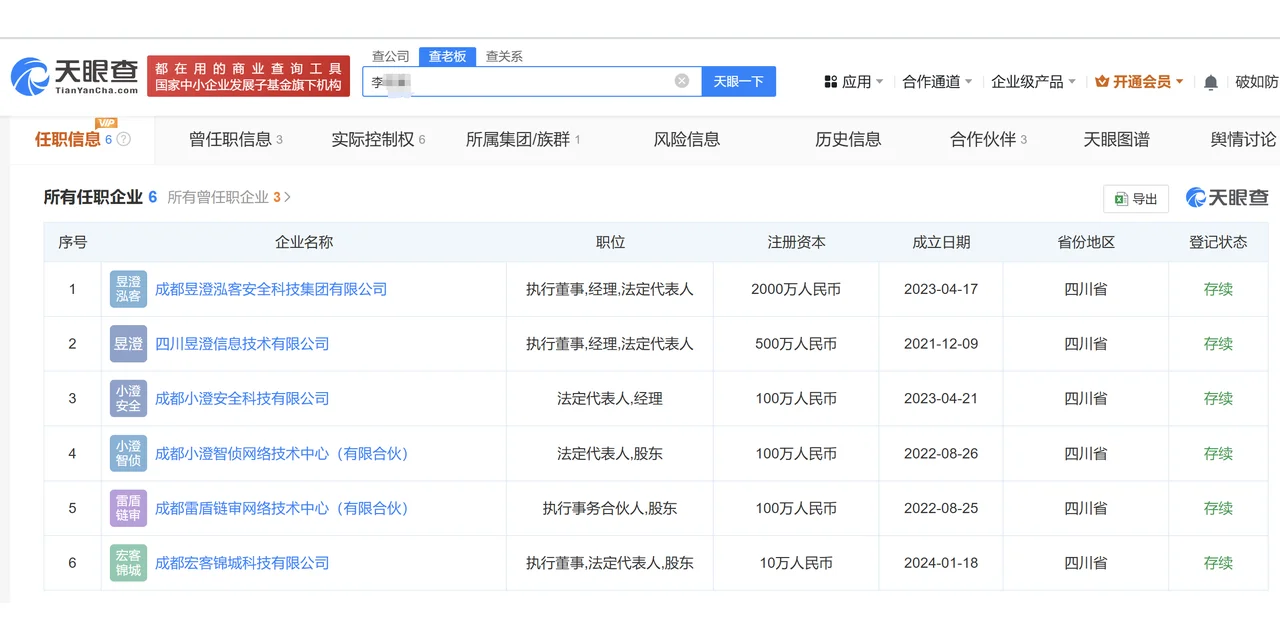
?天眼妹看到。该店铺其关联公司为【成都小澄安全科技有限公司】,该公司成立于2023年4月,法定代表人为李某,其名下共关联6家公司,目前均为存续状态。
#天眼查 #天眼妹
❗李某行(网络平台账号:“刘宇(网安践行者)”):根据吕某等提供的信息,精准入住已安装“偷拍摄像头”的宾馆、酒店房间,并发布视频佯装扫描发现偷拍摄像头,并以此推销自己公司生产的“防偷拍检测仪器”。
❗张某(网络平台账号:“影子不会说谎”):与李某行及掌握偷拍摄像头相关信息的不法人员相勾连,前往相应宾馆、酒店,演绎摆拍“检测发现偷拍摄像头”的视频发至网上,进行虚假广告宣传。
?初步查明,2023年9月以来,上述人员以此非法牟利达数百万元。
?据央视新闻报道,该公司生产的“防偷拍检测仪器”不具备自主分析、定位、大数据计算、复杂AI模型部署等功能,不能有效检测发现Wi-Fi摄像头等,其实际性能与产品说明书、视频中所宣称性能严重不符。目前,吕某、李某行、张某等35人已被依法采取刑事强制措施。
?目前\"影子不会说谎\"的社交帐号已被封禁。一家名为“小澄隐私安全企业店”的店铺仍在售卖“刘宇推荐”的摄像头检测器,店铺中销量最高的一款已售出超1.3万件。
?天眼妹看到。该店铺其关联公司为【成都小澄安全科技有限公司】,该公司成立于2023年4月,法定代表人为李某,其名下共关联6家公司,目前均为存续状态。
#天眼查 #天眼妹


