










?救命小阀门!锂电池不爆炸的秘密㊙️连工程师都夸的硬核科普来啦~
⚙【原理篇】压力管理大师の生存哲学
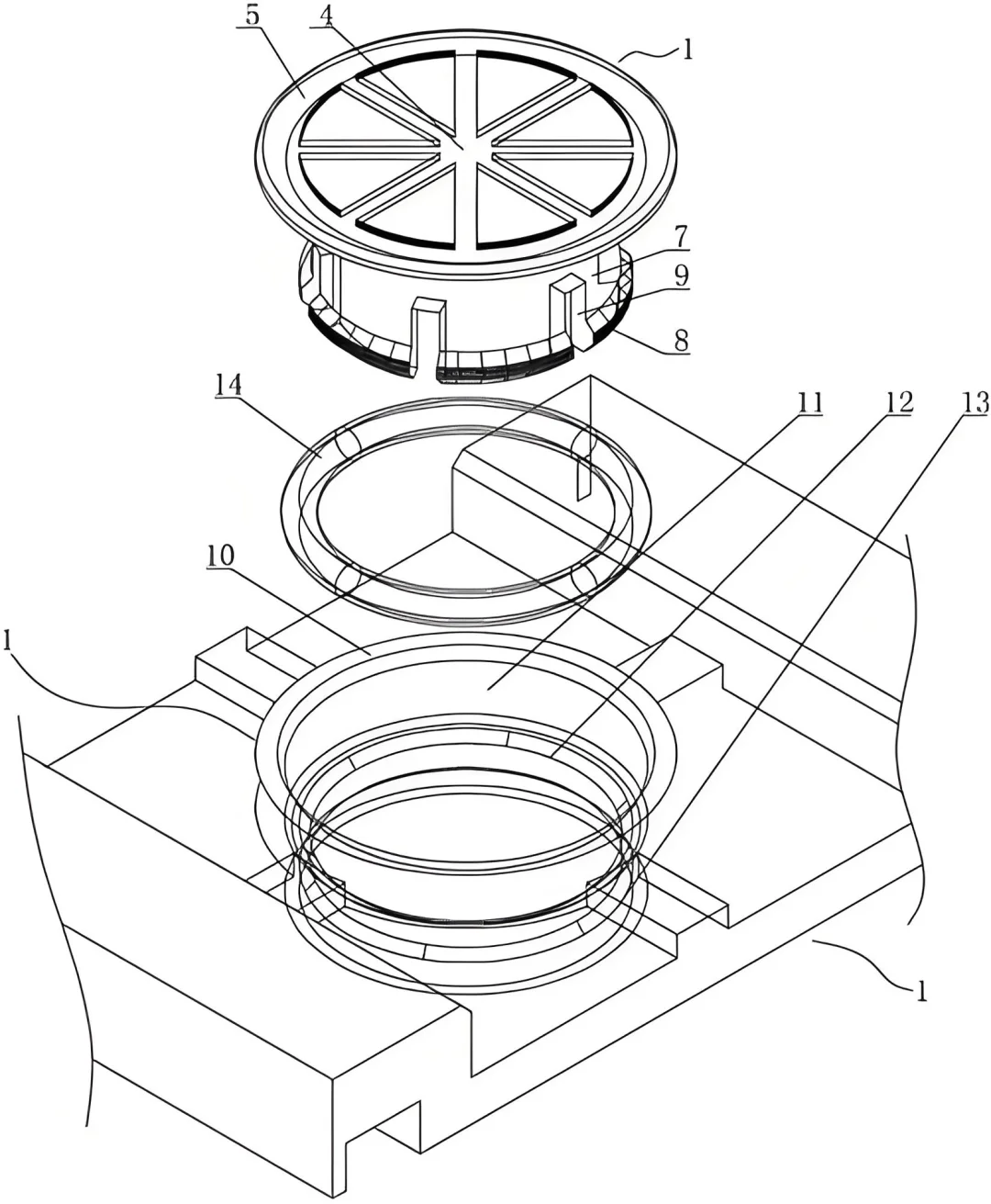
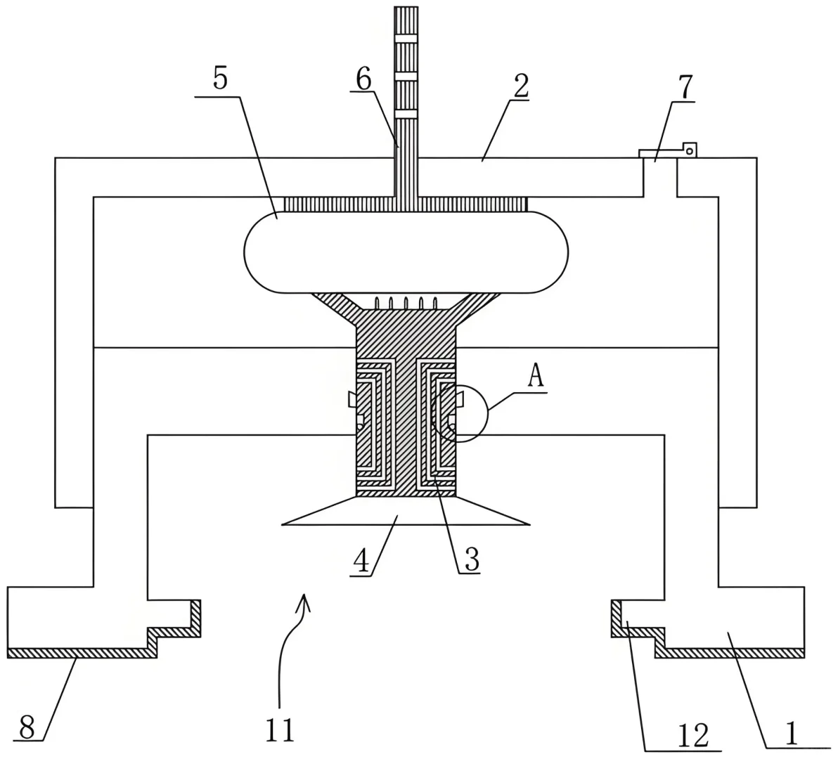
想象一下,锂电池内部住着一群”暴躁气体分子”?,充电/过热时它们疯狂蹦迪?,气压飙升!这时候,防爆阀就像夜店保安?默默计算着压力值——
✨ 触发机制:当气压超过安全线(比如2MPa),弹簧顶不住啦!阀门”噗呲”一声开闸放气?,瞬间把危险扼杀在摇篮里~
(类比高压锅泄压阀?,吃货秒懂!)
?【作用篇】电池界的消防队长?
你以为它只是个排气孔?格局打开!
✔️ 压力平衡:日常温差导致”呼吸不畅”?阀门自动调节内外气压?️
✔️ 防爆护主:短路/过充时化身”泄压侠”,0.1秒急速降压⏱️
✔️ 自锁机制:泄压后自动闭合?,防止二次污染入侵!
(就像汽车的ESP系统?,默默守护每一次出行~)
?【材质篇】钢铁直男の温柔心
别看它硬核,选材都是心机BOY?:
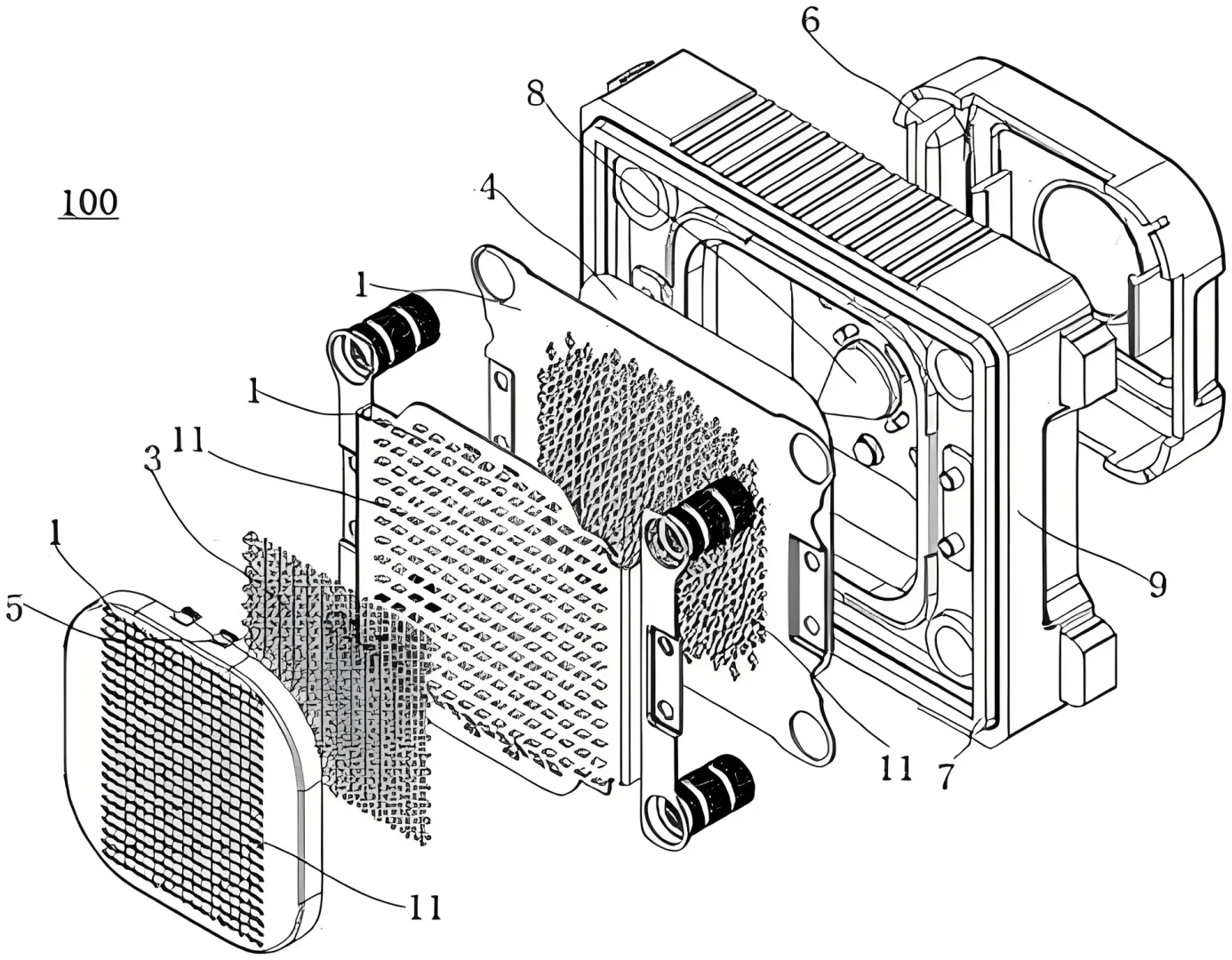
► 阀体:316L不锈钢——耐腐蚀界扛把子,泡电解液也不虚?
► 密封层:氟橡胶O型圈——-40℃~200℃稳如老狗❄?
► 弹簧:特种合金——每天被10吨压力摩擦,十年弹性不变?
(堪比航天材料?️,这配置卷哭了!)
?【生产工艺】微米级の指尖芭蕾
生产现场比芯片厂还龟毛?:
1️⃣ 精密冲压:0.01mm误差控制,比头发丝还细5倍?♀️
2️⃣ 激光焊接:0.3秒完成360°无缝对接,焊缝比情书还细腻?
3️⃣ 爆破测试:高压水枪疯狂输出?,每个阀要扛住宝马5系碾压的力道?
(质检员比丈母娘还严格??,次品率<0.0001%!)
?【现实应用】
新能源汽车电池包里的”安全担当”?,储能电站的”沉默卫士”?甚至卫星电池都靠它守护?️~
?冷知识Time
▶️ 顶级防爆阀响应速度=蜂鸟振翅1次?
▶️ 高端产品自带记忆金属,泄压后自动恢复原形?
▶️ 特斯拉电池包有16个防爆阀矩阵,比瑞士手表还精密⌚
?下期想看啥黑科技?留言区点菜啦!
(友情提示:下次见到电动车电池组,请对这群”压力管理大师”行注目礼?~)
?变?的故事,全靠这枚小可爱守护!?
#锂电池 #新能源 #防爆阀 #传感器 #汽车知识 #知识科普 #电池 #工业 #材料 #材质
⚙【原理篇】压力管理大师の生存哲学
想象一下,锂电池内部住着一群”暴躁气体分子”?,充电/过热时它们疯狂蹦迪?,气压飙升!这时候,防爆阀就像夜店保安?默默计算着压力值——
✨ 触发机制:当气压超过安全线(比如2MPa),弹簧顶不住啦!阀门”噗呲”一声开闸放气?,瞬间把危险扼杀在摇篮里~
(类比高压锅泄压阀?,吃货秒懂!)
?【作用篇】电池界的消防队长?
你以为它只是个排气孔?格局打开!
✔️ 压力平衡:日常温差导致”呼吸不畅”?阀门自动调节内外气压?️
✔️ 防爆护主:短路/过充时化身”泄压侠”,0.1秒急速降压⏱️
✔️ 自锁机制:泄压后自动闭合?,防止二次污染入侵!
(就像汽车的ESP系统?,默默守护每一次出行~)
?【材质篇】钢铁直男の温柔心
别看它硬核,选材都是心机BOY?:
► 阀体:316L不锈钢——耐腐蚀界扛把子,泡电解液也不虚?
► 密封层:氟橡胶O型圈——-40℃~200℃稳如老狗❄?
► 弹簧:特种合金——每天被10吨压力摩擦,十年弹性不变?
(堪比航天材料?️,这配置卷哭了!)
?【生产工艺】微米级の指尖芭蕾
生产现场比芯片厂还龟毛?:
1️⃣ 精密冲压:0.01mm误差控制,比头发丝还细5倍?♀️
2️⃣ 激光焊接:0.3秒完成360°无缝对接,焊缝比情书还细腻?
3️⃣ 爆破测试:高压水枪疯狂输出?,每个阀要扛住宝马5系碾压的力道?
(质检员比丈母娘还严格??,次品率<0.0001%!)
?【现实应用】
新能源汽车电池包里的”安全担当”?,储能电站的”沉默卫士”?甚至卫星电池都靠它守护?️~
?冷知识Time
▶️ 顶级防爆阀响应速度=蜂鸟振翅1次?
▶️ 高端产品自带记忆金属,泄压后自动恢复原形?
▶️ 特斯拉电池包有16个防爆阀矩阵,比瑞士手表还精密⌚
?下期想看啥黑科技?留言区点菜啦!
(友情提示:下次见到电动车电池组,请对这群”压力管理大师”行注目礼?~)
?变?的故事,全靠这枚小可爱守护!?
#锂电池 #新能源 #防爆阀 #传感器 #汽车知识 #知识科普 #电池 #工业 #材料 #材质


