



像我们很多小白第一次买水墨印刷机不知道有哪些用着好一些,以图所示这两种是现在水墨印刷机一般前缘送纸,图一图二是机械送纸。图三图四是伺服前缘送纸,这两种前缘送纸结构的好处有哪些呢
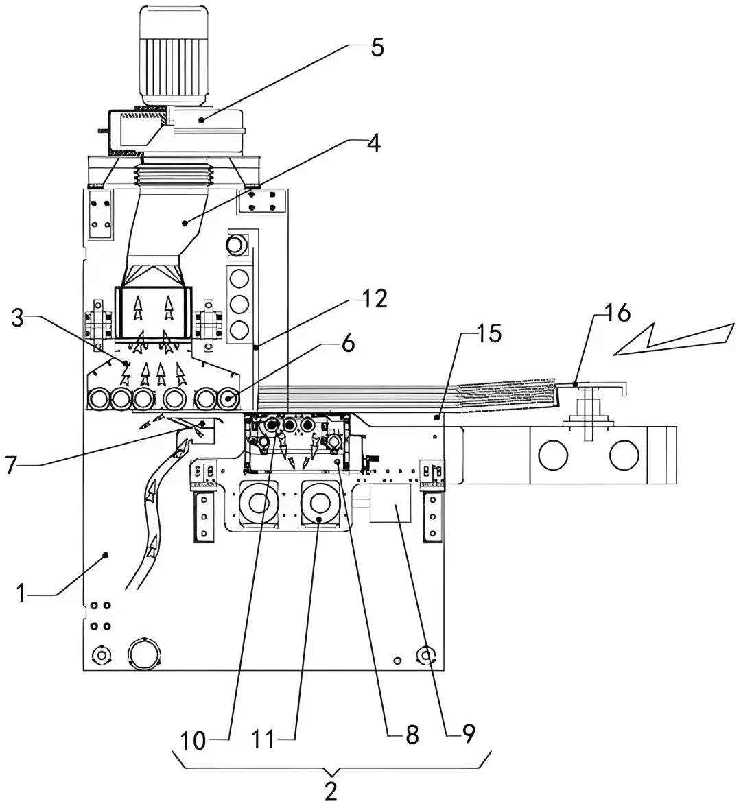
机械送纸前缘
好处:保护纸板(前缘送纸可以大大减轻拉纸胶轴对
纸板的压力,从而保护纸板原有的抗压强度)
提高送纸速度:相较于其他送纸方式,前缘送
纸的速度更快。
超延伸功能:具备良好的超延伸功能,能够更
好地适应不同规格的纸板。
精确送纸:拥有精确的送纸功能,保证印刷和
开槽位置的准确性。
伺服前缘送纸
好处 :送纸方式升级:通过吸风的方式将纸板直接进
入印刷组,由四个伺服电机代替传统的齿轮
箱,后面的三排陶瓷轮代替胶混和送纸轴,避
免纸板出现压塌、压薄、弯曲或卡纸的情况,
保证了纸板的原有强度,对纸板0伤害。
包容性强:适用于三五七层的纸板,对于两毫
米的纸板也非常友好,像偏薄偏软或者是边角
有卷翘的纸板同样可以无损伤输送,确保了印
刷效果。
性能强大:能在不同速度高、中、低速换速
时,保证印刷位置和开槽位置不变,均可以达
到0误差,实现送纸印刷开槽的无缝衔接。
这两种前缘送纸方式是当前水墨印刷机送纸常见的两种,说了这么多,有人会问了,这两款送纸感觉都挺好,他们有什么缺点嘛
确实这两款送纸结构各有各的好处,缺点我就不在这里过多说了,有想了解的朋友可以关注我一下。
机械送纸前缘
好处:保护纸板(前缘送纸可以大大减轻拉纸胶轴对
纸板的压力,从而保护纸板原有的抗压强度)
提高送纸速度:相较于其他送纸方式,前缘送
纸的速度更快。
超延伸功能:具备良好的超延伸功能,能够更
好地适应不同规格的纸板。
精确送纸:拥有精确的送纸功能,保证印刷和
开槽位置的准确性。
伺服前缘送纸
好处 :送纸方式升级:通过吸风的方式将纸板直接进
入印刷组,由四个伺服电机代替传统的齿轮
箱,后面的三排陶瓷轮代替胶混和送纸轴,避
免纸板出现压塌、压薄、弯曲或卡纸的情况,
保证了纸板的原有强度,对纸板0伤害。
包容性强:适用于三五七层的纸板,对于两毫
米的纸板也非常友好,像偏薄偏软或者是边角
有卷翘的纸板同样可以无损伤输送,确保了印
刷效果。
性能强大:能在不同速度高、中、低速换速
时,保证印刷位置和开槽位置不变,均可以达
到0误差,实现送纸印刷开槽的无缝衔接。
这两种前缘送纸方式是当前水墨印刷机送纸常见的两种,说了这么多,有人会问了,这两款送纸感觉都挺好,他们有什么缺点嘛
确实这两款送纸结构各有各的好处,缺点我就不在这里过多说了,有想了解的朋友可以关注我一下。


