近日,浙江政务服务网公布了多则处罚信息,绍兴多家纺织公司被罚。

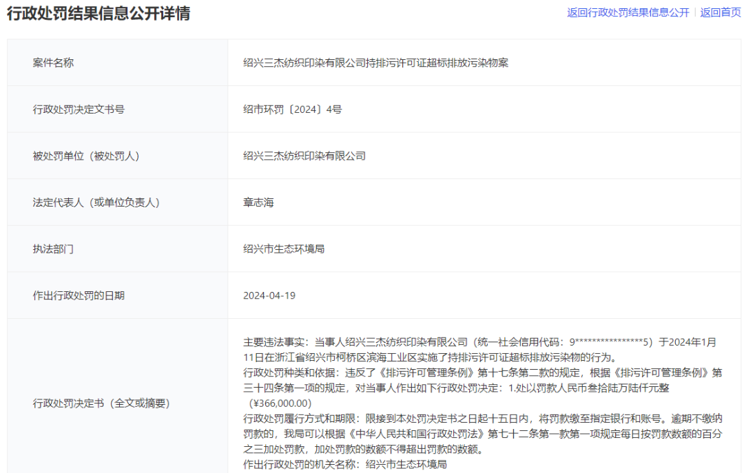
绍兴三杰纺织印染有效公司持排污许可证超标排放污染物案
主要违法事实:主当事人绍兴三杰纺织印染有限公司(统一社会信用代码:9****************5)于2024年1月11日在浙江省绍兴市柯桥区滨海工业区实施了持排污许可证超标排放污染物的行为。
行政处罚种类和依据:违反了《排污许可管理条例》第十七条第二款的规定,根据《排污许可管理条例》第三十四条第一项的规定,对当事人作出如下行政处罚决定:处以罚款人民币叁拾陆万陆仟元整(¥366,000.00)


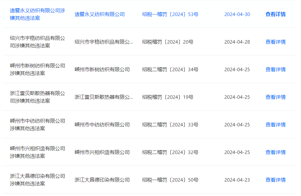
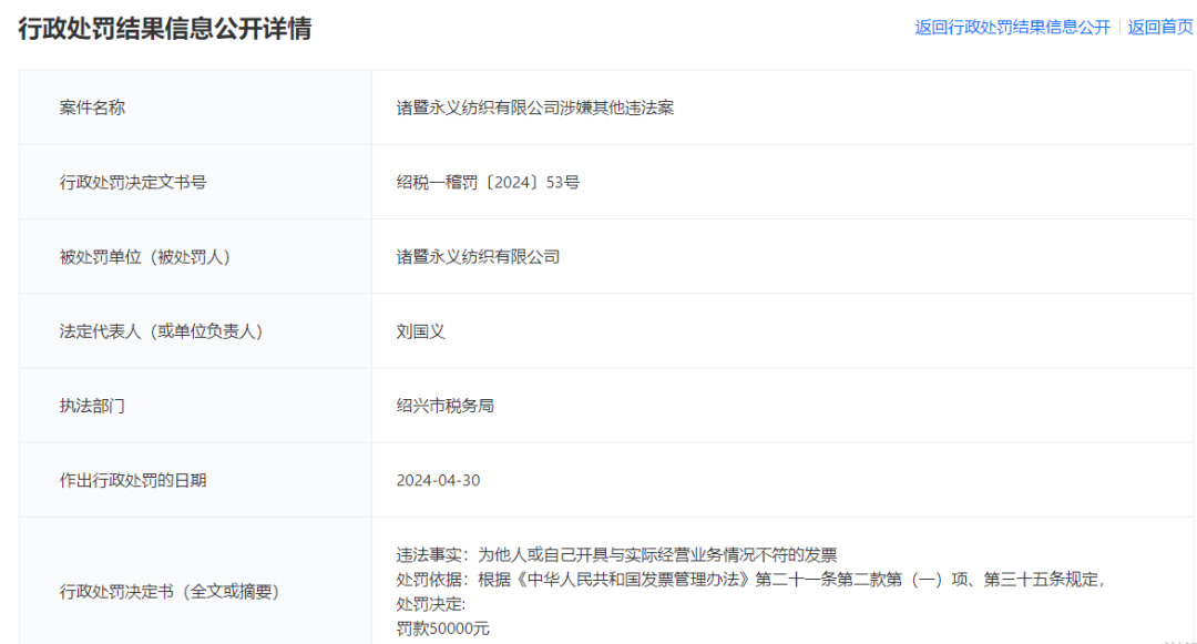
诸暨永义纺织有限公司涉嫌其他违法案
主要违法事实:为他人或自己开具与实际经营业务情况不符的发票

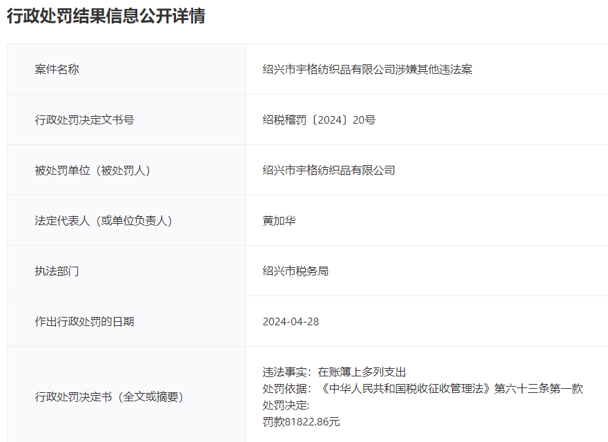
绍兴市宇格纺织品有限公司涉嫌其他违法案
主要违法事实:在账簿上多列支出

嵊州市新树纺织有限公司涉嫌其他违法案
主要违法事实:让他人为自己开具与实际经营业务情况不符的发票
来源:浙江政务服务网
绍兴E网已建立各类本地社群
找朋友、聊八卦
了解更多绍兴资讯
赶紧扫码加入一起交流
(社群不定期更换)











