



商务合作:13115956792(微信同号)

炎炎夏日里,我们每个人或多或少都会出汗,出汗是人体排泄和调节体温的一种生理功能,但有的时候也会给我们带来烦恼,比如夏天常穿的衬衣、T恤衫等服装会在腋窝、后背等部位出现严重的褪色现象。


出现这种现象是由于某些服装的耐汗渍色牢度不合格导致的,那么怎样才能知道纺织品的汗渍色牢度合不合格呢?这里我们讲一下《GB/T 3922-2013 纺织品 色牢度试验 耐汗渍色牢度》的试验方法。
将纺织品试样与标准贴衬织物缝合在一起,置于含有组氨酸的酸性、碱性两种试液中分别处理,去除试液后,放置在试验装置中的两块平板间,使之受到规定的压强,再分别干燥试样和贴衬织物,用灰色样卡或仪器评定试样的变色和贴衬织物的沾色。

40mm×100mm,将试样正面与一块多纤维贴衬缝合或与两块单纤维贴衬缝合。

按照标准使用定量的氯化钠、组氨酸盐酸盐、磷酸氢二钠、磷酸二氢钠等分别配制成酸(碱)汗液。

将一块组合试样放入酸(碱)性试液,使之完全润湿,在室温下放置30min,不时掀压和拨动,以保证试液充分且均匀地渗透到试样中。倒去残液,用两根玻璃棒夹去组合试样上过多的试液。

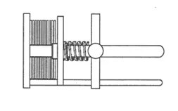
将组合试样放在两块玻璃板或丙烯酸树脂板之间,然后放入已预热到试验温度的试验装置中,使其所受名义压强为(12.5±0.9)kPa。


把带有组合试样的试验装置放入恒温箱,在(37±2)℃下保持4h。根据所用试验装置类型,将组合试样呈水平状态或垂直状态放置。

取出带有组合试样的试验装置,展开每个组合试样,使试样和贴衬仅由一条缝线连接,悬挂在不超过60℃的空气中干燥。
用变色灰色样卡评定每块试样的变色。

用沾色灰色样卡评定每块贴衬织物的沾色。

为了消费者的健康安全,国家强制标准《GB 18401-2010 国家纺织产品基本安全技术规范》对耐(酸、碱)汗渍色牢度A类(婴幼儿纺织产品)的要求≥3-4级;B类产品(直接接触皮肤的产品)、C类产品(非直接接触皮肤的产品)的要求均为≥3级。




