主要业务:
公司业务主要包括:输变电、新能源(多晶硅、风光建设运营)、能源(煤)、新材料(高纯铝、铝及合金制品)。23年营收981亿元,同比增1.79%,净利润140亿元,同比降36.41%。

股权结构:

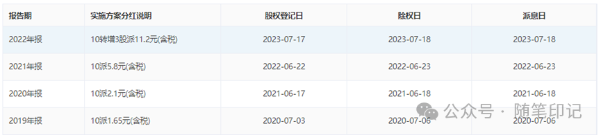
历年分红:
2023年报为10派2.0元

经营分析:
一、资产质量及结构分析
- 货币资金:23年末余额253亿,较22年末增56%。主要因新疆众和发行可转债收到募集资金,应收账款回款增加,银行结构性存款到期。
- 应收&应付账款:应收账款余额自22年、23年逐年下降,收款加强,应付账款则逐年增长明显。应收应付间gap进一步扩大,由22年末-187亿增至-257亿。
- 营运资本:23年末营运资本余额为133亿,较22年末118亿有所提升。主要因发债改善了流动资产。其流通股市值约720亿。



二、负债结构及偿债分析
-流动比率&速动比率:均较22年末有所提升,分别由1.20->1.21, 0.60->0.66。
-资产负债率:负债率较22年末略有提升,由53%左右水平增加到54%左右。
从报表负债结构来看,流动负债占总负债比例为61%,较22年末占比(63%)有所下降。主要因可转债发行、中期票据等,应付债券同比增13亿。


三、经营效率
-应收账款周转天数由22年61天增加至57天
-应付账款周转天数由22年188天增加至192天
-存货周转天数72天,同比持平
-资产周转天数由22年572天增加至665天

四、盈利能力分析
1、主营收入构成及分析
- 23年收入达981亿,同比增1.79%;毛利率水平约为27.5%,同比降11pct。从季度趋势可以看出,Q1收入、毛利率水平为全年最高,Q2大幅下滑,之后下半年收入逐季虽有提升,但毛利率水平持续下滑。
-分产品来看,特变电业务收入同比上涨明显,盈利水平持平;新能源产业,收入、毛利大幅下降;煤炭业务收入略增,盈利能力略降;新材料业务,规模相对较小,其收入,毛利均有下降:
a) 变压器产品:营收184亿,同比增32%;毛利率15.96%,同比降0.19pct。而其销量同比增17.24%。
b) 电线电缆产品:营收135亿,同比增32.56%;毛利率9.55%,同比增0.12pct。
c) 新能源产业及工程:营收280亿,同比降18.39%;毛利率31.95%,同比降25.87pct;主要因多晶硅销量增加,但销售均价大幅下降;
d) 煤炭产品:营收182亿,同比增4.47%,毛利率46.41%,同比降1.22pct;产品疆外销售占比提升,价格下降导致毛利下滑。
e) 铝电子新材料、铝及合金制品:营收5亿,同比降10.04%,毛利率16.99%,同比降3.13pct。主要因高纯铝、电子铝箔、化成箔销售均价下降。
- 分地区来看,国内收入占主导地位,海外收入同比增47.47%,占总收入9.6%。海外业务毛利18.71%,同比增7.05pct,仍低于国内业务28.26%。



2、ROE
- 23年ROE约17%,同比下降明显。
- 扣非ROE趋势与ROE趋势一致且接近,非经常性经营项目影响相对较小。

3、期间费用
- 销售、管理费用同比有明显增长,研发费用略有下降。三项费用合计占收入比例由去年同期7.0%增长至7.7%,其中,管理费用增0.3pct,研发费用降0.1pct,销售费用增0.5pct。
-23年销售费用为28亿,同比增21.5%,主要业务经费、差旅、招待增长明显。管理费用为34.7亿,同比增10.7%,主要因股权激励、差旅、招待、广告宣传增长,而职工薪酬略有下降。研发费用为12.8亿,同比降2.1%,主要因直接投入费用下降。


4、盈利质量
分别从收入、净利润的现金含量来看,与22年末相比,收入现金占比有所改善,由 1.09-> 1.15;净利润现金含量增长明显,由0.95->1.83。
现金流方面,23年经营现金流增长明显,自由现金流为正,较同期有明显改善。


总结:
-从财务数据来看,公司整体上受新能源业务拖累,多晶硅价格下滑,导致整体收入增长缓慢,且为扩张业务,费用大幅增长,盈利能力大幅下滑;因发债、回款加强等原因,当期现金流状况改善明显。24年初至今,多晶硅价格进一步下滑。
-新能源约占公司三成收入,主要为多晶硅的销售,目前该产业产能过剩,多晶硅价格持续下跌,短期内难以有改善的迹象


-按照公司主要业务与相应同比公司来看,特变电工盈利能力相对较好,PE水平处于中间位置。



