



规格尺寸
上衣:
胸围(B)94cm | 领围(N)37cm | 肩宽(S)40cm
腰围(W)78cm | 衣长(L)60cm | 袖长(SL)54cm
裤子:
裤长(L)106cm | 腰围(W)72cm | 臀围(H)94cm
裤口(SB)19cm | 立裆(BR)24cm
面料用料
114cm(门幅)×250cm
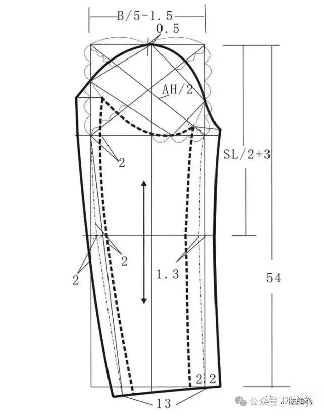
结构制图




工艺要求
胸围放松量10厘米。收腰型,袖窿分割,V字领,宽叠门一粒纽。腰节线向下4厘米横向断开,下段将收腰量合并(见图示)。领口、袖窿、断腰处镶白色绲边。两片式圆装袖。裤子臀围放松量6厘米,前门襟装拉链,无腰型、腰口3厘米分割线。斜插袋,瘦裤口。裤子用皮革面料,因此裤片在原样上做分割,前后挺缝线两侧各4厘米作纵向分割,中裆线作横向分割。
教程2: 服装实战打板200多课再送90课立裁剪最近更到400多课
教程9:猛货500Get服装cad打板教程送700新款大货电子纸样送2020软件1000多课 教程9加“粉丝价99.8圆
教程10《教程2的更新升级现在是4套实战教程400多节课》
教程14素描入门学习水彩课程4系列价值2万元加近300G服装手绘
教程15:文胸 内衣打板 短裤 泳装纸样打版视频教程近30节实战课
教程18:国外大师女西服 礼服 内衣胸衣 风衣高级定制版型和工艺教程
教程20:红帮西服制版男西服打版+七刀眼配袖内部教程有电子笔记
教程22:日本lookstailorx 3d立裁cad软件加全中文视频教程
教程23汉服打版2本实物书+30系列视频教程+资料时时更新 中式曲裾中衣袄裙制版教程
教程24:富怡V10视频教程 服装打板cad打板视频280部+说明书赠送软件
教程25:旗袍打版制作工艺内部干货近400课视频教程传统工艺归拔裁剪盘扣教学赠品超多
教程26:69.8大洋2大组合:苹果mac和所有电脑都可以用CLO.6.1版3D试衣软件CAD制版立裁全中文教程走秀软件教程26
教程27:真正的干货:东华大学3杰之程越明 领子制版视频71课全程高清
教程28:真正的干货:东华大学3杰之程越明大身制版与推板教程
教程31:最全无铭剪打版教程送内部干货和纸样身袖联动合身宽松廊形
教程32:满哥内部3D视频教程赠满哥毕生心血ET教程 基形,大牌纸样数据库
教程33:汉服裁裁剪制版教程《唐宋元明清200多课》汉服打版教程 汉服制作教程
教程34:手工西服高定内部干货90多课再送国外高定20多系列
教程35:羽绒服制版教程干货30多课配《森马版师出品
教程36:高大神40多课视频50来小时有最新更新再送电子手稿加书制版内部干货,高师出名徒
教程38:真正大衣打版120课内部 廓形 茧型 H型X型A型落肩大衣 外套 无省连衣裙
点上方蓝色字体即可查看教程详细介绍更多教程更新关注文章最下方阅读全文




