剑鱼标讯整合全国医疗设备领域招投标数据,制作以下市场分析报告,帮助您的市场决策和拓展。
分析说明
报告来源:剑鱼标讯
行业报告类别:医疗设备行业
分析范围:全国
分析时间范围:2024/01/01-2024/01/31

分析报告详情
1.市场概况
根据剑鱼标讯统计,本月(2024年1月),全国医疗设备领域招投标项目成交总数为1940个,环比上月下降29.02%;中标总金额35.38亿,环比上月下降13.52%;中标项目平均金额182.41万,环比上月增长21.83%;
市场主体方面,本月中标企业总数为2126家,环比上月下降34.58%;完成招标采购的采购单位总数1236家,环比上月下降27.12%;

2.项目规模分布
本月(2024年1月),全国医疗设备领域招投标项目金额落在<10万的项目最多,占项目总量的26.69%。项目金额落在1000万-1亿的项目总金额最高,占总项目金额的39.93%。项目金额结构占比如下图:

项目金额≥1亿的项目数量为:2个;
项目金额1000万-1亿的项目数量为:57个;
项目金额500万-1000万的项目数量为:66个;
项目金额100万-500万的项目数量为:476个;
项目金额50万-100万的项目数量为:282个;
项目金额10万-50万的项目数量为:471个;
项目金额<10万的项目数量为:493个;

附本月项目规模前8的项目名称,项目金额,成交时间以及相应中标单位信息:
1、花溪区大健康服务项目医疗设备采购及安装,项目金额13585.52万元,2024-01-23成交,中标单位是:四川省斯美瑞医疗器械有限公司、国药器械自贡有限公司;
2、南阳市中心医院(东院区)医疗设备,项目金额13345万元,2024-01-03成 交,中标单位是:国药控股河南医疗器械有限公司、河南省中原医药供应链管理有限公司;
3、高端医疗设备研发及制造基地项目,项目金额8140万元,2024-01-02成交;
4、医疗设备整体维修保养服务项目,项目金额8100万元,2024-01-04成交;
5、医疗设备整体维修保养服务项目,项目金额7699.50万元,2024-01-03成交,中标单位是:河北医工医疗设备服务有限公司;
6、邓州市妇幼保健院购置医疗设备采购项目,项目金额5384.95万元,2024- 01-04成交,中标单位是:河南启辰医疗器械有限公司、浙川县鼎力建设工程有限公司;
7、贵阳市第一人民医院"眼压计、电脑验光仪"等医疗设备采购,项目金额4780万元,2024-01-29成交,中标单位是:贵州焕丰健康管理咨询有限公司;
8、裕华区智慧医疗公共卫生服务平台项目医疗设备采购,项目金额4609.76万元,2024-01-16成交,中标单位是:江苏鸿洋生物科技有限公司;
9、天津市滨海新区塘沽妇产医院以IOT模式购置医疗设备项目,项目金额4553.40万元,2024-01-22成交,中标单位是:天津滨海健康产业有限公司;
10、烟台市公共卫生临床中心医疗设备采购(第三批),项目金额4376万元,2024-01-31成交,中标单位是:山东永旭医疗科技有限公司;
3.项目所在省份分布
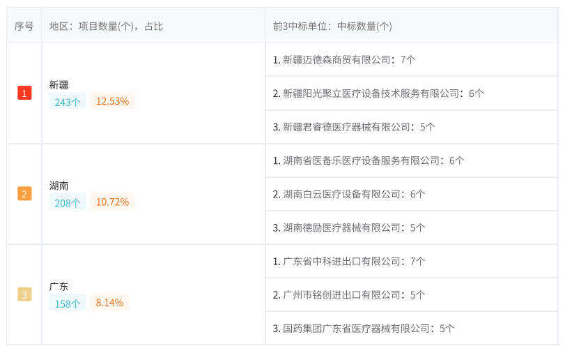
本月,全国医疗设备领域招投标项目数量方面,新疆、湖南、广东中标项目较多,分别达到243个、208个、158个,前3个省份占全国医疗设备领域项目数量的31.39%。

4.项目所在城市分布
以新疆为例:
本月,新疆医疗设备领域招投标项目数量方面,乌鲁木齐市、喀什地区、阿克苏地区中标项目较多,分别达到55个、37个、30个,前3个城市占新疆医疗设备领域项目数量的50.21%。

项目数量前3个地区重点中标单位

5.客户分布
本月,全国医疗设备领域招投标项目中,医疗以1490个项目占据采购数量榜首,卫健委、民政紧随其后,分别为243个、15个,前3类客户采购量占全部项目数量的90.10%。各类客户采购项目数量分布如下图:

以上市场分析报告为部分内容
更多分析报告内容还包括
1、【全国】【医疗设备】 项目规模 TOP10;
2、【全国】【医疗设备】 项目数量 TOP3 地区的重点中标单位;
3、【全国】【医疗设备】 项目金额 TOP3 地区的重点中标单位;
4、【全国】【医疗设备】 项目数量 TOP3 客户类型的重点中标单位;
5、【全国】【医疗设备】 项目金额 TOP3 客户类型的重点中标单位;
6、【全国】【医疗设备】 细分市场的重点中标单位-项目数量;
7、【全国】【医疗设备】 细分市场的重点中标单位-项目金额;
8、【全国】【医疗设备】 采购单位采购规模分布;
9、【全国】【医疗设备】 项目数量 TOP30 采购单位及其重点合作中标单位;
10、【全国】【医疗设备】 采购金额 TOP30 采购单位及其重点合作中标单位;
11、【全国】【医疗设备】 中标单位中标规模分布;
12、【全国】【医疗设备】 项目数量 TOP30 中标单位及其重点合作采购单位;
13、【全国】【医疗设备】 中标金额 TOP30 中标单位及其重点合作采购单位;



