
【识别微信二维码,加入我们的微信群!请注明:姓名+研究方向】
常见药品生产典型工艺流程框图
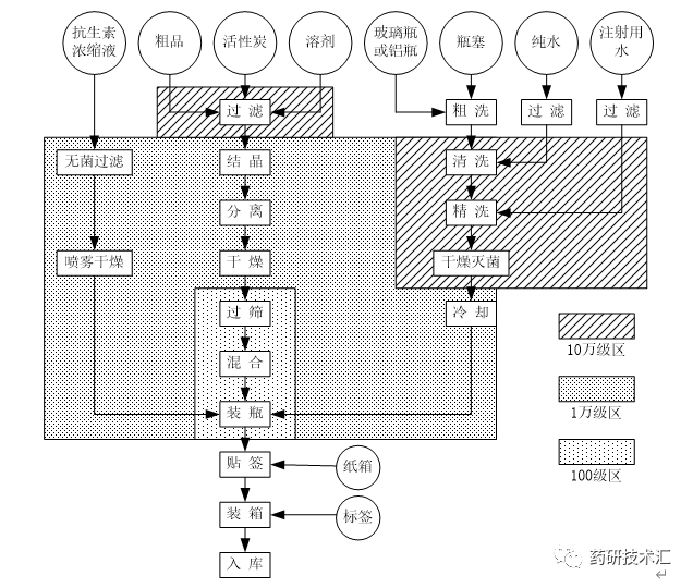
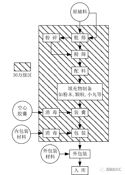
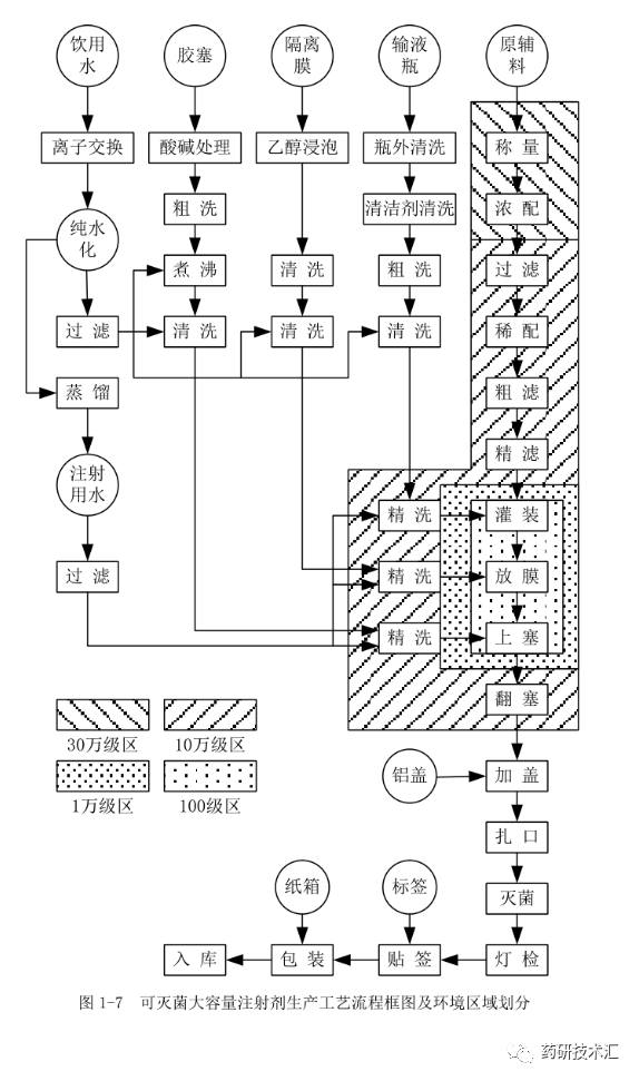
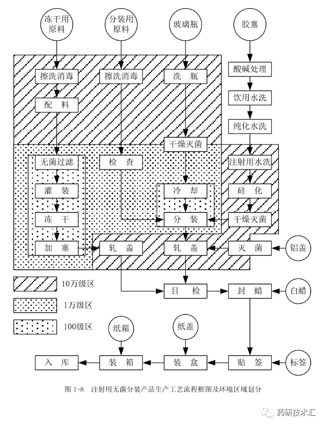
药品生产对环境的洁净等级要求与药品的品种、剂型和生产特点有关。常见药品生产的典型工艺流程及环境区域划分如图1-1至图1-9。

图1-1 非无菌原料药精制、干燥、包装工艺流程框图及环境区域划分

图1-2 无菌原料药精制、干燥、包装工艺流程框图及环境区域划分

图1-3 片剂生产工艺流程框图及环境区域划分

图1-4 硬胶囊剂生产工艺流程框图及环境区域划分

图1-5 压制法软胶囊剂生产工艺流程框图及环境区域划分

图1-6 可灭菌小容量注射剂生产工艺流程框图及环境区域划分



会议培训汇总
| 地点 | 时间 | 会议主题(如需了解详情请点击文字链接查看) |
| 线上 | 3月15-16日 | 【线上】药品研发质量管理体系七大模块从建立到落地实施 |
| 线上 | 3月16-17日 | 【线上】从IND、NDA到商品化生产生命全周期的质量标准与方法验证全解析 |
| 线上 | 3月20-22日 | 【杭州】MAH委托生产合规管理及能力提升实操 |
| 线上 | 3月22-24日 | 【杭州】质量负责人/质量受权人(QP) |
| 线上 | 3月28-29日 | 【线上】临床试验数据管理 |
| 线上 | 3月30-31日 | 【线上】化药工艺开发CQA及CPP评估实操演练 |
报名咨询
更多服务(培训、检测、技术推广)
药驿站公众平台服务窗口:


识别微信二维码,加入我们的微信群!请注明:姓名+研究方向!

版权声明
本公众号所有转载文章系出于传递更多信息之目的,且明确注明来源和作者,不希望被转载的媒体或个人可与我们联系(274190388@qq.com),我们将立即进行删除处理。所有文章仅代表作者观点,不代表本站立场。



