
有机产品是指来自有机农业生产体系,根据有机认证标准生产、加工,并经认证机构认证的农产品及其加工产品,包括粮食、食用油、蔬菜、水果、畜禽产品、水产品、奶制品、蜂产品、茶叶、酒类、饮料、调味料等。
随着国民生活水平的提高,中国对食品安全的重视程度在不断增强,食品安全问题被提到了前所未有的高度,从源头防止农产品污染,建立统一规范的农产品质量安全标准体系,开展农产品和食品认证工作也成为各级政府大力推进的一项重要工作。有机认证产品的出现不止促进了我们农业的可持续发展,也促进了我们生态的可持续发展。不仅给消费者提供了健康绿色的食物,更是提供了营养价值更高更优质的食物。目前,中国商务部等十一个部委正在积极采取措施,推进有机食品产业的发展将加大扶值力度,制订产业发展规划。近期也有多处地区政府发布关于农产品质量安全认证补贴项目情况的公示文件,其中要求大力发展和鼓励企业进行有机产品认证,政府会给予企业一定的补贴金额。
满足国内"绿色"、"环保"的消费需求;
提升企业内部管理水平,助力企业合规、高质量发展;
用自然、生态平衡的方法从事农业生产和管理,保护环境,实现可持续发展;
产品标签上可以加施认证标志,提高产品市场竞争力,加快产品进入高端消费者市场;
市场监管方面,可以增强政府和行业采信力度,国家市场监督管理总局全国认证认可信息公共服务平台可以查询获证企业产品信息。
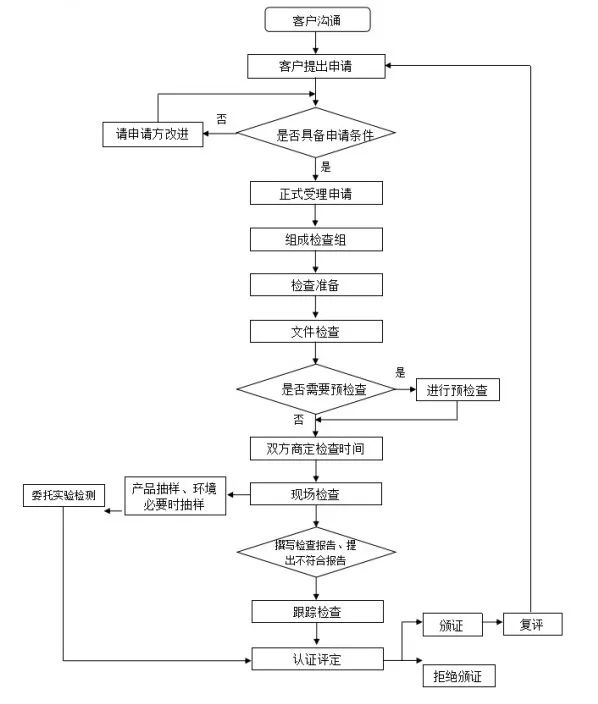
联食认证依据《有机产品认证实施规则》、《GB/T 19630有机产品 生产、加工、标识与管理体系要求》对有机产品进行基地现场+产品抽样和文件审查的方式进行检查工作。通过一次认证活动对有机产品保证能力等做出全面评价,以评定企业产品是否符合有机产品认证的要求。
有机产品认证的范围主要根据由国家认证认可监督管理委员会发布的《有机产品目录》当中规定的产品进行认证,不包含在目录内的产品不可以申请有机产品认证,《有机产品目录》在国家认证认可监督管理委员会(http://www.cnca.cn/)官网可查。



若您有有机产品认证相关需求,欢迎联系我们。


来源:北京联食认证服务有限公司
提醒:文章用于学习和交流,仅供参考!如有不当,欢迎留言指正和交流。且读者不应该在缺乏具体的专业建议的情况下,擅自根据文章内容采取行动,因此导致的损失,此公众号运营方不负责。如文章涉及侵权或不愿我平台发布,请联系处理。

北京联食认证服务有限公司
北京联食认证服务有限公司(以下简称“联食认证”)是食品伙伴网旗下,经国家认证认可监督管理委员会批准的专业的第三方认证机构(批准号:CNCA-R-2020-681)。作为一家从事食品行业认证的专业认证机构,联食认证拥有雄厚的行业资源和权威的专业技术资源,拥有食品行业顶尖知名专家团队、拥有一支专业化的检查员队伍、签约了一批获认可的国家级检测机构,建立了规范的内控管理体系。联食认证可为食品企业提供质量管理体系认证、危害分析与关键控制点(HACCP)认证、食品安全管理体系认证、环境管理体系认证、职业健康安全管理体系认证、食品合规管理体系认证、有机产品认证等认证服务,还可以针对细分食品行业提供无糖食品认证、富硒产品认证、纯粮固态白酒认证、酒类产品质量安全认证、茶叶产品质量安全认证、代用茶产品质量安全认证等自愿性产品认证服务。联食认证定位于打造食品高端品质认证和质量安全认证,致力于推动技术进步,产品升级和核心竞争力增加,帮助消费者识别质量安全品质,引导消费推动和促进我国食品行业高质量发展。

扫描二维码加入食农认证联盟交流群
与行业好友共同探讨食农认证知识




