石油化工企业中的管道, 常用伴热的方法以维持生产操作及停输期间管内介质的温度。它的特点是伴热介质取用方便, 除某些特殊的热载体外, 都是由企业的公用工程系统供给。伴热方式多种多样, 适用于输送各种介质及操作条件下的工艺管道。通过几十年的实际运行,证实安全可靠。
一、 伴热介质
1. 热水
热水是一种不常用的伴热介质, 适用于在操作温度不高或不能采用高温伴热的介质的条件下, 作为伴热的热源。当企业有这一部分余热可以利用, 而伴热点布置比较集中是时, 可优先使用。有些厂用于原油罐或添加剂罐的加热, 前者是为了节省蒸汽利用余热, 后者是控制热源介质的温度, 防止添加剂分解变质。
2. 蒸汽
蒸汽是国内外石油化工企业中广泛采用的一种伴热介质, 取用方便, 冷凝潜热大, 温度易于调节, 使用范围广。石油化工企业中蒸汽可分高压、 中压及低压三个系统, 而用于伴热的是中、 低压两个系统,基本上能满足石化企业中工艺管道的使用要求。
3. 热载体
当蒸汽(指中、 低压蒸汽) 温度不能满足工艺要求时, 才采用热载体作为热源。这些热载体在炼油厂中常用的有重柴油或馏程大于300℃馏分油;在石油化工企业中有联苯-联苯醚或加氢联三苯等。
热载体作伴热介质, 一般用于管内介质的操作温度大于 150℃的夹套伴热系统。
4. 电热
电热是一种利用电能为热源的伴热技术。电伴热安全可靠, 施工简便, 能有效地进行温度控制, 防止管道介质温度过热。
二、 伴热方式
1. 内伴热管伴热
伴热管安装在工艺管道(以下也称主管) 内部, 伴热介质释放出来的热量。全部用于补充主管内介质的热损失。这种结构的特点:
(1) 热效率高, 用蒸汽作为热源时, 与外伴热管比较, 可以节省 15~25%的蒸汽耗量;
(2) 内伴热管的外侧传热系数, 与主管内介质的流速、 粘度有关;
(3) 由于它安装在工艺管道内部, 所以伴热管的管壁加厚。无缝钢管的自然长度一般为 8~13 米, 伴热管的焊缝又不允许留在工艺管道内部,因此弯管的数量大大增多, 施工工程量随之加大。
(4) 伴热管的热变形问题应予重视, 否则将引起伴热管胀裂事故, 既影响产品质量, 又要停产检修。
(5) 这种结构型式不能用于输送有腐蚀性及热敏性介质的管道。一般很少用于石化企业工艺管道。
2. 外伴热管伴热
外伴热管是目 前国内外石化企业普遍采用的一种伴热方式, 其伴热介质一般有蒸汽和热水两种。伴热管放出的热量, 一部分补充主管(或称被伴管) 内介质的热损失, 另一部分通过保温层散失到四周大气中。
在硬质圆形保温预制管壳中, 主管与伴热管之间有一最大的保温空间,也就是伴热管放出的热量, 几乎全部代替主管的热损失, 因而这种型式的伴热保温结构, 热源的耗量是最省的。
当伴热所需的传热量较大(主管输送温度大于 150℃) 或主管要求有一定的温升时, 常规伴热设计将难以满足工艺要求, 需要多管(伴热管根数超过 3 根) 伴热。在这种情况下, 应采用传热系数大的伴热胶泥, 填充在常规的外伴热管与主管之间, 使它们形成一个连续式的热结合体(如图 1-1 所示), 这样的直接传热优于一般靠对流与辐射的传热。因此, 一根带传热胶泥的外伴热管相当于用 3 根同直径的常规伴热管的作用。其结构如图 1-1 所示。

实践证明带传热胶泥的外伴热管可以代替投资昂贵的夹套管及多根伴热管。它能提供与夹套管一样的传热效果 如图 1-2 所示。
综上所述, 外伴热管在石化企业中能广泛的应用, 其主要原因有以下几点:
(1) 适应范围广, 一般操作温度在 170℃以下的工艺管道都可以采用。
输送有腐蚀性或热敏性介质的管道, 不能用内伴热及夹套伴热,但对于常规的外伴热管, 只要在主管与伴热管之间用石棉板隔热后, 仍可采用。
(2) 施工、 生产管理及检修都比较方便。伴热管损坏后, 可以及时修理、 既不影响生产, 又不会出现质量事故。
(3) 带传热胶泥的外伴热管, 它的传热率非常接近于夹套管。同时传热胶泥能对任何部分维持均匀的温度。
(4) 传热胶泥使用寿命长, 具有优良的抗震能力。在加热与冷却交替循环的操作条件下, 不会发生破裂、 剥落及损坏现象。传热胶泥也可用于电伴热系统。
3. 夹套伴热
夹套伴热管即在工艺管线的外面安装一套管, 类似套管式换热器进行换热。在理论上只要伴热介质温度与内管介质的温度相同, 或略高一些, 就能维持内管介质的温度, 这时蒸汽消耗量只要满足本身的热损失, 因而伴热效率是比较高的。
常用的夹套管基本上分为两种类型:
(1) 管帽式夹套管
管帽式夹套管要求内管焊缝全部在夹套外侧。这种结构又称内管焊缝外露型, 如图 1-3 所示。

(2) 法兰式夹套管
法兰式夹套管的内管焊缝全部在夹套内部, 法兰及阀门处都能通过伴热介质, 不会产生局部(指法兰及阀门处) 热损失, 达到全线在夹套下伴热的目的。这种类型又称内管焊缝隐蔽型。如图 1-4 所示。

夹套管伴热耗钢量大, 施工工程亦大。但它能应用于外伴热管不能满足工艺要求的介质管道。如石化企业中输送高凝固点, 高熔点介质的管道, 需采用这种伴热方式。
4. 电伴热
以往管道伴热多用蒸汽作外供热源, 通过伴热管补偿其散热损失。
这种传统的伴热方式, 伴热所需维持的温度无法控制;耗热量大, 安装和维修的工作量大, 生产管理不方便。采用电伴热可以有效利用能量, 有效控制温度。电伴热方式有感应加热法、 直接通电法、 电阻加热法等。
在实践过程中, 蒸汽外伴热管伴热是一种使用最多的伴热方式,
故叙述蒸汽外伴热的设计原则, 其它伴热方法参见其它有关规定。
三、 设计原则
1. 伴热设计的原则
(1) 管道伴热设计, 一般情况下仅考虑补充管内介质在输送过程或停输期间的热损失, 以维持所需的操作温度, 不考虑管内介质的升温。
(2) 对于工艺有特殊要求, 介质需要升温的管道, 可以选用特殊的伴热方式进行升温输送。
(3) 下列条件的管道应考虑保温伴热。
a. 在环境温度下, 需从外部补充管内介质的热损失, 以维持输送温度的液体管道;
b. 在输送过程中, 由于热损失产生凝液而引起腐蚀或影响正常操作的气体管道;
c. 在操作过程中, 由于在压力突然下降而自冷, 可能导致结冰堵塞或管道剧冷脆裂的管道;
d. 在切换操作或间歇停输期间, 管内介质由于热损失造成温度下降, 又不能放空或扫线而影响下次输送的管道;
e. 在输送过程中, 由于热损失造成降温, 导致析出结晶体的管道;
f. 在输送高粘度介质时, 由于热损失导致介质温降后粘度剧增, 输送量下降且其量达不到工艺允许量一半的管道;
g. 在历年一月份平均温度的平均值低于 0℃地区, 保温管道扫线后仍有存水无法排净的局部管段。
h. 输送介质的凝固点等于或高于环境温度的管道。
2. 伴热介质的选用
(1) 管内介质温度在 95℃以下的管道, 应选用 0. 3~0. 6Mpa 的蒸汽作为热源。在伴热点(或称加汽点) 集中地段, 也可选用热水伴热。
(2) 管内介质温度在 95~150℃之间的管道, 应选用 0. 7~0. 9Mpa的蒸汽伴热。
(3) 输送温度在 150℃以上的管道, 当 0. 9Mpa 蒸汽还不能满足工艺要求时, 可选用热载体作为伴热介质。
(4) 夹套管的伴热介质温度可等于或稍高于被伴介质的温度, 但不宜高于被伴介质温度 50℃。
3. 伴热方式的选用
(1) 输送介质的凝固点低于 50℃的管道, 可选用外伴热管伴热。
当有特殊要求且工艺管道的公称直径大于 150mm 时, 也可选用内伴热管伴热。
(2) 输送介质的凝固点从 50~100℃的管道, 或经常处于重力自流, 或停滞状态的易凝介质的管道, 宜选用管帽式夹套管伴热, 或带传热胶泥的外伴热管伴热。
(3) 输送介质的凝固点高于 100℃的管道, 应选用法兰式夹套管伴热。管道上的法兰、 阀门应带夹套型。
(4) 输送腐蚀性介质或热敏性介质的管道, 严禁使用内伴热管、带传热胶泥的外伴热管及蒸汽夹套管伴热。可选用外伴热管伴热, 但伴热管与主管之间应有隔热措施。
(5) 加热炉前的燃料气体, 为了防止冷凝带液影响燃烧, 可用夹套伴热。
(6) 工艺管道要求在输送过程中有一定温升时, 可选用带传热胶泥的外伴热管或夹套管伴热。
(7) 对于在 100℃左右或大于 100℃时, 管内介质易于分解、 聚合或产生其它物性改变的物料, 应采用热水外伴热管伴热, 热水温度可根据工艺操作条件确定。
(8) 输送有毒介质的管道当采用夹套管伴热时, 应采用管帽式夹套管。
一、 蒸汽外伴热管
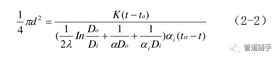
1. 伴热管直径计算
外 伴 热 管 的 计 算 公 式 受 保 温 结 构 的 影 响 , 现 分 述 如 下 。

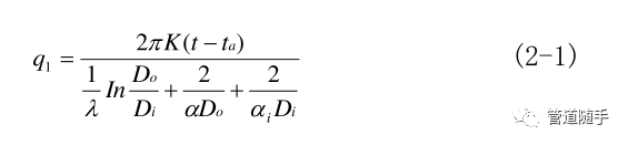
(1) 圆形保温壳的伴热计算, 这种保温结构(如图 2-1 所示) 相当于一圆管内壳, 在保温层内壁与工艺管道(或简称主管)的外壁(包括伴热管的外壁) 之间有一“加热空间”, 这样主管通过保温层散失到四周大气中的热量, 在伴热计算中可以略去不计。据此, 计算公式大为简化。
伴热管道的热损失

则外伴热管所需要的伴热内径

伴热管的根数

(2) 非 圆 形 保 温 结 构 的 伴 热 计 算

这种结构系指软质保温材料, 加入某种粘合剂后, 制成的圆形保温管壳, 安装经紧扎后变形为非圆形的保温结构(如图 2-2~3 所示),亦称异形保温壳。
这时管壳出现一个散热角 α , 它是主管与保温层接触部分, 也就是主管通过这部分把热量散失到四周大气中去。另一个加热角 β ,由它传热于主管内介质的热损失。值得注意的问题是:在施工过程中异形保温结构下部加热空间不得用保温材料或勾缝用料加以堵塞或填充(采用传热胶泥例外)。否则所有的加热角绝大部分要转变为散热角, 大大降低伴热效果。
如果要用某种软质保温材料, 一定要在主管与伴热管的外围包覆一层铁丝网, 以保证它的加热空间。

这种结构形式的伴热管计算公式较圆形结构复杂。本手册仅列出异形保温结构的保温厚度与伴热管直径的关系, 不作详细推导。
异形保温结构伴热管外径与保温厚度的关系式:

(3) 式 2-1~4 中符号意义及有关参数取值
式中 D o -保温层外径, m;
D i -保温层内径, m;
d-伴热管计算 径, m;
d o -伴热管公称直径, m;
K-热损失附加系数;一般取 1. 15~1. 25;
n-伴热管根数, 根;
q 1 -带外伴管的管道损失, w/m;
α -散热角, 度;
β -加热角, 度;
t-主管内介质温度, ℃;
t st -饱和蒸汽温度, ℃;
t k -加热空间温度, ℃;
在异性保温结构中, tk >t, 一般高于 t 约 10~40℃。主管内介质的操作温度越高, 则 tk -t 的差值越小。
t a -环境温度, ℃;
取历年一月 份月 平均温度的平均值
α -保温层外表面向大气的放热系数;

V -风速, m/s;
取历年年平均风速的平均值
a i -保温层内加热空间空气保温层的放热系数
一般取α i =13. 95, W/m2 •K;
a t -伴热管向保温层内加热空间的放热系数 W/m2•K;
在不同蒸汽压力下的 a t 值见表 2-1。

λ —保温材料制品的导热系数, W/m•K。
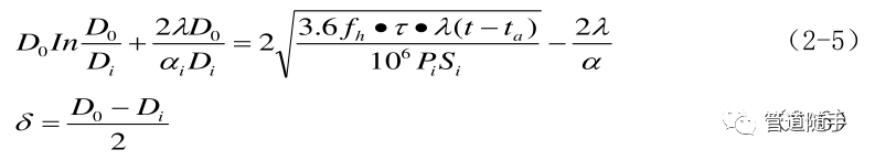
2. 带外伴热管管道的保温层经济厚度计算,
计算公式见式 2-5~式 2-6:

式中 f h — 热能价格, 元/10^6 kJ;
P i — 保温层结构的单位造价, 元/m3 ;
P t— 伴管单位造价, 元/kg ;
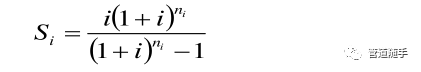
S i— 保温工程投资偿还年分摊率, 按复利计算;

S t— 伴热工程投资偿还年分摊率, 按复利计算;

n i— 伴热工程贷款计息年数, 年;
n i— 保温工程贷款计息年数, 年;
i — 年利率(复利) , % ;
δ t— 伴热管管壁厚度, m;
τ — 年运行时间, h;
ρ — 钢材密度, kg/m3 ;
δ — 保温层厚度, m;
t α — 环境温度, ℃;
取历年夏季空气调节室外计算干球温度;其它符号同前。
3. 伴热管直径及根数的选用
工艺管道所需的外伴热管的直径及根数, 可以采用上一节计算公式计算确定。但工程上应用必须注意两个问题, 一是伴热管的最小内径, 不使生产中在弯曲处造成锈渣杂物堵塞, 影响通汽量降低伴热效果。
二是规格不宜过多, 要便于选用及安装。
推荐外伴热管最小直径为DN 15、 最大为DN 25, 根数不超过3根。
在不同环境温度及工艺操作条件下, 伴热管直径与根数可按表2-2选用。
表 2-2 伴管直径及根数选用

注:表中被伴介质温度≤120℃时, 按 0. 6Mpa 蒸汽计算; 被伴介质温度≥150℃时, 按0. 9Mpa 蒸汽计算。
4 . 伴热长度
伴热管的供汽点(或称加汽点) 至排凝点(或称放水点) 的最大允许长度(距离) 称为伴热长度。可按式 2-7 近似计算。

式中 L max — 伴热管的最大允许长度, m;
g max — 伴热管在允许压力降下的最大蒸汽用量, kg/ h;
g 1 — 主管伴热用的蒸汽耗量, kg/m• h;
见式 2-8。
A X — 修正系数, 一般取 0. 6~0. 7。
根据国内石油化工企业中实际运行的伴热长度、 同时参考国外设计公司及引进装置的有关资料。推荐可按表 2-3 确定伴热长度。
表 2-3 伴管伴热长度 m

使用上表中的伴热管长度, 还需注意以下两点:
当伴热管在允许伴热长度内出现U形弯时, 则以米计的累计上升高度, 不宜大于以蒸汽压力与疏水阀出口压力差值(以 Mpa 计) 的 40 倍。
例如:蒸汽压力为 0. 6Mpa 疏水阀出口压力 0. 2Mpa。则允许累计上升高度为
40(0. 6-0. 2) =16m
(2) 当伴热蒸汽的冷凝水不回收时, 表中伴热长度可延长20~30%。
5. 伴热管的蒸汽耗量
(1) 计算公式:

式中 g 1 — 蒸汽用量, kg/m• h;
q 1 — 带外伴热管的管道热损失, w/m;
H v — 饱和蒸汽的焓, kJ/kg;
H i — 饱和水的焓, kJ/kg;
K — 热损失附加系数, 一般取 1. 15~1. 25。
(2) 推荐数值 为了方便设计, 单位长度和单位时间内外伴热管的蒸汽用量可按表 2-4 选用。
表 2-4 外伴热管的蒸汽用量 kg/m•h
(一) 带传热胶泥外伴热管
1. 传热胶泥的技术指标
(1) . 有机型传热胶泥技术指标见表 2-5。
表 2-5 有机型传热胶泥技术指标
(2) 无机型传热胶泥指标见表 2-6。
表 2-6 无机型传热胶泥技术指标
(3) 斯蒙传热胶泥技术指标见表 2-7。
表 2-7 斯蒙传热胶泥技术指标

2. 工程应用
带有传热胶泥的外伴热管直径及根数可按表 2-8 选用。
表 2-8 带有传热胶泥外伴热管管径及根数选用

(一) 一般要求
1. 蒸汽外伴热管
(1) 伴热管必须从主蒸汽管或蒸汽分配管顶部引出, 并靠近引出处设切断阀。
(2) 每根伴热管宜设疏水阀。
(3) 在 3 米半径范围内如有三个或三个以上供汽点或排凝点时, 则应在该处设蒸汽分配管或凝水集合管, 并应在分配管或集合管上设置备用接头。
(4) 通过疏水阀后不回收的冷凝水, 宜集中引入一汽水分离器内,将废汽高空排放, 冷凝水应引至附近排水沟。
(5) 每根伴热管应尽量高点供汽, 沿工艺管线由高向低敷设, 在最低点排凝; 并尽量减少“U” 形水袋, 以防止产生液阻和气阻。
(6) 当主管要求伴热而支管不要求伴热时, 该支管上的第一个切断阀(靠近主管处) 应予伴热。要求伴热的管道上的取样阀、 放气阀、扫线阀和排液阀等均予伴热。
(7) 伴热管可不设低点排液阀。
2. 带传热胶泥的伴管.
(1) 传热胶泥应根据产品性能确定使用方法。
(2) 有机型传统胶泥应采用填角法, 把胶泥填充在主管与伴管之间, 如图 3-1 中 b 所示。
(3) 无机型传热胶泥应采用抹子把胶泥在伴管四周抹匀, 保证伴管在胶泥之中如图 3-1 中 a 所示。

3. 外伴管必须采用无缝钢管。
4. 伴管连接应采用焊接。当经过被伴管的阀门、 设备和法兰时, 为便于拆卸检修应采用法兰连接。
5. 被伴管为水平敷设时, 伴管应安装在被伴管下方一侧或两侧。当被伴管为垂直敷设而伴管等于或多余二根时, 宜沿被伴管四周均匀布置。
6. 伴管可用金属扎带或镀锌铁丝捆扎在被伴管道上, 捆扎间距为1~1. 5m。有垫层的伴管在垫层出捆扎;当伴管捆扎材料与被伴管有接触腐蚀时, 在接触处应加石棉布隔离垫。见图 3-2 所示。

7. 伴管不得直接焊接在被伴管上作固定点。
8. 伴热管的热补偿, 可按下列要求设计。
(1) 当伴热管供气点至排凝点之间的直线段不超过 40m 时, 可采用中间固定方式, 不设补偿器。
(2) 当伴热管供气点至排凝点之间的直线段大于 40m 时, 除 L 型自然补偿的管段外, 每隔 30~40m 设一补偿器。
(3) 补偿器可采用“U” 型、“Ω ” 型或螺旋缠绕型。
(4) 伴管随被伴管转弯作自然补偿时, 伴管固定点的设置应使被伴管弯头处的保温结构不受损坏。
(二) 伴热管安装结构图
1. 外伴热管安装见图 3-3~图 3-5。



2. 供汽分配管(或称集合管) 安装图例
(1) 适用于管架敷设的工艺管道
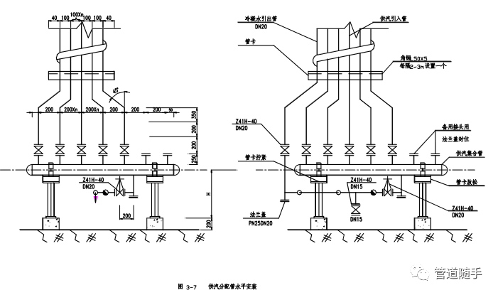
a. 供汽分配垂直安装见图 3-6

b. 供汽分配管(集合管) 水平安装见图 3-7, 分配管(集合管) 的直径可按表 3-1 选定。
表 3-1 分配管(集合管) 的直径


(2) 在管墩敷设的工艺管道的水平安装的冷凝水集合管见图3-8。

3. 冷凝会集合管安装图例
(1) 适用于管架敷设的工艺管道
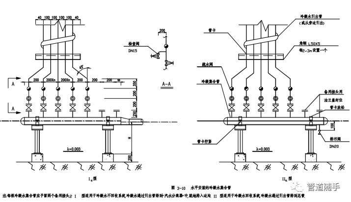
a. 垂直安装的冷凝水集合管见图 3-9。

b. 水平安装的冷凝水集合管见图 3-10。其集合管的直径可按表3-2 选定。
表 3-2 冷凝水集合管的直径


(2) 在管墩敷设的工艺管道的水平安装的冷凝水集合管见图 3-11。

4. 汽水分离器
(1) 适用于6根(以及6根以下) 伴热管的汽水分离器如图 3-12所示。

(2) 7 根以上的伴热管的汽水分离器如图 3-13 所示。

表 3-3 材 料 表

5. 伴热管经过阀门、 法兰时安装结构图见图 3-14。其结构尺寸按表3-4 选定。

表 3-4 外伴热管过法兰、 阀门时安装结构尺寸

6. 外伴热管捆扎图见图 3-15。

7. 外伴热管固定管卡图见图 3-16~17。固定管卡的结构尺寸按表3-5。
表 3-5 固定管卡的结构尺寸

表 3-6 固定管卡的结构尺寸



化工管道伴热的画法分为传统画法合简洁画法。
4. 1 传统画法
4. 1. 1 传统画法图纸组成
1. 伴热系统图
2. 伴热布置图(分配站、 收集站) , 不单独出表示在管道平面布置图上。
3. 伴热轴测图(附伴管轴测图索引) : 蒸汽分配站轴测图、 冷凝液收集站轴测图。
4. 蒸汽分配站表、 冷凝液收集站表及伴热管表。
5. 伴热结构在管道安装说明中说明, 伴热材料汇总在综合材料表中。
4. 1. 2 伴热系统的画法规定:
1. 伴热系统图
画出所在区分配站、 收集站的外形和蒸汽引入管及阀门、 冷凝水引出管及阀门, 被伴热主体用长方框表示, 被伴热管道号、 仪表号等写在方框内。标注分配站及收集站的编号, 不标注个站的管口号。
用粗实线画出伴热管线的起止走向, 表示疏水器安装的相对位置(如有些疏水器装在伴管的最低点而不装在靠近盘的地方) , 伴热管为不锈钢时标注材质分界等。
不按比例, 图幅为 1# 或 2 # 。
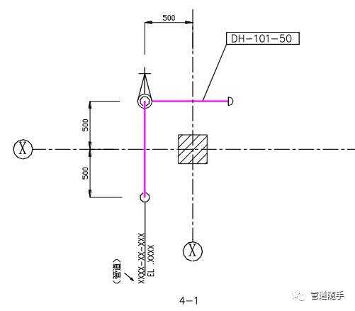
2. 伴热布置:
在管道布置图上, 用粗实线按比例画出蒸汽分配盘及冷凝水收集盘及冷凝液水收集盘, 并标注定位尺寸及其编号, 编号写在长方框内。同时按比例绘制从收集站到冷凝液收集主管的管道及阀门, 并注出各自的管道号及定位尺寸, 标高。如下图 4-1:
图片上传失败,请稍后重试
重试

3. 伴管轴测图:
蒸汽伴热的管道, 全部绘制伴管轴测图, 并编制伴管轴测图索引表。
每组伴管及蒸汽分配盘和冷凝水收集盘均应绘制轴测图。
4. 2 简化画法
4. 2. 1 简化画法是本着方便施工、 简化设计、 缩短设计周期而派生出的一种画法。设计将传统画法中的伴热系统图及伴管轴测图合并为伴热系统安装图, 其它图纸、 表格同传统画法。
4. 2. 2 此图中蒸汽分配站及冷凝液收集站布置方位与管道平面图一致, 标注蒸汽分配站及冷凝液收集站编号。所在 ELXX 平面、 轴测图号。此图中疏水阀、 切断阀只是示意, 蒸汽分配站及冷凝液收集站详细布置见轴测图。