一、简介
财务对接为本公司的大型仪器管理系统与学校内部的财务系统进行打通的结果,主要业务为课题组的充值与学校的财务系统余额进行挂钩,可以通过获取课题组负责人的财务系统的项目余额进行划账到课题组的预存额度,而且也可以打印以及预览相关的预约单等,超管及课题组负责人则可以查看充值情况明细。
二、财务对接产品介绍
2.1课题组充值

课题组负责人的的用户可以在我的课题组进行充值操作,然后会访问财务系统用户的项目。

获取到用户的项目的信息及余额后,课题组负责人可以选择充值点 余额然后进行保存
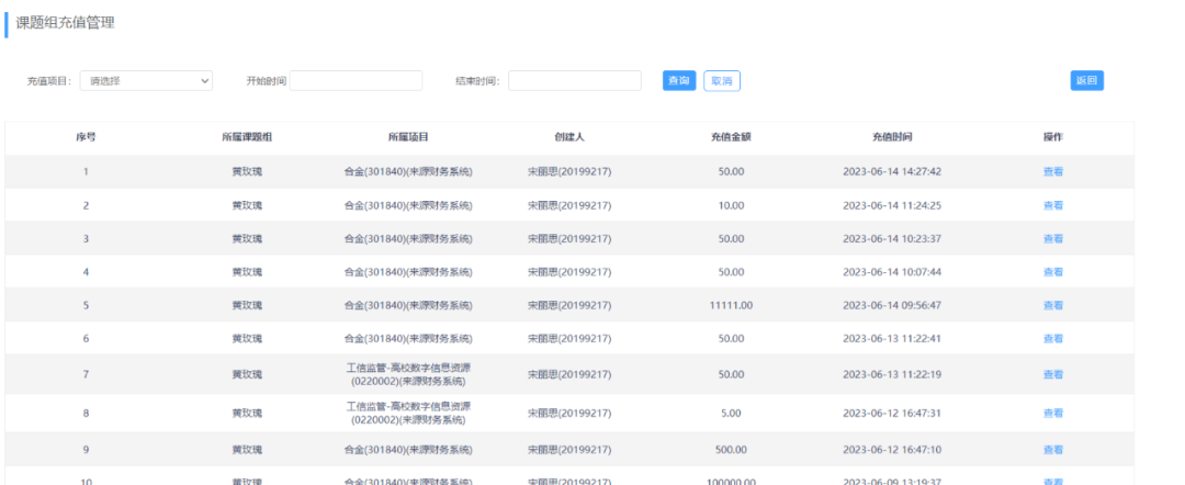
2.2充值记录查看


课题组负责人可以在我的课题组里查看充值的记录,费用管理员或超级管理员也可以在课题组管理界面查看所有课题组的充值情况,包括了所属财务系统的项目、充值时间、涉及额度以及创建人。
2.3充值报销单

可以通过查看进行收费充值单以及收费报销单的预览及打印

