返回
展会资讯
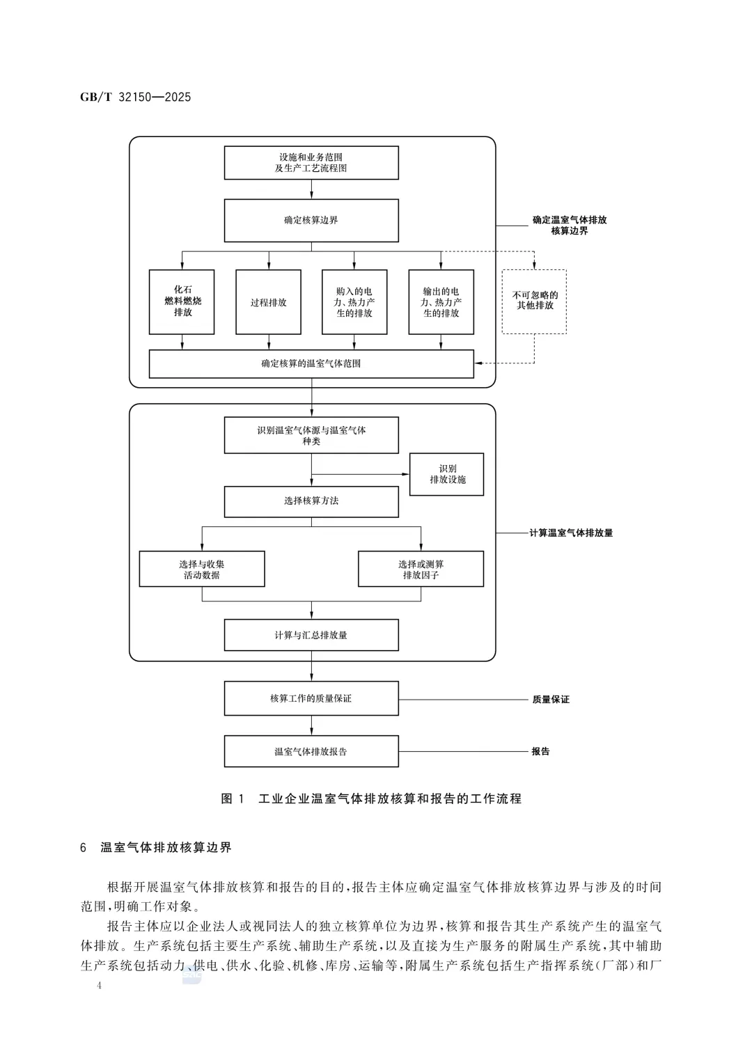
《工业企业温室气体排放核算和报告通则》(GB/T32150-2025)
2026-02-06 16:46
《工业企业温室气体排放核算和报告通则》(GB/T32150-2025)
点击 ? 关注我们
2026 SUMMARY
关注我们
打赏
发表评论
0评