

勤耕创新,硕果飘香
大唐陕西扑面而来的科技范~
只要敢创新、能创效
人人都可以当主角
对标找差创一流
你的“点子”很重要!
碰撞思想、交流成果
谁才是最强大脑?
让我们一起瞧一瞧~

案例名称
一种水轮机导叶套筒轴套拆除专用工具
主创班组
石泉水电厂点检维护部机械维护班
主创人员
王 泰 李诗佳

创新背景
该厂在对湖北崔家营水利航电枢纽6号机组进行A级检修过程中,发现该机组上、下轴套出现了不同程度的磨损,需对轴套进行更换。但在拆除中,因为现有技术存在的不便与缺陷,极易损坏套基或者轴套本体,而且在拆除的过程中大有无从下手之困惑,耗时耗力。
创新做法
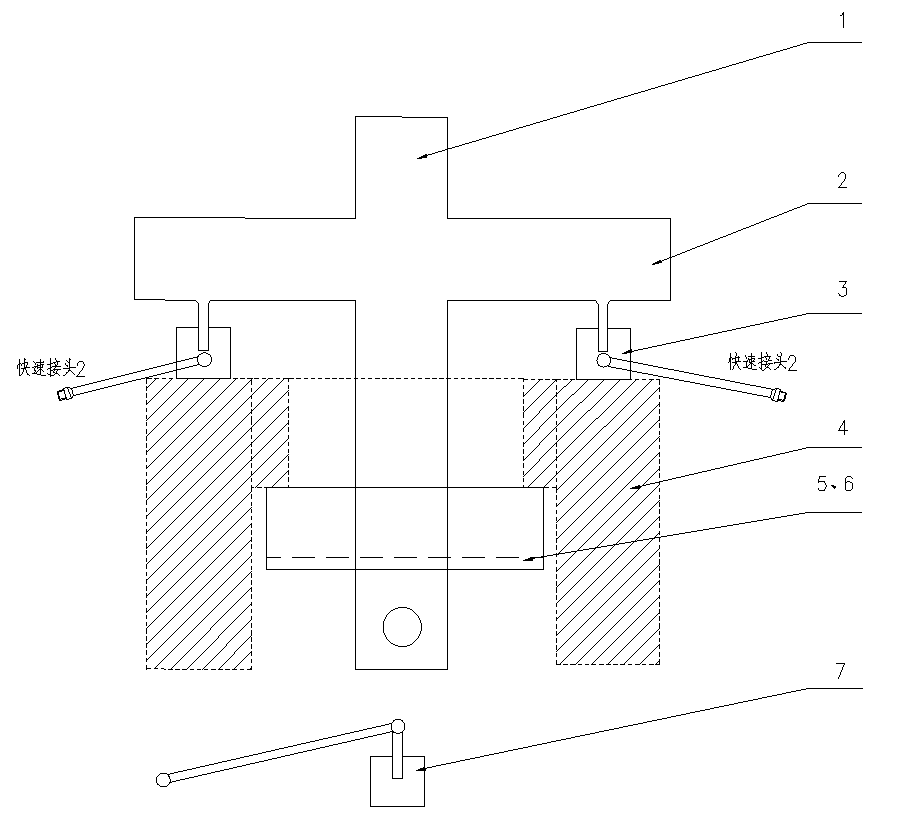
在检修中,创新思路,制作一种专用工具用来拆除导叶套筒轴承。专用工具由三部分装置组成:传递机构——由钢板1、2焊接组成的十字架结构。执行机构——由钢板5、6焊接组成的U型槽。动力装置——由部件3两个液压缸、部件7液压泵构成。组装好之后通过向两侧的液压千斤顶加压同时向上顶,由于两侧是水平的,而且液压千斤顶同时上升,所以下部的钢板刚好顶着导叶轴套往上移动,直至导叶轴套完全脱离轴承座。

▲ 导叶套筒轴承拆除专用工具
如图为导叶套筒轴承拆除专用工具示意图:
1——竖直放置的钢板1
2——上部插入的钢板2
3——液压缸(两个)
4——导叶套筒
5、6——下部的两块钢板3,4所焊接的U型槽(内侧开一个槽,可以使钢板1插入,M24的螺栓刚好可以穿过圆槽)
7——液压泵
创新效果
一般导叶套筒检修过程,用常规方法直接敲击轴套拆除,容易使轴套受力不均匀,造成轴套歪斜无法向前推进的卡死情况,16个套筒轴套至少需要5天,使用该液压工具只需1天即可完成工作,可每年为1台机组检修节省4天时间,增发电量288万千瓦时,增加利润29.92万元。同时也大大降低了人员和设备检修的安全风险,减少机组退出备用时间,确保了系统的稳定性。
应用推广
该专用工具不仅适用于铜轴套拔除,也适用于尼龙轴套拔除,充分解决了导叶套筒轴套拔除的难题,在同类水轮发电机组的日常维护检修中皆可适用,具有较强的实用性和推广性。
创新创效
我们very认真!
更多精彩内容持续更新中!
敬请期待~


编辑 | 赵一洁
审核 | 王小娟
推荐阅读
▼
(点击图片即可获取全文)
更多内容,敬请期待


