
文/王宏军,祁剑,陈胜来·中车大同电力机车有限公司
FXD1 型机车底架结构中,辅助变压器柜安装座、牵引变流柜安装座、制动柜安装座、冷却塔安装座、列供安装座等梁体的组焊质量,直接影响到柜体的安装质量及稳定性。各梁体均属于细长形结构且呈非封闭截面,抗弯曲刚性较小,加之三条直通的长焊缝都偏于梁体一侧的上方,对于结构中性轴的布置极不对称,因此,梁体焊接后在水平及垂直方向均产生了较大的弯曲变形。本文就是针对这种细长形结构梁体的焊接与矫正提出了解决方案。辅助变压器柜安装座与其他安装座虽然在结构上略有不同,但设计要求及焊接工艺均相同,因此本文主要以辅助变压器柜安装座为例进行组焊与矫正工艺分析。
梁体结构及技术要求
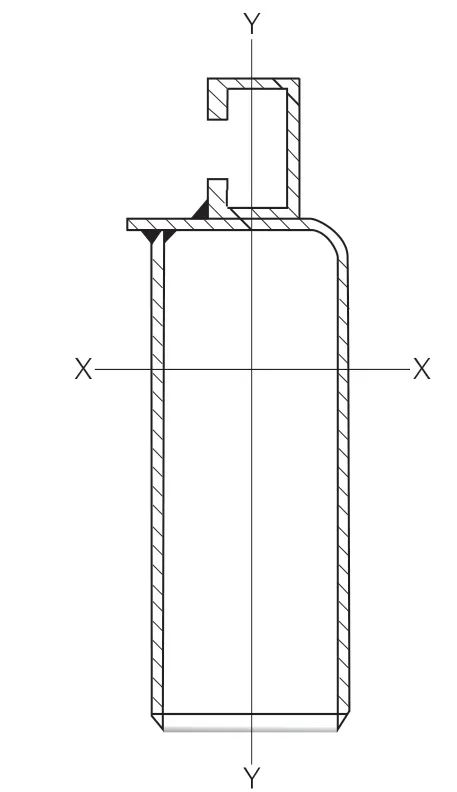
辅助变压器柜安装座结构示意图如图1 所示,是由Ⅲ型安装轨、小筋板、弯板和筋板组成,其中小筋板、弯板和筋板的材质为Q460ME,厚度为4mm。技术要求为:梁体焊后调平、调直,安装轨平面度公差为±1.5mm,直线度公差为±1.0mm。

图1 辅助变压器柜安装座结构示意图
梁体焊接变形分析
为了减小焊接后构件的弯曲变形,在结构设计时应力求使焊缝位置对称于焊接构件的中性轴或者接近于中性轴,这样就有可能使中性轴两侧焊缝产生的弯曲变形完全抵消或部分抵消,从而减小构件弯曲变形。辅助变压器柜安装座的焊缝集中在x-x 轴的上方和y-y 轴的一侧,x-x 轴的下方和y-y轴的另一侧无焊缝,如图2 所示,因此弯板与筋板三条直通的长焊缝a2和(3HY、a2)以及弯板与Ⅲ型安装轨角焊缝z3.5 和a3 的纵向及横向收缩,使梁体向x-x轴方向产生弯曲,即梁体在垂直方向产生了下挠;上述焊缝的收缩又使梁体向y-y 轴方向产生了弯曲,即梁体在水平方向产生了旁弯,并且两种弯曲变形的程度均较为严重,如图3 所示。

图2 焊缝的位置
减小梁体焊接变形的措施
弹性反变形法
梁体弹性反变形时的方向要与梁体焊接后的变形方向相反,弹性反变形装置如图4 所示,矫正力的大小应以垂直压紧装置或水平顶紧装置的伸出长度表示。根据梁体的变形程度,记录每次顶杆的伸出长度,直至确定出最佳矫正效果的伸出长度。

图4 弹性反变形装置
合理选择焊接顺序和焊接规范
焊接方向应当从最受限制的区域朝较少受限制的区域进行焊接。由于反变形过程中,梁体的中部在水平和垂直方向都施加了一定的作用力,中间位置受到了更多的限制,所以应从梁体中部向两侧进行焊接,如图5 所示。尽量避免(3HY、a2)焊缝一次性焊接填充,控制焊接热输入量,减少梁体向水平或垂直方向变形的趋势。可采用能够使热量分散的分段退焊法进行焊接,并且在保证焊缝熔深的情况下,尽量避免焊接参数过大,即采用较细的焊丝和较小的焊接电流进行焊接,以免造成热输入加大,减少梁体的变形程度。

图5 弯板与筋板a2、(3HY、a2)焊缝的焊接方向
焊接小筋板时,不同的焊接方向会引起不同的变形情况和内应力状态,所以尽可能使焊缝收缩引起的变形与梁体焊后变形方向相反。以弯板与小筋板a2 焊缝为例进行说明,如图6 所示,焊接a2 焊缝时都采用同一方向“直通”焊接,即由梁体底部向R 圆弧方向进行焊接。由于每道焊缝都是始焊端的横向收缩略大于终焊端,导致a2 焊缝的横向收缩引起梁体产生了上拱变形,恰好与梁体焊后产生的下挠变形方向相反,减小了梁体的变形程度。

图6 弯板与小筋板a2 焊缝的焊接方向
由于Ⅲ型安装轨与弯板的角焊缝在x-x轴的上方,焊缝收缩会引起梁体产生下挠,因此Ⅲ型安装轨的焊接可选择在辅助变压器柜安装座安装完毕后进行焊接,此时辅助变压器柜安装座与底架上盖板焊接后,梁体由开放式结构变为了抗变形能力较强的箱式结构,增加了梁体的刚性及抗变形能力,此时进行Ⅲ型安装轨的焊接不会引起梁体变形。
采取上述措施后,梁体变形得到了一定控制,减少了后续火焰矫正的工作量。
火焰矫正工艺
火焰矫正的效果关键在于加热位置、加热形状和加热先后顺序的选择。因此,火焰矫正前一定要全面分析构件的结构和构件焊后变形的大小和方向,以制定出合理的矫正方案。
梁体加热位置的选择
矫正梁体的旁弯时,三角形顶点在梁体弯曲凹面的一侧,三角形底边在梁体弯曲凸面的一侧,这个加热形状矫正力较强,矫正旁弯的效果也较为明显,如图7 所示。但在实际操作中,不能按图示位置进行加热,其原因是:梁体焊接后已经出现下挠变形现象,若按图示位置进行火焰矫正,则热量全部集中在梁体上表面,加热后梁体产生的下挠会变得更加严重,这对后续矫正梁体的挠曲变形是非常不利的。

图7 三角形加热位置
矫正梁体旁弯时,应在弯板的立面(凸面)进行线状加热。如图8 所示,若火焰沿小筋板的焊缝向上线状加热至弯板的R 处,冷却后由于加热线的横向收缩,使梁体凸面一侧的长度“变短”,于是梁体被“拉直”。此加热方法虽然不能使梁体的直线度达到技术要求,但减少了后续矫正旁弯时在x-x 轴上方的加热面积,减小了梁体的下挠变形。

图8 矫正梁体旁弯的加热位置①
如图9 所示,若在弯板立面R 处进行线状加热,此加热位置虽然也会引起梁体下挠变形,但相对于上述三角形加热法,梁体产生下挠要小得多,而且这种线状加热的效果也非常明显,故该加热方法被确定为矫正旁弯的最佳方案。由于前期对弯板的立面进行了线状加热,所以此次加热时,用较少的加热面积就能使梁体的旁弯得以矫正,加热时按照图示的顺序,从中间向两侧进行线状加热。

图9 矫正梁体旁弯的加热位置②
矫正梁体下挠时,三角形加热面积要选择在梁体“开口”的长边位置,如图10 所示。由于三角形加热面积的收缩作用,使构件“整体”产生了上拱变形,从而达到了矫正的目的。如果在“开口”的短边位置,即如图10 所示的I 位置进行三角形加热,构件只能在“局部”产生变形,而构件“整体”并未发生变形,达不到矫正下挠的目的。

图10 矫正梁体下挠度的加热位置
梁体矫正顺序的选择
由于梁体焊接后在水平方向和垂直方向都产生了变形,因此梁体的矫正顺序也很关键。先矫正旁弯还是先矫正下挠,必须通过全面的分析和对比选择一种矫正效率高、矫正效果明显的方案进行。
方案1:先矫正下挠再矫正旁弯。如果先矫正梁体的下挠,就要在如图10 所示的位置进行三角形加热,加热后梁体产生上拱变形,于是梁体的挠曲变形得到了矫正。然后进行旁弯矫正,从如图11 所示的加热线与x-x 轴和y-y 轴的位置关系可以看出,线状加热后梁体不但向y-y 轴方向产生变形,同时也会朝x-x轴方向产生变形,在旁弯得以矫正的同时,梁体又重复产生了下挠变形,所以后序还需对梁体的下挠进行二次矫正。

图11 加热线与x-x轴、y-y 轴的位置关系
方案2:先矫正旁弯再矫正下挠。如果先矫正梁体的旁弯,就要在如图11所示的位置进行线状加热,加热后梁体向y-y 轴方向产生变形,于是梁体的旁弯得到矫正,此时梁体同样会向x-x 轴方向产生变形,即梁体也产生了下挠变形。在随后矫正下挠变形时,梁体的旁弯是否还会发生变化,这是此次矫正过程中的关键点。矫正梁体下挠变形时,由于采用了收缩力较强的三角形加热法,并且梁体两侧三角形加热必须同时、同步、同规范进行,或者按照如图12 所示的加热位置及加热顺序进行加热,在下挠变形得到矫正的同时,梁体的旁弯不会再次发生。此方法还可以避免由于梁体左、右两侧的收缩量不同导致梁体产生扭曲变形现象的发生,这样就可以节省一次加热的过程。所以先矫正旁弯,使梁体的直线度达到±1.0mm 的技术要求后,再矫正下挠是比较合理的。

图12 矫正下挠时的加热顺序
上述矫正是在自由状态下完成的,为了提高矫正效率也可增加外力进行矫正。但需要注意的是,施加的外力不能过大,否则在加热过程中会出现梁体失稳状态,加热处会产生皱褶或过矫现象。同时还需注意的是,矫正下挠时一定要加热透,才能达到较好的矫正效果。
这里需要特别指出的是,由于牵引变流柜安装座的焊接变形比辅助变压器柜安装座的焊接变形要大得多,因此其矫正工艺有所不同。如图13 所示,牵引变流柜安装座左右两端与中间位置无论是结构还是焊缝的位置都是不同的。由于梁体的结构及焊缝在Ⅰ、Ⅱ位置出现了不连续性,导致梁体焊接后产生的变形在Ⅰ、Ⅱ位置表现得较为明显。A-A 截面与辅助变压器柜安装座的截面相同,B-B 截面的焊缝左右对称布置,所以梁体焊接后此位置在水平方向不会产生变形。如果按照辅助变压器柜安装座的位置进行弹性反变形,梁体中间位置由于受到外力作用,会在水平方向产生变形,所以两种梁体弹性反变形的位置是不同的。梁体变形主要发生在Ⅰ、Ⅱ位置,尤其是Ⅰ、Ⅱ位置会在梁体焊接后产生急弯,所以反变形时的施力点必须布置在变形最大处,即Ⅰ、Ⅱ位置处,才能取得较好的矫正效果。总之牵引变流柜安装座可以在自由状态下进行火焰矫正,而牵引变流柜安装座无论是矫正旁弯还是矫正下挠变形都必须在Ⅰ、Ⅱ位置施加外力,才能达到矫正的目的。

图13 牵引变流柜安装座结构图
结 束 语
本文主要针对细长形梁体焊接后出现的变形进行了分析,并制定出反变形工艺→刚性固定法→减少焊接热输入量→焊接顺序法→火焰矫正等合理的焊接及矫正工艺。实践表明,制定的工艺方案行之有效,不仅减少了火焰矫正的工作量,还为后续柜体的安装提供了质量保证。
作者简介
王宏军,高级技师,中车资深技能专家,主要研究方向是电力机车车体钢结构组焊工艺技术。

王宏军
——摘自《钣金与制作》2023年第4期
近期会议:钣金折弯及后处理会议(2023年10月25-27日,苏州)【点击了解】
杂志领取:读者大回馈|《钣金与制作》纸刊免费放送,快来领取吧【点击领取】
业务联系:冯忠18515450345(微信同号),张旭栋13366359271(微信同号)
