
工作这么多年,一直与传动机械打交道。传动与轴承之间,相辅相成,工作根据工况不同设计了不同的轴承端盖结构。这里将过往参与设计的轴承端盖结构进行总结,供感兴趣的外行和新入行的机械设计参考。机械设计同行也可以借鉴应用到自己的工程项目里。
轴承端盖主要分为轴承通盖和轴承闷盖。这两种轴承端盖结构有所区别,所以密封方式也有所区别。

轴承通盖(你会发现盖子上中间有通孔),
通常作为旋转轴输入输出端盖

轴承闷盖(你会发现盖子中间没有孔),通常作为减速箱中间轴轴承端盖,也会作为诸如单输出电机轴非输出端轴承端盖
轴承闷盖的密封结构通常有如下几种:O型密封圈、密封胶、密封端盖。

轴承闷盖径向O型圈密封

轴承闷盖端面O型圈静密封

密封端盖(NBR油封盒)

轴承端盖密封胶
与轴承闷盖不同的是,轴承通盖的工况通常更为复杂。轴承闷盖通常是静密封工况,运动部件不直接与其接触。轴承通盖对应的通常是动密封,工况,旋转轴需要通过端盖,与此同时很多时候面对多灰尘潮湿盐雾恶劣工况时需要做到防尘防水。
在很多恶劣工况下,往往一种密封结构形式解决不了结构密封问题,需要多种密封结构形式相结合,层层保护。这里面的密封就大有学问了。
轴承通盖的密封结构形式通常有如下几种:油封密封、迷宫密封、密封圈、密封胶密封等等。
常规工况下,通常需要用两种密封结构,如传动轴单油封密封结构+端盖密封胶密封。

单油封轴承通盖
这种油封结构通常分为单唇油封,带副唇油封。上图就是典型的单唇油封。相比于单唇油封,带副唇油封的密封效果更好,在防水防油的基础上防尘。

带副唇油封
在很多低速重载的场合典型的如卷扬机卷筒轴,轴承端盖通常会用迷宫油封+密封胶结合的结构。如下图所示。

迷宫油封+密封胶密封结构
在过去,轴承通盖的密封圈结构经常会采用宓封圈结构,典型的如J型密封圈,应用于空压机领域。当然现在这种密封圈结构也被应用在航空航天领域的传动机构中。

J型密封圈结构
常见的骨架油封在使用一定时间后,会以用户反馈油封处漏油、渗油。
骨架油封的密封能力决定于油膜的厚度,当油膜的厚度过大时油封的密封不严当油膜的厚度过小时油封又会与轴过度摩擦引起油封唇口和轴颈的磨损。下面几张图是典型的轴油封段磨损图片。

齿轮轴油封段磨损

齿轮轴油封段磨损
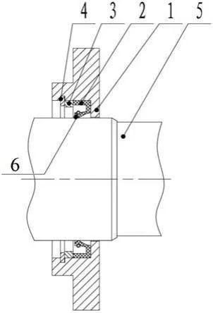
针对这种工况下,密封结构通常采用组合密封结构,典型的如轴承隔离器(双环密
封),如下图所示。这种密封结构的工作原理是静环1通过0形圈6与轴承腔体联结并保持静止0形圈6密封住轴承端盖的泄漏通道;动环2通过0形圈3与轴抱紧并与轴一起旋转。一个0形圈4和二个0形圈5一起组成V形的梳齿结构,其中O形圈4与静环1一起保持静止而O形圈5与动环2一起旋转;集液槽7收集轴承箱体内甩上来的润滑油,并通过回流孔8返回轴承箱。

轴承隔离器(双环密封)
更多时候,组合密封结构会采用迷宫油封+油封,广泛应用于工程机械领域。如下图所示。

迷宫密封+油封结构
更复杂恶劣工况,如矿用机械、水泥机械、卸船机械等等。这些工况下,旋转轴随时地会接触到粉层、矿渣、石子等等。常规密封结构很容易由于密封件损坏失效。这种工况下,通常会采用三四道组合密封结构,典型的结构如下图所示。

防尘密封+骨架油封+骨架水封+迷宫密封
(组合密封结构)
(本平台图文来自网络转载,转载目的在于传递更多信息。我们尊重原创,版权归原作者所有,若未能找到作者和出处望谅解,谢谢。)
