招投标信息
让招投标采购流程“门儿清”的6张图!
2025-11-02 19:55
让招投标采购流程“门儿清”的6张图!

让招投标采购流程“门儿清”的6张图!

让招投标采购流程“门儿清”的6张图!

让招投标采购流程“门儿清”的6张图!

让招投标采购流程“门儿清”的6张图!

让招投标采购流程“门儿清”的6张图!

让招投标采购流程“门儿清”的6张图!

招投标“宝藏”图谱,收藏起来!
1⃣️公开招标操作流程图
2⃣️邀请招标操作流程图
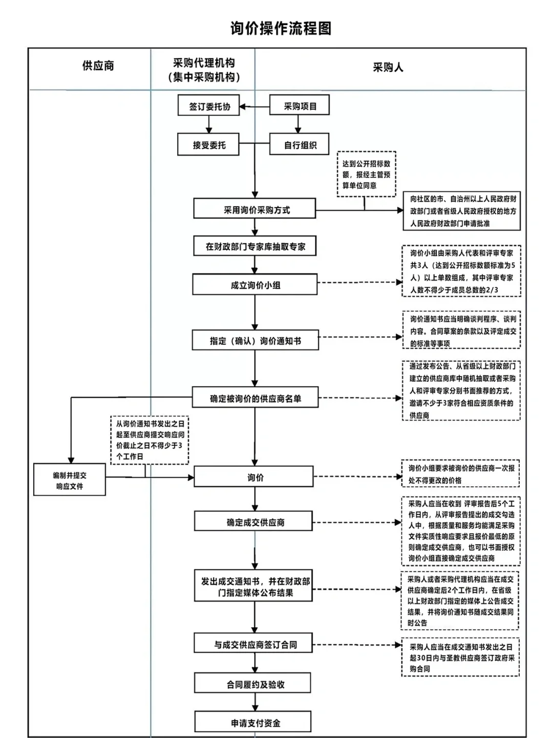
3⃣️询价操作流程图
4⃣️单一来源操作流程图
5⃣️竞争性谈判操作流程图
6⃣️竞争性磋商操作流程图
#采购 #供应链 #采购流程 #采购管理 #流程图 #招投标 #招投标流程 #不懂就问有问必答
发表评论
0评