招投标信息
采购招投标流程
2025-11-01 18:18
采购招投标流程

采购招投标流程

采购招投标流程

采购招投标流程

采购招投标流程

采购招投标流程

采购招投标流程

#不懂就问有问必答
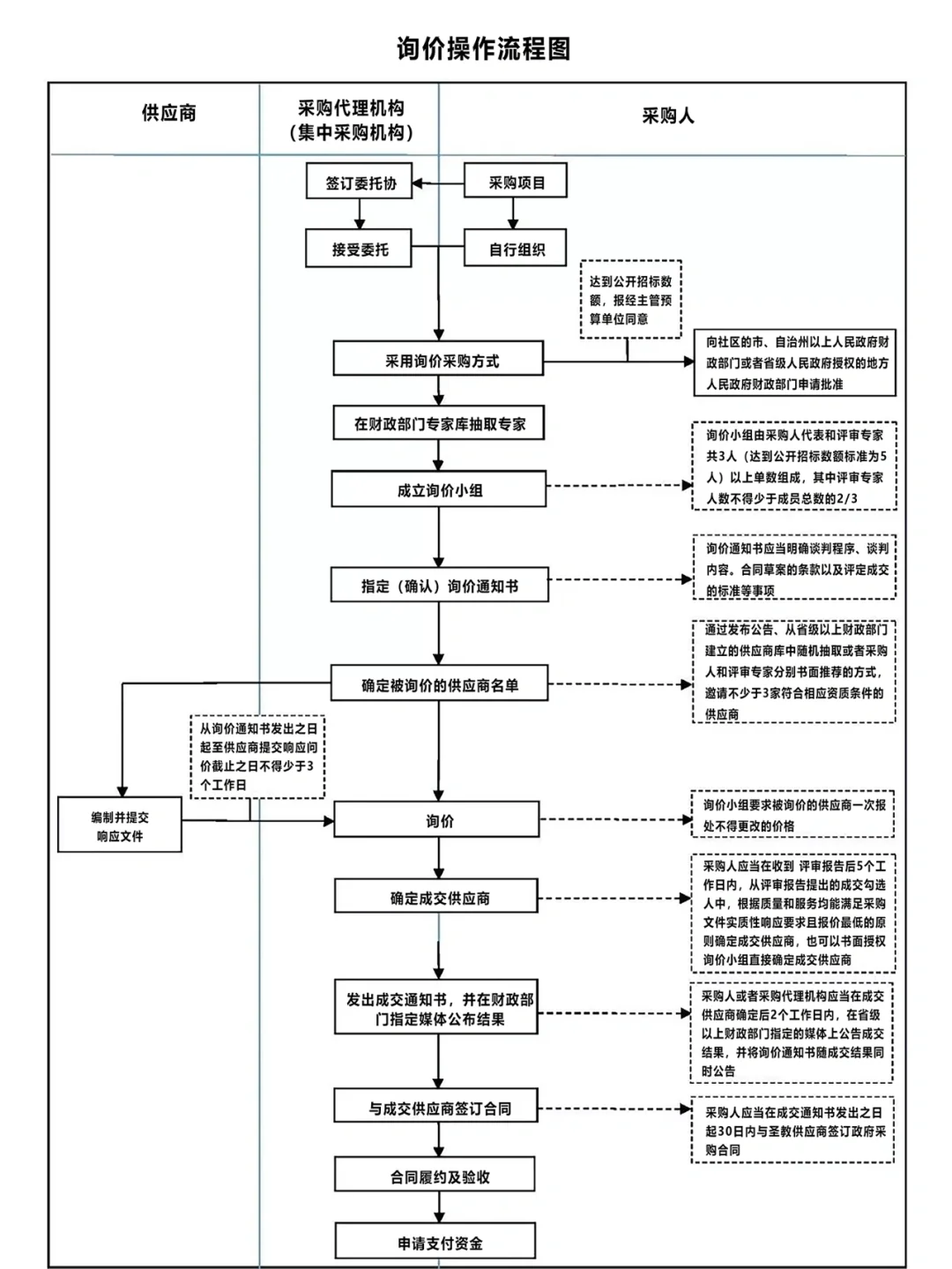
这6张图,让招投标采购流程“门儿清”!
招投标“宝藏”图谱,收藏起来!
#招投标 #采购 #流程图 @小红书创作学院 #采购 #采购部 #采购流程 #采购职业
发表评论
0评