


【鞋类百科】栏目开课啦
我们在买鞋的过程中可能会发现两双外观几乎一样的鞋,价格却相差很多,这是为什么呢?
很大原因是两双鞋采用的材料和工艺不同,今天就跟大家来聊一聊什么是注塑鞋。
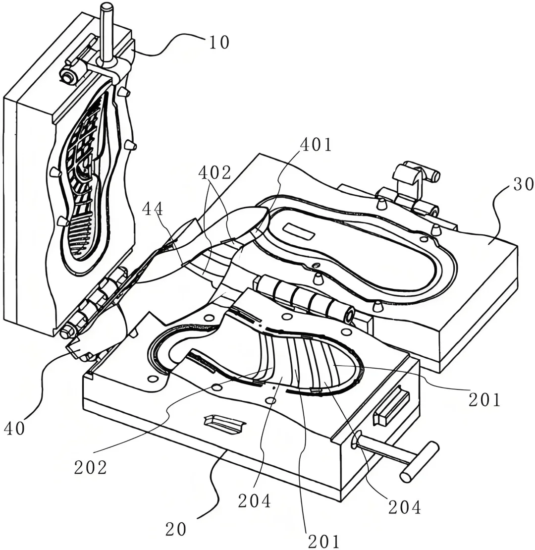
注塑鞋是一种采用注塑工艺制作的鞋类产品,通常由注塑机将塑料材料如PVC、TPR或PU(聚氨脂)注入模具中,在一定的温度和压力下形成鞋底。
优点:
成本低廉: 注塑鞋的生产过程相对简单,因此成本通常比较低,这使得它们成为了经济实惠的选择。
生产效率高: 注塑鞋的生产速度通常比较快,因为它们可以通过自动化的注塑机器大规模生产,从而提高了生产效率。
不易开胶:注塑鞋的鞋底和鞋面是一体成型的,整体结构更强,不易开胶。
轻便:注塑鞋通常由轻质材料制成,因此重量较轻,穿着舒适,适合长时间穿戴。
缺点:
设计限制:注塑鞋制作工艺相对简单,没有复杂的纹理或装饰。
耐久性较差: 材质以软性塑胶为主,相对橡胶底而言缺少更不具备耐磨性,天气较冷的北方冬天不太适合注塑鞋,注塑鞋底容易出现断底现象。
容易臭脚:注塑鞋透气性较差,容易滋生细菌,产生异味。
脚感度较差:鞋子注底过程中,鞋帮面料容易在鞋底内部形成凹凸不平的块状,影响舒适度。
如何识别注塑鞋?
看接口:注塑鞋没有明显的缝线。
看鞋底:注塑鞋鞋底一般会有注塑孔留下的两个圆点。
看鞋头和后跟:注塑鞋的鞋头和后跟一般会有模具留下的中线。
看贴片:有一些注塑鞋,为了掩盖注塑孔和中线,会在鞋底、鞋头和后跟粘贴贴片。
今天的小课堂就到这里了,关注我,带你了解更多鞋类知识
我们在买鞋的过程中可能会发现两双外观几乎一样的鞋,价格却相差很多,这是为什么呢?
很大原因是两双鞋采用的材料和工艺不同,今天就跟大家来聊一聊什么是注塑鞋。
注塑鞋是一种采用注塑工艺制作的鞋类产品,通常由注塑机将塑料材料如PVC、TPR或PU(聚氨脂)注入模具中,在一定的温度和压力下形成鞋底。
优点:
成本低廉: 注塑鞋的生产过程相对简单,因此成本通常比较低,这使得它们成为了经济实惠的选择。
生产效率高: 注塑鞋的生产速度通常比较快,因为它们可以通过自动化的注塑机器大规模生产,从而提高了生产效率。
不易开胶:注塑鞋的鞋底和鞋面是一体成型的,整体结构更强,不易开胶。
轻便:注塑鞋通常由轻质材料制成,因此重量较轻,穿着舒适,适合长时间穿戴。
缺点:
设计限制:注塑鞋制作工艺相对简单,没有复杂的纹理或装饰。
耐久性较差: 材质以软性塑胶为主,相对橡胶底而言缺少更不具备耐磨性,天气较冷的北方冬天不太适合注塑鞋,注塑鞋底容易出现断底现象。
容易臭脚:注塑鞋透气性较差,容易滋生细菌,产生异味。
脚感度较差:鞋子注底过程中,鞋帮面料容易在鞋底内部形成凹凸不平的块状,影响舒适度。
如何识别注塑鞋?
看接口:注塑鞋没有明显的缝线。
看鞋底:注塑鞋鞋底一般会有注塑孔留下的两个圆点。
看鞋头和后跟:注塑鞋的鞋头和后跟一般会有模具留下的中线。
看贴片:有一些注塑鞋,为了掩盖注塑孔和中线,会在鞋底、鞋头和后跟粘贴贴片。
今天的小课堂就到这里了,关注我,带你了解更多鞋类知识