
本公众号之前分享过一篇折叠浴盆发明专利无效的文章(传送门: 家居用品篇——万万没想到,折叠浴盆发明专利2024年无效决定才正式生效!),既然折叠的结构已经成为现有技术,那大家就都可以随便使用而不会有侵权风险。
然而,近两年,在折叠浴盆上增加温度显示装置,成为可以实现差异化竞争,获得更好销量的一种有效设计。这种功能性的增加,不仅比较实用,而且可以提升产品的美观度,广受消费者欢迎。
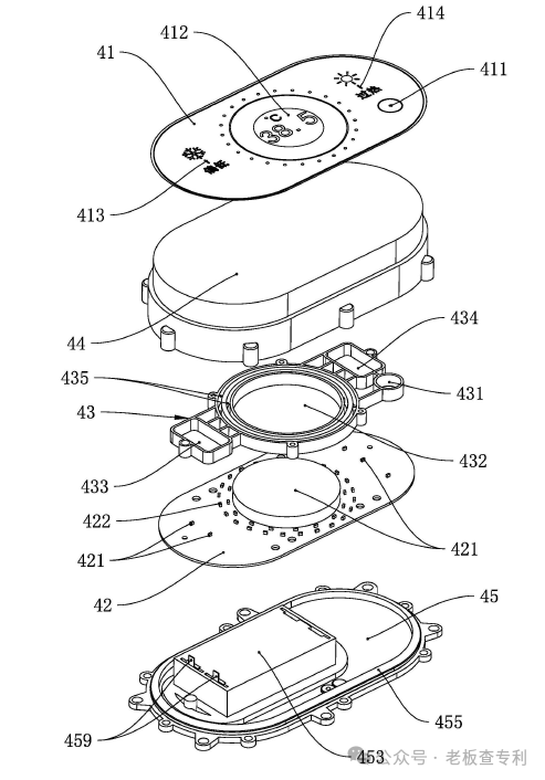
在温度显示的技术方案上,早已有很多公司进行了专利布局,以下是已经申请并获得授权的实用新型专利:
授权日期:2023年3月21日
一种儿童浴盆的无线测温装置

2.授权日期:2023年3月15日
带温度显示的幼儿洗澡盆


3.授权日期:2023年3月15日
一种具有无线测温功能的儿童浴盆


4.授权日期:2023年1月3日
一种感温浴盆


5.授权日期:2022年8月16日
一种具有密封温度计结构的儿童浴盆

以上就是部分已经授权的实用新型专利,其中部分专利刚刚授权尚未有申请评价报告,有些已经申请了评价报告且其中的一些权利要求是稳定,因此,老板们设计产品时和开模具前一定要做好风险防控,避免侵权而带来不必要的损失!
另外,还有一篇同日申请的发明专利,其公布日期为2023年11月17日,如果能授权,也要2-3年后了,小编会持续监控该专利情况,敬请关注!
该专利信息如下:
一种儿童浴盆的无线测温装置及无线测温

有感兴趣的专利问题或专利素材,欢迎私信。
关注我们,总有意想不到的收获!
(查专利,请私信……)
| 长按二维码关注,点赞,转发!
|
