必收藏丨搞懂XRD基本原理及仪器构造,这一篇就够!
2024-01-28 00:42

XRD衍射仪的适用性很广,通常用于测量粉末、单晶或多晶体等块体材料,并拥有检测快速、操作简单、数据处理方便等优点,是一个标标准准的“良心产品”。在X射线衍射仪的世界里, X射线发生系统(产生X射线)是“太阳”,测角及探测系统(测量2θ和获得衍射信息)是其“眼睛”,记录和数据处理系统是其“大脑”,三者协同工作,输出衍射图谱。在三者中测角仪是核心部件,其制作较为复杂,直接影响实验数据的精度,毕竟眼睛是心灵的窗户嘛!下面是X射线衍射仪和测角仪的结构简图。X射线多晶衍射仪的X射线发生器由X射线管、高压发生器、管压和管流稳定电路以及各种保护电路等部分组成。现代衍射用的X射线都属于热电子二极管,有密封式和转靶式两种。前者最大功率在2.5kW以内,视靶材料的不同而异;后者是为获得高强度X射线而设计,一般功率在10kW以上,目前常用的有9kW、12kW和18kW几种。给阴极加上一定的电流被加热时,便能放出热辐射电子。在数万伏特高压电场的作用下,这些电子被加速并轰击阳极。阳极又称为靶,是使电子突然减速和发射X射线的地方。常用的阳极材料有Cr、Fe、Co、Ni、Cu、Mo、Ag、w等,现在最常用的是Cu靶。常用靶材的标识x射线的波长和工作电压见下表。 | | |
| | 几乎全部标定,采用单色滤波,测试含Cu试样时有高的荧光背底;如采用Kβ滤波,不适用于Fe系试样的测定。 |
| | |
| | |
| | 包括Fe试样的应用测定,利用PSPC-MDG的微区测定 |
| | 奥氏体相的定量分析,金属箔的透射方法测量(小角散射等) |
| | |
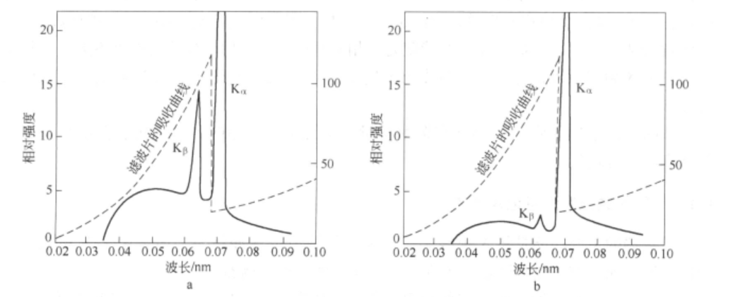
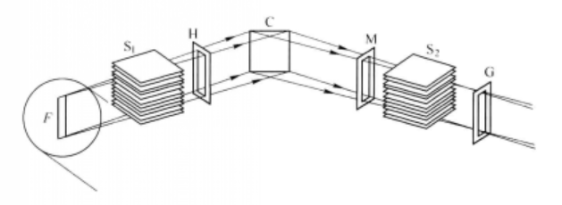
测角仪是衍射仪中最精密的机械部件,是X射线衍射仪测量中最核心的部分.用来精确测量衍射角,其原理见下图。试样台位于测角仪中心,试样台的中心轴ON与测角仪的中心轴(垂直图面)0垂直。试样台既可以绕测角仪中心轴转动,又可以绕自身的中心轴转动。在试样台上装好试样后,要求试样表面严格地与测角仪中心轴重合。入射线从X射线管焦点F发出,经入射光阑系统S1、H投射到试样表面产生衍射,衍射线经接收光阑系统M、S2、G进入计数器D。射线管焦点F和接收光阑G位于同一圆周上,把这个圆周称为测角仪(或衍射仪)图,把该圆所在的平面称为测角仪平面。试样台和计数器分别固定在两个同轴的圆盘上,由两个步进马达驱动。在衍射测量时,试样绕测角仪中心轴转动,不断地改变入射线与试样表面的夹角θ,计数器沿测角仪圆运动,接收各衍射角2θ所对应的衍射强度。根据需要,θ角和2θ角可以单独驱动,也可以自动匹配,使θ和2θ角以1:2的角速度联合驱动。测角仪的扫描范同:正向可达165°;负向可达一100°(受设计限制,不同厂家的仪器测角范围稍有不同,使用时必须参考使用手册),角测量的绝对精度可达0.01°,重度精度可达0.001°测角仪光路上配有一套狭缝系统。如果只采用通常的狭缝光阑便无法控制沿狭缝长边方向的发散度,从而会造成衍射环宽度的不均匀性。为了排除这种现象,在测角仪光路中采用由狭缝光阑和梭拉(Soller)光阑组成的联合光阑系统,见下图。Soller光阑S1 S2:梭拉光阑由一组互相平行、间隔很密的重金属(Ta或Mo)薄片组成,用来限制X射线在测角仪轴向的发散,使X射线束可以近似地看做仅在扫描圆平面上发散的发散束。分别设在射线源与样品和样品与检测器之间。安装时要使薄片与测角仪平面平行,这样可将垂直测角仪平面方向的x射线发散度控制在2°左右。衍射仪的Soller狭缝的全发射角(2×薄片间距/薄片长度)为3.5°左右,因此,轴向发散引起的衍射角测量误差较小,峰形畸变也较小,可以获得较佳的峰形,有较佳的衍射角分辨率。X射线管发肘出来的光是多种波长混合的复杂光源,主要包括连续续谱、Kα和Kβ特征谱。当这些波长的射线都参与衍射时,会得到非常复杂的衍射信息。另外当一种波长的x射线照射到样品上时,有可能激发样品本身的特征射线(x射线荧光)。为了获得单一波长的衍射信息,通常采用插入滤波片或者加装单色器的方法来去除始Kβ辐射和荧光辐射。滤波片和单色器一般设置在样品与接收狭缝之间。在x射线衍射实验中,可以利用物质对x肘线吸收过程存在吸收限的特性来合理地选用滤波片材料和辐射波长,以便获得优质的衍射花样。多晶体x射线衍射实验是利用K系标识x射线作辐射源的。但也许多情况下,不希望衍射花样中出现Kβ辐射所对应的衍射花样,因为它使衍射花样复杂化,妨碍对谱图的分析。解决这个问题的办法是在x射线源与试样之间加放滤波片将Kβ辐射吸收掉。对滤波片材料的选择就要利用K吸收限的特件。如果我们选择这样一种物质作滤波片,它的K吸收限刚好位于辐射源的Kα辐射和Kβ辐射之间,井注意要尽量靠近Kα辐射.这时滤波片对Kβ的吸收很强烈,而对Kα的吸收却很小。经过滤波后的x射线几乎只剩下单一的Kα辐射。X射线是由高速运动的电子流或其他高能辐射流(γ射线、中子流等)流与其他物质发生碰撞时骤然减速,且与该物质中的内层原子相互作用而产生的。不同的靶材,因为其原子序数不同,外层的电子排布也不一样,所以产生的特征X射线波长不同。使用波长较长的靶材的XRD所得的衍射图峰位沿2θ轴有规律拉伸;使用短波长靶材的XRD谱沿2θ轴有规律地被压缩。但需要注意的是,不管使用何种靶材的X射线管,从所得到的衍射谱中获得样品面间距d值是一致的,与靶材无关。X射线衍射作为一电磁波投射到晶体中时,会受到晶体中原子的散射,而散射波就像从原子中心发出,每个原子中心发出的散射波类似于源球面波。由于原子在晶体中是周期排列的,这些散射球波之间存在固定的相位关系,会导致在某些散射方向的球面波相互加强,而在某些方向上相互抵消,从而出现衍射现象。每种晶体内部的原子排列方式是唯一的,因此对应的衍射花样是唯一的,类似于人的指纹,因此可以进行物相分析。其中,衍射花样中衍射线的分布规律是由晶胞的大小、形状和位向决定。衍射线的强度是由原子的种类和它们在晶胞中的位置决定。布拉格方程是X射线在晶体中产生衍射需要满足的基本条件,其反映了衍射线方向和晶体结构之间的关系。其中,θ为入射角、d为晶面间距、n为衍射级数、λ为入射线波长,2θ为衍射角(a)凡是满足布拉格方程式的方向上的所有晶面上的所有原子衍射波位相完全相同,其振幅互相加强。这样,在2θ方向上面就会出现衍射线,而在其他地方互相抵消,X射线的强度减弱或者等于零(b)X射线的反射角不同于可见光的反射角,X射线的入射角与反射角的夹角永远是2θ。2. 黄继武,李周,多晶材料X射线衍射 实验原理、方法与应用,2012.